ԵՎՐԱՍԻԱԿԱՆ ՏՆՏԵՍԱԿԱՆ ՀԱՆՁՆԱԺՈՂՈՎ
ԿՈԼԵԳԻԱ
Ո Ր Ո Շ ՈՒ Մ
| 21 օգոստոսի 2018 թվականի |
թիվ 128 |
քաղ. Մոսկվա |
«ԵՎՐԱՍԻԱԿԱՆ ՏՆՏԵՍԱԿԱՆ ՄԻՈՒԹՅԱՆ ՄԱՔՍԱՅԻՆ ՏԱՐԱԾՔԻ ՍԱՀՄԱՆՆԵՐԻՑ ԴՈՒՐՍ ԱՊՐԱՆՔՆԵՐԻ ՓԱՍՏԱՑԻ ԱՐՏԱՀԱՆՄԱՆ ՀՍԿՈՂՈՒԹՅԱՆ ԵՎ ՀԱՍՏԱՏՄԱՆ ԳՈՐԾԸՆԹԱՑՈՒՄ ԵՎՐԱՍԻԱԿԱՆ ՏՆՏԵՍԱԿԱՆ ՄԻՈՒԹՅԱՆ ԱՆԴԱՄ ՊԵՏՈՒԹՅՈՒՆՆԵՐԻ ՄԱՔՍԱՅԻՆ ՄԱՐՄԻՆՆԵՐԻ ՄԻՋԵՎ ՏԵՂԵԿՈՒԹՅՈՒՆՆԵՐԻ ՓՈԽԱՆԱԿՄԱՆ ԱՊԱՀՈՎՈՒՄ» ԸՆԴՀԱՆՈՒՐ ԳՈՐԾԸՆԹԱՑԸ ԵՎՐԱՍԻԱԿԱՆ ՏՆՏԵՍԱԿԱՆ ՄԻՈՒԹՅԱՆ ԻՆՏԵԳՐՎԱԾ ՏԵՂԵԿԱՏՎԱԿԱՆ ՀԱՄԱԿԱՐԳԻ ՄԻՋՈՑՆԵՐՈՎ ԻՐԱԳՈՐԾԵԼԻՍ ՏԵՂԵԿԱՏՎԱԿԱՆ ՓՈԽԳՈՐԾԱԿՑՈՒԹՅՈՒՆԸ ԿԱՆՈՆԱԿԱՐԳՈՂ ՏԵԽՆՈԼՈԳԻԱԿԱՆ ՓԱՍՏԱԹՂԹԵՐԻ ՄԱՍԻՆ
«Եվրասիական տնտեսական միության շրջանակներում տեղեկատվական-հաղորդակցական տեխնոլոգիաների և տեղեկատվական փոխգործակցության մասին» արձանագրության («Եվրասիական տնտեսական միության մասին» 2014 թվականի մայիսի 29-ի պայմանագրի թիվ 3 հավելված) 30-րդ կետին համապատասխան և ղեկավարվելով Եվրասիական տնտեսական հանձնաժողովի կոլեգիայի 2014 թվականի նոյեմբերի 6-ի թիվ 200 որոշմամբ, Եվրասիական տնտեսական հանձնաժողովի կոլեգիայի 2017 թվականի նոյեմբերի 7-ի թիվ 134 որոշմամբ և Եվրասիական տնտեսական հանձնաժողովի կոլեգիայի 2018 թվականի փետրվարի 7-ի թիվ 25 որոշմամբ՝ Եվրասիական տնտեսական հանձնաժողովի կոլեգիան որոշեց.
1. Հաստատել կից ներկայացվող՝
«Եվրասիական տնտեսական միության մաքսային տարածքի սահմաններից դուրս ապրանքների փաստացի արտահանման հսկողության և հաստատման գործընթացում Եվրասիական տնտեսական միության անդամ պետությունների մաքսային մարմինների միջև տեղեկությունների փոխանակման ապահովում» ընդհանուր գործընթացը Եվրասիական տնտեսական միության ինտեգրված տեղեկատվական համակարգի միջոցներով իրագործելիս տեղեկատվական փոխգործակցության կանոնները.
«Եվրասիական տնտեսական միության մաքսային տարածքի սահմաններից դուրս ապրանքների փաստացի արտահանման հսկողության և հաստատման գործընթացում Եվրասիական տնտեսական միության անդամ պետությունների մաքսային մարմինների միջև տեղեկությունների փոխանակման ապահովում» ընդհանուր գործընթացը Եվրասիական տնտեսական միության ինտեգրված տեղեկատվական համակարգի միջոցներով իրագործելիս Եվրասիական տնտեսական միության անդամ պետությունների լիազորված մարմինների միջև տեղեկատվական փոխգործակցության կանոնակարգը.
«Եվրասիական տնտեսական միության մաքսային տարածքի սահմաններից դուրս ապրանքների փաստացի արտահանման հսկողության և հաստատման գործընթացում Եվրասիական տնտեսական միության անդամ պետությունների մաքսային մարմինների միջև տեղեկությունների փոխանակման ապահովում» ընդհանուր գործընթացը Եվրասիական տնտեսական միության ինտեգրված տեղեկատվական համակարգի միջոցներով իրագործելու համար օգտագործվող էլեկտրոնային փաստաթղթերի և տեղեկությունների ձևաչափերի ու կառուցվածքների նկարագրությունը.
«Եվրասիական տնտեսական միության մաքսային տարածքի սահմաններից դուրս ապրանքների փաստացի արտահանման հսկողության և հաստատման գործընթացում Եվրասիական տնտեսական միության անդամ պետությունների մաքսային մարմինների միջև տեղեկությունների փոխանակման ապահովում» ընդհանուր գործընթացին միանալու կարգը:
2. Սահմանել, որ «Եվրասիական տնտեսական միության մաքսային տարածքի սահմաններից դուրս ապրանքների փաստացի արտահանման հսկողության և հաստատման գործընթացում Եվրասիական տնտեսական միության անդամ պետությունների մաքսային մարմինների միջև տեղեկությունների փոխանակման ապահովում» ընդհանուր գործընթացին միանալու ընթացակարգի կատարման ժամկետը չի գերազանցում սույն որոշումն ուժի մեջ մտնելու օրվանից հետո 9 ամիսը:
3. Ուժը կորցրած ճանաչել՝
Եվրասիական տնտեսական հանձնաժողովի կոլեգիայի 2016 թվականի հունիսի 2-ի ««Եվրասիական տնտեսական միության մաքսային տարածքի սահմաններից դուրս ապրանքների փաստացի արտահանման հսկողության և հաստատման գործընթացում Եվրասիական տնտեսական միության անդամ պետությունների մաքսային մարմինների միջև տեղեկությունների փոխանակման ապահովում» ընդհանուր գործընթացն արտաքին և փոխադարձ առևտրի ինտեգրված տեղեկատվական համակարգի միջոցներով իրագործելիս տեղեկատվական փոխգործակցությունը կանոնակարգող տեխնոլոգիական փաստաթղթերի մասին» թիվ 55 որոշումը.
Մաքսային միության հանձնաժողովի և Եվրասիական տնտեսական հանձնաժողովի կոլեգիայի որոշումներում կատարվող փոփոխությունների 8-րդ կետը (Եվրասիական տնտեսական հանձնաժողովի կոլեգիայի 2018 թվականի հունվարի 16-ի թիվ 5 որոշման հավելված).
4. Սույն որոշումն ուժի մեջ է մտնում դրա պաշտոնական հրապարակման օրվանից 30 օրացուցային օրը լրանալուց հետո։
|
Եվրասիական տնտեսական հանձնաժողովի կոլեգիայի նախագահ` |
Տ. Սարգսյան |
|
ՀԱՍՏԱՏՎԱԾ ԵՆ Եվրասիական տնտեսական հանձնաժողովի կոլեգիայի 2018 թվականի օգոստոսի 21-ի թիվ 128 որոշմամբ |
ԿԱՆՈՆՆԵՐ
«Եվրասիական տնտեսական միության մաքսային տարածքի սահմաններից դուրս ապրանքների փաստացի արտահանման հսկողության և հաստատման ընթացքում Եվրասիական տնտեսական միության անդամ պետությունների մաքսային մարմինների միջև տեղեկությունների փոխանակման ապահովում» ընդհանուր գործընթացը Եվրասիական տնտեսական միության ինտեգրված տեղեկատվական համակարգի միջոցներով իրագործելիս տեղեկատվական փոխգործակցության
I. Ընդհանուր դրույթներ
1. Սույն կանոնները մշակվել են Եվրասիական տնտեսական միության (այսուհետ՝ Միություն) իրավունքի մաս կազմող հետևյալ ակտերին համապատասխան՝
«Եվրասիական տնտեսական միության մասին» 2014 թվականի մայիսի 29-ի պայմանագիր.
Եվրասիական տնտեսական հանձնաժողովի կոլեգիայի 2014 թվականի նոյեմբերի 6-ի «Ընդհանուր գործընթացներն արտաքին և փոխադարձ առևտրի ինտեգրված տեղեկատվական համակարգի միջոցներով իրագործելիս տեղեկատվական փոխգործակցությունը կանոնակարգող տեխնոլոգիական փաստաթղթերի մասին» թիվ 200 որոշում.
Եվրասիական տնտեսական հանձնաժողովի կոլեգիայի 2015 թվականի հունվարի 27-ի «Արտաքին և փոխադարձ առևտրի ինտեգրված տեղեկատվական համակարգում տվյալների էլեկտրոնային փոխանակման կանոնների հաստատման մասին» թիվ 5 որոշում.
Եվրասիական տնտեսական հանձնաժողովի կոլեգիայի 2015 թվականի ապրիլի 14-ի «Եվրասիական տնտեսական միության շրջանակներում ընդհանուր գործընթացների ցանկի և Եվրասիական տնտեսական հանձնաժողովի կոլեգիայի 2014 թվականի օգոստոսի 19-ի թիվ 132 որոշման մեջ փոփոխություն կատարելու մասին» թիվ 29 որոշում.
Եվրասիական տնտեսական հանձնաժողովի կոլեգիայի 2015 թվականի հունիսի 9-ի «Եվրասիական տնտեսական միության շրջանակներում ընդհանուր գործընթացների վերլուծության, օպտիմալացման, ներդաշնակեցման և նկարագրության մեթոդիկայի մասին» թիվ 63 որոշում.
Եվրասիական տնտեսական հանձնաժողովի կոլեգիայի 2015 թվականի սեպտեմբերի 28-ի «Եվրասիական տնտեսական միության անդամ պետությունների պետական իշխանության մարմինների՝ միմյանց միջև և Եվրասիական տնտեսական հանձնաժողովի հետ անդրսահմանային փոխգործակցության ժամանակ էլեկտրոնային փաստաթղթերի փոխանակման վերաբերյալ հիմնադրույթի հաստատման մասին» թիվ 125 որոշում.
Եվրասիական տնտեսական հանձնաժողովի կոլեգիայի 2017 թվականի նոյեմբերի 7-ի «Առանց «մաքսային տարանցում» մաքսային ընթացակարգով ձևակերպելու Եվրասիական տնտեսական միության անդամներ չհանդիսացող պետությունների տարածքներով և (կամ) ծովով փոխադրվող ապրանքների առանձին կատեգորիաների ժամանման և մեկնման ժամանակ մաքսային գործառնությունների իրականացման որոշ հարցերի մասին» թիվ 134 որոշում (Եվրասիական տնտեսական հանձնաժողովի կոլեգիայի 2019 թվականի հոկտեմբերի 14-ի «Եվրասիական տնտեսական հանձնաժողովի կոլեգիայի որոշ որոշումներում փոփոխություններ կատարելու մասին» թիվ 181 որոշման խմբագրությամբ).
Եվրասիական տնտեսական հանձնաժողովի կոլեգիայի 2018 թվականի փետրվարի 7-ի «Եվրասիական տնտեսական միության մաքսային տարածքից ապրանքների փաստացի արտահանումը Միության անդամ պետությունների մաքսային մարմինների կողմից հաստատելու կարգի մասին» թիվ 25 որոշում (Եվրասիական տնտեսական հանձնաժողովի կոլեգիայի 2019 թվականի հոկտեմբերի 14-ի «Եվրասիական տնտեսական հանձնաժողովի կոլեգիայի որոշ որոշումներում փոփոխություններ կատարելու մասին» թիվ 181 որոշման խմբագրությամբ)։
II. Կիրառման ոլորտը
2. Սույն կանոնները մշակվել են «Եվրասիական տնտեսական միության մաքսային տարածքի սահմաններից դուրս ապրանքների փաստացի արտահանման հսկողության և հաստատման ընթացքում Եվրասիական տնտեսական միության անդամ պետությունների մաքսային մարմինների միջև տեղեկությունների փոխանակման ապահովում» ընդհանուր գործընթացի (այսուհետ՝ ընդհանուր գործընթաց) մասնակիցների միջև տեղեկատվական փոխգործակցության կարգն ու պայմանները, այդ թվում՝ այդ ընդհանուր գործընթացի շրջանակներում կատարվող ընթացակարգերի նկարագրությունը սահմանելու նպատակով։
3. Սույն կանոններն ընդհանուր գործընթացի մասնակիցների կողմից կիրառվում են ընդհանուր գործընթացի շրջանակներում ընթացակարգերի և գործառնությունների կատարման կարգը վերահսկելիս, ինչպես նաև ընդհանուր գործընթացի իրագործումն ապահովող տեղեկատվական համակարգերի բաղադրիչները նախագծելիս, մշակելիս և լրամշակելիս։
III. Հիմնական հասկացությունները
4. Սույն կանոնների նպատակների համար օգտագործվում են հասկացություններ, որոնք նշանակում են հետևյալը՝
ավտորիզացում՝ ընդհանուր գործընթացի կոնկրետ մասնակցին որոշակի գործողությունների կատարման իրավունքների տրամադրում.
ժամանման վայր՝ Միության մաքսային սահմանով Միության ապրանքների տեղափոխման այն վայրը, որով ապրանքները ժամանում են Միության մաքսային տարածք.
մեկնման վայր՝ Միության մաքսային սահմանով ապրանքների տեղափոխման այն վայրը, որով ապրանքները մեկնում են Միության մաքսային տարածքից.
ընդհանուր գործընթացի տեղեկատվական օբյեկտի վիճակ՝ հատկանիշ, որով բնորոշվում է տեղեկատվական օբյեկտը դրա կենսական պարբերաշրջանի որոշակի փուլում, և որը փոփոխվում է ընդհանուր գործընթացի գործառնություններն իրականացնելիս.
լիազորված մարմին՝ Միության անդամ պետության մաքսային մարմին, որն այդ պետության օրենսդրությանը համապատասխան լիազորված է սույն ընդհանուր գործընթացի շրջանակներում մաքսային գործառնություններ կատարելիս իրականացնել միջպետական տեղեկատվական փոխգործակցություն:
Սույն կանոններում օգտագործվող՝ «ընդհանուր գործընթացի ընթացակարգերի խումբ», «ընդհանուր գործընթացի տեղեկատվական օբյեկտ», «կատարող», «ընդհանուր գործընթացի գործառնություն», «ընդհանուր գործընթացի ընթացակարգ» և «ընդհանուր գործընթացի մասնակից» հասկացությունները կիրառվում են Եվրասիական տնտեսական հանձնաժողովի կոլեգիայի 2015 թվականի հունիսի 9-ի թիվ 63 որոշմամբ հաստատված՝ Եվրասիական տնտեսական միության շրջանակներում ընդհանուր գործընթացների վերլուծության, օպտիմալացման, ներդաշնակեցման և նկարագրության մեթոդիկայով սահմանված իմաստներով։
IV. Ընդհանուր գործընթացի մասին հիմնական տեղեկությունները
5. Ընդհանուր գործընթացի լրիվ անվանումը՝ «Եվրասիական տնտեսական միության մաքսային տարածքի սահմաններից դուրս ապրանքների փաստացի արտահանման հսկողության և հաստատման ընթացքում Եվրասիական տնտեսական միության անդամ պետությունների մաքսային մարմինների միջև տեղեկությունների փոխանակման ապահովում»։
6. Ընդհանուր գործընթացի ծածկագրային նշագիրը՝ P.CP.02, տարբերակ 3.0.0։
1. Ընդհանուր գործընթացի նպատակն ու խնդիրները
7. Ընդհանուր գործընթացի նպատակը Միության մեկ անդամ պետությունում (այսուհետ՝ անդամ պետություն) «արտահանում» մաքսային ընթացակարգին, «մաքսային տարածքից դուրս վերամշակում» մաքսային ընթացակարգին, «ժամանակավոր արտահանում» մաքսային ընթացակարգին, «վերաարտահանում» մաքսային ընթացակարգին կամ հատուկ մաքսային ընթացակարգին (այսուհետ՝ Միության մաքսային տարածքից ապրանքների արտահանումը թույլատրող մաքսային ընթացակարգ) համապատասխան բաց թողնված և մեկ այլ անդամ պետությունում Միության մաքսային տարածքից արտահանվող, այդ թվում՝ մեկնման վայր առաքելու համար Միության անդամներ չհանդիսացող պետությունների տարածքներով և (կամ) ծովով փոխադրվող ապրանքների նկատմամբ հսկողության, ինչպես նաև այդ ապրանքների տեղափոխման մոնիթորինգի արդյունավետության բարձրացումն է լիազորված մարմինների միջև տեղեկատվական փոխգործակցության և Միության մաքսային տարածքից ապրանքների փաստացի արտահանումը հաստատելու մեխանիզմների կատարելագործման հաշվին:
8. Ընդհանուր գործընթացի նպատակին հասնելու համար անհրաժեշտ է լուծել հետևյալ խնդիրները.
ա) ապահովել լիազորված մարմինների միջև ապրանքների փաստացի արտահանման նկատմամբ հսկողություն իրականացնելու համար անհրաժեշտ տեղեկությունների միջպետական ավտոմատացված փոխանակումը՝ օգտագործելով Միության ինտեգրված տեղեկատվական համակարգը (այսուհետ՝ ինտեգրված համակարգ)՝ Միության իրավունքի մաս կազմող միջազգային պայմանագրերին ու ակտերին համապատասխան.
բ) ապահովել Միության տվյալների ընդհանուր մոդելի օգտագործման հիման վրա կառուցված էլեկտրոնային փաստաթղթերի և տեղեկությունների միասնականացված կառուցվածքների կիրառումը.
գ) ապահովել լիազորված մարմինների միջև միջպետական տեղեկատվական փոխգործակցությունը՝ ապրանքների հայտարարագրից տեղեկությունների հարցում կատարելու, Միության մաքսային տարածքից ապրանքների փաստացի արտահանումը հաստատող տեղեկությունների տրամադրման (այսուհետ՝ ապրանքների փաստացի արտահանման վերաբերյալ տեղեկություններ) և Միության անդամներ չհանդիսացող պետությունների տարածքներով և (կամ) ծովով Միության մաքսային տարածքի մի մասից Միության մաքսային տարածքի մյուս մաս փոխադրվող ապրանքների հետագծման վերաբերյալ տեղեկություններ (այսուհետ՝ ապրանքների հետագծման վերաբերյալ տեղեկություններ) ներկայացնելու նպատակով.
դ) ապահովել մեկ անդամ պետության լիազորված մարմինների հարցման հիման վրա որոշակի ապրանքային խմբաքանակի ապրանքների փաստացի արտահանումը հաստատելու նկատմամբ հսկողության համար անհրաժեշտ տեղեկատվության ներկայացումը մյուս անդամ պետության լիազորված մարմնի կողմից, եթե նշված տեղեկատվությունը ներկայացնելը նախատեսված է Միության իրավունքի մաս կազմող ակտերով.
ե) ապահովել միջպետական տեղեկատվական փոխգործակցությունը՝ երկու և ավելի անդամ պետությունների տարածքով ապրանքների տեղափոխման դեպքերում:
2. Ընդհանուր գործընթացի մասնակիցները
9. Ընդհանուր գործընթացի մասնակիցների ցանկը բերված է 1-ին աղյուսակում:
Աղյուսակ 1
Ընդհանուր գործընթացի մասնակիցների ցանկը
|
Ծածկագրային նշագիրը |
Անվանումը |
Նկարագրությունը |
|
1 |
2 |
3 |
|
P.CP.02.ACT.001 |
ապրանքների բացթողում իրականացնող լիազորված մարմին |
լիազորված մարմին, որի համակարգում իրականացվում են ապրանքների բացթողումը՝ Միության մաքսային տարածքից ապրանքների արտահանումը թույլատրող մաքսային ընթացակարգին համապատասխան, ինչպես նաև փաստացի արտահանված ապրանքների քանակի հաշվառումը |
|
P.CP.02.ACT.002 |
մեկնման վայրի լիազորված մարմին |
լիազորված մարմին, որի համակարգում կատարվում են մաքսային գործառնություններ, և իրականացվում է մաքսային հսկողություն՝ Միության մաքսային տարածքից ապրանքները փաստացի արտահանելու դեպքում |
|
P.CP.02.ACT.003 |
ապրանքների հետագծումը ձևակերպող՝ ժամանման վայրի լիազորված մարմին |
լիազորված մարմին, որի համակարգում կատարվում են մաքսային գործառնություններ, և իրականացվում է մաքսային հսկողություն՝ «արտահանում» մաքսային ընթացակարգով ձևակերպված ապրանքների՝ Միության մաքսային տարածքի մյուս մաս ժամանելու դեպքում |
|
P.CP.02.ACT.004 |
ապրանքների հետագծումը ձևակերպող՝ մեկնման վայրի լիազորված մարմին |
լիազորված մարմին, որի համակարգում կատարվում են մաքսային գործառնություններ, և իրականացվում է մաքսային հսկողություն՝ «արտահանում» մաքսային ընթացակարգով ձևակերպված ապրանքների՝ Միության մաքսային տարածքի մյուս մաս մեկնելու դեպքում |
|
P.CP.02.ACT.005 |
ապրանքների հայտարարագրից տեղեկությունների հարցում կատարող լիազորված մարմին |
մեկնման վայրի լիազորված մարմին (Р.СР.02.АСТ.002), ապրանքների հետագծումը ձևակերպող՝ ժամանման վայրի լիազորված մարմին (Р.СР.02.АСТ.003) |
|
P.CP.02.ACT.006 |
փաստացի ժամանած ապրանքների հետագծման մասին տեղեկություններ ստացող լիազորված մարմին |
ապրանքների բացթողում իրականացնող լիազորված մարմին (Р.СР.02.АСТ.001), ապրանքների հետագծումը ձևակերպող՝ մեկնման վայրի լիազորված մարմին (Р.СР.02.АСТ.004) |
|
P.CP.02.ACT.007 |
փաստացի մեկնող ապրանքների հետագծման մասին տեղեկություններ ստացող լիազորված մարմին |
ապրանքների բացթողում իրականացնող լիազորված մարմին (Р.СР.02.АСТ.001), ապրանքների հետագծումը ձևակերպող՝ ժամանման վայրի լիազորված մարմին (Р.СР.02.АСТ.003) |
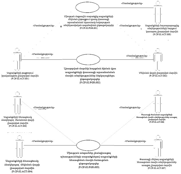
3. Ընդհանուր գործընթացի կառուցվածքը
10. Ընդհանուր գործընթացը, ըստ իր նշանակության, խմբավորված ընթացակարգերի ամբողջություն է՝
ա) Միության մաքսային տարածքից ապրանքների մեկնման ընթացքում դրանց փաստացի արտահանման նկատմամբ հսկողության տեղեկատվական ապահովման ընթացակարգեր.
բ) լիազորված մարմնի հարցման հիման վրա ապրանքների փաստացի արտահանման վերաբերյալ տեղեկություններ ներկայացնելու ընթացակարգեր.
գ) Միության անդամներ չհանդիսացող պետությունների տարածքներով ապրանքների հետագծման մասին ծանուցման ընթացակարգեր:
11. Միության մաքսային տարածքից ապրանքների մեկնման ընթացքում դրանց փաստացի արտահանման նկատմամբ հսկողության տեղեկատվական ապահովման ընթացակարգերի խմբում ընդգրկված ընդհանուր գործընթացի ընթացակարգերը կատարելիս իրականացվում է Միության մաքսային տարածքից ապրանքների փաստացի արտահանման հսկողության և հաստատման համար անհրաժեշտ տեղեկությունների փոխանակում:
Նշված ընթացակարգերը կատարելիս իրականացվում են հետևյալ գործողությունները՝
Միության մաքսային տարածքի սահմաններից դուրս ապրանքների արտահանումը թույլատրող մաքսային ընթացակարգին համապատասխան բաց թողնված ապրանքների մասին տեղեկությունների հարցումը և ներկայացումը, ինչպես նաև Միության անդամներ չհանդիսացող պետությունների տարածքներով ապրանքների հետագծման դեպքում «արտահանում» մաքսային ընթացակարգին համապատասխան բաց թողնված ապրանքների մասին տեղեկությունների հարցումը և ներկայացումը.
ապրանքների փաստացի արտահանման մասին տեղեկությունները, այդ թվում՝ տրանսպորտային (փոխադրման), առևտրային և (կամ) այլ փաստաթղթեր որպես ապրանքների հայտարարագիր օգտագործելու դեպքում՝ «վերաարտահանում» մաքսային ընթացակարգով ձևակերպված բազմաշրջանառու տարայի (ցիստեռնների, բեռնարկղերի, վանդակների, տակդիրների, կանիստրների և այլնի) (այսուհետ՝ բաշզմաշրջանառու տարա) վերաբերյալ, ինչպես նաև նախկինում ուղարկված տեղեկությունների ճշգրտման և չեղարկման մասին տեղեկություններն ապրանքների բացթողում իրականացնող լիազորված մարմին ներկայացնելը։
Լիազորված մարմնի հարցման հիման վրա ապրանքների փաստացի արտահանման մասին տեղեկություններ ներկայացնելու ընթացակարգերի խմբում ընդգրկված ընդհանուր գործընթացի ընթացակարգերը կատարելիս իրականացվում են ապրանքների արտահանման փաստերի մասին տեղեկությունների հարցում՝ ապրանքների բացթողում իրականացրած լիազորված մարմնի կողմից, և հարցված տեղեկությունների ներկայացում՝ ապրանքների մեկնման թույլտվությունը ձևակերպող լիազորված մարմնի կողմից:
Միության անդամներ չհանդիսացող պետությունների տարածքներով ապրանքների հետագծման վերաբերյալ ծանուցման ընթացակարգերի խմբում ընդգրկված ընդհանուր գործընթացի ընթացակարգերը կատարելիս իրականացվում են ապրանքների հետագծման վերաբերյալ կամ նախկինում ուղարկված՝ ապրանքների հետագծման մասին տեղեկությունների ճշգրտման (չեղարկման) վերաբերյալ անդամ պետությունների այն լիազորված մարմիններին տեղեկացնելը, որոնք այդ տեղեկություններն ստացողներն են, ինչպես նաև անհրաժեշտության դեպքում Միության մաքսային տարածքից ապրանքների մեկնման վերաբերյալ հարցում ձևավորելն ու ուղարկելը և ապրանքների հետագծումը ձևակերպող՝ մեկնման վայրի լիազորված մարմնից այդ հարցման պատասխանն ստանալը։
Եվրասիական տնտեսական միության մաքսային օրենսգրքի 356-րդ հոդվածի 2-րդ կետին համապատասխան՝ ընդհանուր գործընթացի շրջանակներում չի փոխանցվում պետական, առևտրային, հարկային, բանկային և անդամ պետությունների օրենսդրությամբ պահպանվող այլ գաղտնիք (գաղտնիքներ) կազմող տեղեկատվությունը, ինչպես նաև այլ գաղտնի տեղեկատվությունը:
12. Ընդհանուր գործընթացի կառուցվածքի բերված նկարագրությունը ներկայացված է 1-ին նկարում:
Նկ. 1. Ընդհանուր գործընթացի կառուցվածքը
13. Ընդհանուր գործընթացի՝ ըստ իրենց նշանակության խմբավորված ընթացակարգերի կատարման կարգը, այդ թվում՝ գործառնությունների մանրամասնած նկարագրությունը բերված են սույն կանոնների VIII բաժնում։
14. Ընթացակարգերի յուրաքանչյուր խմբի համար բերվում են ընդհանուր գործընթացի ընթացակարգերի միջև առկա կապերը և դրանց կատարման կարգն արտացոլող ընդհանուր սխեման։ Ընթացակարգերի ընդհանուր սխեման կառուցված է UML գրաֆիկական նոտացիայի (մոդելավորման միասնականացված լեզու՝ Unified Modeling Language) օգտագործմամբ և ապահովված է տեքստային նկարագրությամբ։
4. Միության մաքսային տարածքից ապրանքների մեկնման ընթացքում դրանց փաստացի արտահանման նկատմամբ հսկողության տեղեկատվական ապահովման ընթացակարգերի խումբը
15. Միության մաքսային տարածքից ապրանքների մեկնման ընթացքում դրանց փաստացի արտահանման նկատմամբ հսկողություն իրականացնելիս ապրանքների մեկնման թույլտվությունը ձևակերպող լիազորված մարմինն ապրանքների բացթողում իրականացնող լիազորված մարմնից հարցում է կատարում ապրանքների այն հայտարարագրից տեղեկությունների վերաբերյալ, որին համապատասխան՝ ապրանքները ձևակերպվել են Միության մաքսային տարածքի սահմաններից դուրս ապրանքների արտահանումը թույլատրող մաքսային ընթացակարգով: Ապրանքների բացթողում իրականացնող լիազորված մարմինը ներկայացնում է ապրանքների հայտարարագրից տեղեկություններ կամ հարցվող տեղեկատվության բացակայության վերաբերյալ տեղեկություններ: Ընդ որում, կատարվում է «Ապրանքների հայտարարագրից տեղեկությունների հարցում» ընթացակարգը (P.CP.02.PRC.001): Ապրանքների հայտարարագրերից տեղեկությունների հարցումը չի իրականացվում բազմաշրջանառու տարայի արտահանման դեպքում։
«Ապրանքների հայտարարագրից տեղեկությունների հարցում» ընթացակարգը (P.CP.02.PRC.001) նաև կարող է կատարվել ապրանքների ժամանման վայրում տեղակայված մաքսային մարմնում փաստացի մեկնող ապրանքների հետագծման մասին տեղեկությունների բացակայության դեպքում։
Նշված տեղեկությունների ներկայացումն իրականացվում է Եվրասիական տնտեսական հանձնաժողովի կոլեգիայի 20 թվականի -ի թիվ որոշմամբ հաստատված՝ «Եվրասիական տնտեսական միության մաքսային տարածքի սահմաններից դուրս ապրանքների փաստացի արտահանման հսկողության և հաստատման ընթացքում Եվրասիական տնտեսական միության անդամ պետությունների մաքսային մարմինների միջև տեղեկությունների փոխանակման ապահովում» ընդհանուր գործընթացը Եվրասիական տնտեսական միության ինտեգրված տեղեկատվական համակարգի միջոցներով իրագործելիս՝ Եվրասիական տնտեսական միության անդամ պետությունների լիազորված մարմինների միջև տեղեկատվական փոխգործակցության կանոնակարգին (այսուհետ՝ Տեղեկատվական փոխգործակցության կանոնակարգ) համապատասխան: Ներկայացվող տեղեկությունների ձևաչափն ու կառուցվածքը պետք է համապատասխանեն Եվրասիական տնտեսական հանձնաժողովի կոլեգիայի 20 թվականի -ի թիվ որոշմամբ հաստատված՝ «Եվրասիական տնտեսական միության մաքսային տարածքի սահմաններից դուրս ապրանքների փաստացի արտահանման հսկողության և հաստատման ընթացքում Եվրասիական տնտեսական միության անդամ պետությունների մաքսային մարմինների միջև տեղեկությունների փոխանակման ապահովում» ընդհանուր գործընթացը Եվրասիական տնտեսական միության ինտեգրված տեղեկատվական համակարգի միջոցներով իրագործելու համար օգտագործվող էլեկտրոնային փաստաթղթերի և տեղեկությունների ձևաչափերի ու կառուցվածքների նկարագրությանը (այսուհետ՝ Էլեկտրոնային փաստաթղթերի և տեղեկությունների ձևաչափերի ու կառուցվածքների նկարագրություն):
Միության մաքսային տարածքից ապրանքների, այդ թվում՝ բազմաշրջանառու տարայի մեկնման թույլտվության ձևակերպման մասին որոշում ընդունելու դեպքում, մեկնման վայրի լիազորված մարմինն ապրանքների բացթողում իրականացնող լիազորված մարմին է ուղարկում ապրանքների փաստացի արտահանման վերաբերյալ տեղեկություններ: Ընդ որում, կատարվում է «Ապրանքների փաստացի արտահանման հաստատում» ընթացակարգը (P.CP.02.PRC.002):
Այդպիսի ապրանքների փաստացի արտահանման վերաբերյալ տեղեկությունները կարող են չեղարկվել Եվրասիական տնտեսական հանձնաժողովի կոլեգիայի 2018 թվականի փետրվարի 7-ի «Եվրասիական տնտեսական միության մաքսային տարածքից ապրանքների փաստացի արտահանումը Միության անդամ պետությունների մաքսային մարմինների կողմից հաստատվելու կարգի մասին» թիվ 25 որոշման III բաժնի 25-րդ կետով նախատեսված դեպքերում: Ընդ որում, կատարվում է «Ապրանքների փաստացի արտահանման վերաբերյալ տեղեկությունների չեղարկում» ընթացակարգը (P.CP.02.PRC.003):
Այն դեպքում, երբ ապրանքների մեկնման թույլտվությունը ձևակերպելուց հետո էլեկտրոնային հաստատման մեջ և Միության մաքսային տարածքից ապրանքների մեկնման թույլտվություն ստանալու համար ներկայացված փաստաթղթերում հայտնաբերվել են տեղեկությունների հակասություններ, այդպիսի ապրանքների փաստացի արտահանման վերաբերյալ տեղեկությունները կարող են ճշգրտվել՝ բացառությամբ Եվրասիական տնտեսական հանձնաժողովի կոլեգիայի 2018 թվականի փետրվարի 7-ի թիվ 25 որոշմամբ հաստատված կարգի 22-րդ կետում նշված տեղեկությունների: Ընդ որում, կատարվում է «Ապրանքների փաստացի արտահանման վերաբերյալ տեղեկությունների ճշգրտում» ընթացակարգը (P.CP.02.PRC.005):
16. Միության մաքսային տարածքից ապրանքների մեկնման ընթացքում դրանց փաստացի արտահանման նկատմամբ հսկողության տեղեկատվական ապահովման ընթացակարգերի խմբի բերված նկարագրությունը ներկայացված է 2-րդ նկարում:
Նկ. 2. Միության մաքսային տարածքից ապրանքների մեկնման ընթացքում դրանց փաստացի արտահանման նկատմամբ հսկողության տեղեկատվական ապահովման ընթացակարգերի խմբի ընդհանուր սխեման
17. Միության մաքսային տարածքից ապրանքների մեկնման ընթացքում դրանց փաստացի արտահանման նկատմամբ հսկողության տեղեկատվական ապահովման ընթացակարգերի խմբում ընդգրկված ընդհանուր գործընթացի ընթացակարգերի ցանկը բերված է 2-րդ աղյուսակում:
Աղյուսակ 2
Միության մաքսային տարածքից ապրանքների մեկնման ընթացքում դրանց փաստացի արտահանման նկատմամբ հսկողության տեղեկատվական ապահովման ընթացակարգերի խմբում ընդգրկված ընդհանուր գործընթացի ընթացակարգերի ցանկը
|
Ծածկագրային նշագիրը |
Անվանումը |
Նկարագրությունը |
|
1 |
2 |
3 |
|
P.CP.02.PRC.001 |
ապրանքների հայտարարագրից տեղեկությունների հարցում |
ընթացակարգը նախատեսված է ապրանքների բացթողում իրականացնող լիազորված մարմնի կողմից ապրանքների հայտարարագրից տեղեկություններն ապրանքների հայտարարագրից տեղեկությունների հարցում կատարող լիազորված մարմնի հարցման հիման վրա ներկայացնելու համար |
|
P.CP.02.PRC.002 |
ապրանքների փաստացի արտահանման հաստատում |
ընթացակարգը նախատեսված է ապրանքների փաստացի արտահանման մասին, այդ թվում՝ բազմաշրջանառու տարային առնչվող տեղեկությունները, մեկնման վայրի լիազորված մարմնի կողմից ապրանքների բացթողում իրականացնող լիազորված մարմին ներկայացնելու համար |
|
P.CP.02.PRC.003 |
ապրանքների փաստացի արտահանման վերաբերյալ տեղեկությունների չեղարկում |
ընթացակարգը նախատեսված է ապրանքների բացթողում իրականացնող լիազորված մարմին նախկինում ուղարկված՝ ապրանքների փաստացի արտահանման վերաբերյալ տեղեկությունների չեղարկման մասին տեղեկությունները մեկնման վայրի լիազորված մարմնի կողմից ներկայացնելու համար |
|
P.CP.02.PRC.005 |
ապրանքների փաստացի արտահանման վերաբերյալ տեղեկությունների ճշգրտում |
ընթացակարգը նախատեսված է ապրանքների փաստացի արտահանման վերաբերյալ տեղեկությունների ճշգրտումը մեկնման վայրի լիազորված մարմնի կողմից ներկայացնելու համար՝ էլեկտրոնային հաստատման մեջ առկա տեղեկությունների և մաքսային տարածքից ապրանքների մեկնման թույլտվություն ստանալու համար ներկայացված փաստաթղթերում առկա տեղեկությունների հակասությունների դեպքում |
5. Ապրանքների փաստացի արտահանման վերաբերյալ տեղեկությունները լիազորված մարմնի հարցման հիման վրա ներկայացնելու ընթացակարգերի խումբը
18. Ապրանքների փաստացի արտահանման վերաբերյալ տեղեկությունները լիազորված մարմնի հարցման հիման վրա ներկայացնելու ընթացակարգերի խմբի կատարումն իրականացվում է ապրանքների բացթողում իրականացնող լիազորված մարմնում ապրանքների փաստացի արտահանման վերաբերյալ տեղեկությունների բացակայության դեպքում:
Մեկնման վայրի լիազորված մարմնի կողմից ապրանքների փաստացի արտահանման վերաբերյալ տեղեկություններ չներկայացնելու և Միության մաքսային տարածքից ապրանքների փաստացի արտահանման հաստատման համար արտաքին տնտեսական գործունեության մասնակցի կողմից հիմնավորված հայտ ներկայացնելու դեպքում ապրանքների բացթողում իրականացնող լիազորված մարմինը մեկնման վայրի լիազորված մարմին է ուղարկում ապրանքների փաստացի արտահանման վերաբերյալ տեղեկություններ ներկայացնելու հարցում: Մեկնման վայրի լիազորված մարմինը ներկայացնում է ապրանքների փաստացի արտահանման վերաբերյալ տեղեկություններ կամ ուղարկում է հարցվող տեղեկությունների բացակայության մասին ծանուցում: Ընդ որում, կատարվում է «Ապրանքների փաստացի արտահանման վերաբերյալ տեղեկությունների հարցում» ընթացակարգը (P.CP.02.PRC.004):
19. Ապրանքների փաստացի արտահանման վերաբերյալ տեղեկությունները լիազորված մարմնի հարցման հիման վրա ներկայացնելու ընթացակարգերի խմբի բերված նկարագրությունը ներկայացված է 3-րդ նկարում:
Նկ. 3. Ապրանքների փաստացի արտահանման վերաբերյալ տեղեկությունները լիազորված մարմնի հարցման հիման վրա ներկայացնելու ընթացակարգերի խմբի ընդհանուր սխեման
20. Ապրանքների փաստացի արտահանման վերաբերյալ տեղեկություններն անդամ պետության լիազորված մարմնի հարցման հիման վրա ներկայացնելու ընթացակարգի խմբում ընդգրկված ընդհանուր գործընթացի ընթացակարգերի ցանկը բերված է 3-րդ աղյուսակում:
Աղյուսակ 3
Ապրանքների փաստացի արտահանման վերաբերյալ տեղեկություններն անդամ պետության լիազորված մարմնի հարցման հիման վրա ներկայացնելու ընթացակարգերի խմբում ընդգրկված ընդհանուր գործընթացի ընթացակարգերի ցանկը
|
Ծածկագրային նշագիրը |
Անվանումը |
Նկարագրությունը |
|
1 |
2 |
3 |
|
P.CP.02.PRC.004 |
ապրանքների փաստացի արտահանման վերաբերյալ տեղեկությունների հարցում |
ընթացակարգը նախատեսված է մեկնման վայրի լիազորված մարմնի կողմից ապրանքների փաստացի արտահանման վերաբերյալ տեղեկություններն ապրանքների բացթողում իրականացնող լիազորված մարմնի հարցման հիման վրա ներկայացնելու համար |
6. Միության անդամներ չհանդիսացող պետությունների տարածքներով ապրանքների հետագծման մասին ծանուցման ընթացակարգերի խումբը
21. Միության անդամներ չհանդիսացող պետությունների տարածքներով ապրանքների հետագծման մասին ծանուցման ընթացակարգերի խմբի կատարումն իրականացվում է «արտահանում» մաքսային ընթացակարգով ձևակերպված Միության ապրանքների՝ Միության մաքսային տարածքից մեկնելու և Միության մաքսային տարածք ժամանելու դեպքում:
Մաքսային հսկողության իրականացման արդյունքներով՝ մեկ անդամ պետությունում «արտահանում» մաքսային ընթացակարգին համապատասխան բաց թողնված Միության այն ապրանքների՝ մյուս անդամ պետության տարածքում տեղակայված՝ Միության մաքսային տարածք ժամանման վայր ժամանելու դեպքում, որոնք ժամանման վայր առաքվելու համար Միության մաքսային տարածքի մի մասից Միության մաքսային տարածքի մեկ այլ մաս փոխադրվել են Միության անդամներ չհանդիսացող պետությունների տարածքներով և (կամ) ծովով, կատարվում է «Փաստացի ժամանած ապրանքների հետագծման մասին ծանուցում» ընթացակարգը (P.CP.02.PRC.006):
Մաքսային հսկողության իրականացման արդյունքներով՝ մեկ անդամ պետությունում «արտահանում» մաքսային ընթացակարգին համապատասխան բաց թողնված Միության այն ապրանքների՝ մյուս անդամ պետության տարածքում տեղակայված՝ Միության մաքսային տարածքից մեկնման վայրից մեկնելու դեպքում, որոնք մեկնման վայր առաքվելու համար Միության մաքսային տարածքի մի մասից Միության մաքսային տարածքի մեկ այլ մաս փոխադրվելու են Միության անդամներ չհանդիսացող պետությունների տարածքներով և (կամ) ծովով, կատարվում է «Փաստացի մեկնող ապրանքների հետագծման մասին ծանուցում» ընթացակարգը (P.CP.02.PRC.007):
Մեկ անդամ պետությունում «արտահանում» մաքսային ընթացակարգին համապատասխան բաց թողնված Միության այն ապրանքների՝ մյուս անդամ պետության տարածքում տեղակայված՝ Միության մաքսային տարածք ժամանման վայր ժամանելու դեպքում, որոնք մեկնման վայր առաքվելու համար Միության մաքսային տարածքի մի մասից Միության մաքսային տարածքի մեկ այլ մաս փոխադրվել են Միության անդամներ չհանդիսացող պետությունների տարածքներով և (կամ) ծովով, և ժամանման վայրում տեղակայված մաքսային մարմնում ապրանքների հետագծման մասին տեղեկատվության բացակայության դեպքում կատարվում է «Եվրասիական տնտեսական միության մաքսային տարածքից ապրանքների մեկնման վերաբերյալ տեղեկությունների հարցում» ընթացակարգը (P.CP.02.PRC.008)։
22. Եթե Եվրասիական տնտեսական հանձնաժողովի կոլեգիայի 2017 թվականի նոյեմբերի 7-ի թիվ 134 որոշմամբ հաստատված՝ «Արտահանում» մաքսային ընթացակարգով ձևակերպված Եվրասիական տնտեսական միության ապրանքների՝ Եվրասիական տնտեսական միության մաքսային տարածքից մեկնելու հետ կապված մաքսային գործառնությունների կատարման կարգով սահմանված դեպքերում «Փաստացի ժամանած ապրանքների հետագծման մասին ծանուցում» ընթացակարգը (P.CP.02.PRC.006) կատարելուց հետո բացահայտվել է փաստացի ժամանած ապրանքների հետագծման վերաբերյալ տեղեկությունների ճշգրտման անհրաժեշտություն, ապա կատարվում է «Փաստացի ժամանած ապրանքների հետագծման վերաբերյալ տեղեկությունների ճշգրտում» ընթացակարգը (P.CP.02.PRC.009)։
23. Եթե Եվրասիական տնտեսական հանձնաժողովի կոլեգիայի 2017 թվականի նոյեմբերի 7-ի թիվ 134 որոշմամբ հաստատված՝ «Արտահանում» մաքսային ընթացակարգով ձևակերպված Եվրասիական տնտեսական միության ապրանքների՝ Եվրասիական տնտեսական միության մաքսային տարածքից մեկնելու հետ կապված մաքսային գործառնությունների կատարման կարգով սահմանված դեպքերում «Փաստացի մեկնող ապրանքների հետագծման մասին ծանուցում» ընթացակարգը (P.CP.02.PRC.007) կատարելուց հետո բացահայտվել է փաստացի մեկնող ապրանքների հետագծման վերաբերյալ տեղեկությունների ճշգրտման անհրաժեշտություն, ապա կատարվում է «Փաստացի մեկնող ապրանքների հետագծման վերաբերյալ տեղեկությունների ճշգրտում» ընթացակարգը (P.CP.02.PRC.010)։
24. Եթե Եվրասիական տնտեսական հանձնաժողովի կոլեգիայի 2017 թվականի նոյեմբերի 7-ի թիվ 134 որոշմամբ հաստատված՝ «Արտահանում» մաքսային ընթացակարգով ձևակերպված Եվրասիական տնտեսական միության ապրանքների՝ Եվրասիական տնտեսական միության մաքսային տարածքից մեկնելու հետ կապված մաքսային գործառնությունների կատարման կարգով սահմանված դեպքերում «Փաստացի մեկնող ապրանքների հետագծման մասին ծանուցում» ընթացակարգը (P.CP.02.PRC.007) կատարելուց հետո բացահայտվել է փաստացի մեկնող ապրանքների հետագծման վերաբերյալ տեղեկությունների չեղարկման անհրաժեշտություն, ապա կատարվում է «Փաստացի մեկնող ապրանքների հետագծման վերաբերյալ տեղեկությունների չեղարկում» ընթացակարգը (P.CP.02.PRC.011)։
25. Միության անդամներ չհանդիսացող պետությունների տարածքներով ապրանքների հետագծման մասին ծանուցման ընթացակարգերի խմբի բերված նկարագրությունը ներկայացված է 4-րդ նկարում:
Նկ. 4. Միության անդամներ չհանդիսացող պետությունների տարածքներով ապրանքների հետագծման մասին ծանուցման ընթացակարգերի խմբի ընդհանուր սխեման
26. Միության անդամներ չհանդիսացող պետությունների տարածքներով ապրանքների հետագծման մասին ծանուցման ընթացակարգերի խմբում ընդգրկվող ընդհանուր գործընթացի ընթացակարգերի ցանկը բերված է 4-րդ աղյուսակում:
Աղյուսակ 4
Միության անդամներ չհանդիսացող պետությունների տարածքներով ապրանքների հետագծման մասին ծանուցման ընթացակարգերի խմբում ընդգրկվող ընդհանուր գործընթացի ընթացակարգերի ցանկը
|
Ծածկագրային նշագիրը |
Անվանումը |
Նկարագրությունը |
|
1 |
2 |
3 |
|
P.CP.02.PRC.006 |
փաստացի ժամանած ապրանքների հետագծման մասին ծանուցում |
ընթացակարգը նախատեսված է ապրանքների հետագծումը ձևակերպող՝ ժամանման վայրի լիազորված մարմնի կողմից ապրանքների հետագծման վերաբերյալ տեղեկություններ ներկայացնելու համար |
|
P.CP.02.PRC.007 |
փաստացի մեկնող ապրանքների հետագծման մասին ծանուցում |
ընթացակարգը նախատեսված է ապրանքների հետագծումը ձևակերպող՝ մեկնման վայրի լիազորված մարմնի կողմից ապրանքների հետագծման վերաբերյալ տեղեկություններ ներկայացնելու համար |
|
P.CP.02.PRC.008 |
ապրանքների մեկնման վերաբերյալ տեղեկությունների հարցում |
ընթացակարգը նախատեսված է ապրանքների հետագծումը ձևակերպող՝ մեկնման վայրի լիազորված մարմնի կողմից ապրանքների հետագծման վերաբերյալ տեղեկությունների հարցման և ներկայացման համար |
|
P.CP.02.PRC.009 |
փաստացի ժամանած ապրանքների հետագծման վերաբերյալ տեղեկությունների ճշգրտում |
ընթացակարգը նախատեսված է փաստացի ժամանած ապրանքների հետագծման վերաբերյալ փոփոխված տեղեկություններ ստացողի կողմից այդ տեղեկություններն ապրանքների հետագծումը ձևակերպող՝ ժամանման վայրի լիազորված մարմիններ ներկայացնելու համար |
|
P.CP.02.PRC.010 |
փաստացի մեկնող ապրանքների հետագծման վերաբերյալ տեղեկությունների ճշգրտում |
ընթացակարգը նախատեսված է փաստացի մեկնող ապրանքների հետագծման վերաբերյալ փոփոխված տեղեկություններ ստացողի կողմից այդ տեղեկություններն ապրանքների հետագծումը ձևակերպող՝ մեկնման վայրի լիազորված մարմիններ ներկայացնելու համար |
|
P.CP.02.PRC.011 |
փաստացի մեկնող ապրանքների հետագծման վերաբերյալ տեղեկությունների չեղարկում |
ընթացակարգը նախատեսված է փաստացի մեկնող ապրանքների հետագծման վերաբերյալ տեղեկություններ ստացողներին՝ նախկինում ուղարկված այդ տեղեկությունների չեղարկման վերաբերյալ տեղեկություններն ապրանքների հետագծումը ձևակերպող՝ մեկնման վայրի լիազորված մարմնի կողմից ներկայացնելու համար |
V. Ընդհանուր գործընթացի տեղեկատվական օբյեկտները
27. Տեղեկատվական այն օբյեկտների ցանկը, որոնց մասին կամ որոնցից տեղեկությունները փոխանցվում են ընդհանուր գործընթացի մասնակիցների միջև տեղեկատվական փոխգործակցության ընթացքում, բերված է 5-րդ աղյուսակում։
Աղյուսակ 5
Տեղեկատվական օբյեկտների ցանկը
|
Ծածկագրային նշագիրը |
Անվանումը |
Նկարագրությունը |
|
1 |
2 |
3 |
|
P.CP.02.BEN.001 |
ապրանքների հայտարարագրից տեղեկություններ |
ապրանքների հայտարարագրում պարունակվող տեղեկություններ |
|
P.CP.02.BEN.002 |
ապրանքների փաստացի արտահանման վերաբերյալ տեղեկություններ |
Միության մաքսային տարածքից ապրանքների, այդ թվում՝ բազմաշրջանառու տարայի փաստացի արտահանման վերաբերյալ տեղեկություններ |
|
P.CP.02.BEN.003 |
ապրանքների հետագծման վերաբերյալ տեղեկություններ |
Միության անդամներ չհանդիսացող պետությունների տարածքներով և (կամ) ծովով ապրանքների՝ Միության մաքսային տարածքի մի մասից մեկնելու կամ Միության մաքսային տարածքի մեկ այլ մաս ժամանելու դեպքում դրանց հետագծման մասին տեղեկատվություն պարունակող տեղեկություններ |
VI. Ընդհանուր գործընթացի մասնակիցների պատասխանատվությունը
28. Տեղեկատվական փոխգործակցությանը մասնակցող պաշտոնատար անձանց և լիազորված մարմինների աշխատակիցներին տեղեկությունների ամբողջական և ժամանակին փոխանցումն ապահովելուն ուղղված պահանջները չկատարելու համար կարգապահական պատասխանատվության ենթարկելը՝ անդամ պետությունների օրենսդրությանը համապատասխան։
VII. Ընդհանուր գործընթացի տեղեկագրքերն ու դասակարգիչները
29. Ընդհանուր գործընթացի տեղեկագրքերի և դասակարգիչների ցանկը բերված է 6-րդ աղյուսակում:
Աղյուսակ 6
Ընդհանուր գործընթացի տեղեկագրքերի և դասակարգիչների ցանկը
|
Ծածկագրային նշագիրը |
Անվանումը |
Տիպը |
Նկարագրությունը |
|
1 |
2 |
3 |
4 |
|
P.CLS.001 |
աշխարհի երկրների դասակարգիչ |
դասակարգիչ |
պարունակում է աշխարհի երկրների անվանումների ցանկը և դրանց համապատասխանող ծածկագրերը (կիրառվում է Մաքսային միության հանձնաժողովի 2010 թվականի սեպտեմբերի 20-ի թիվ 378 որոշմանը համապատասխան) |
|
P.CLS.003 |
Եվրասիական տնտեսական միության արտաքին տնտեսական գործունեության միասնական ապրանքային անվանացանկ (ԵԱՏՄ ԱՏԳ ԱԱ) |
դասակարգիչ |
պարունակում է ապրանքների ծածկագրերի և անվանումների ցանկ, որը հիմնված է Համաշխարհային մաքսային կազմակերպության՝ ապրանքների նկարագրման և ծածկագրման ներդաշնակեցված համակարգի և Անկախ Պետությունների Համագործակցության արտաքին տնտեսական գործունեության միասնական ապրանքային անվանացանկի վրա |
|
P.CLS.014 |
փաստաթղթերի և տեղեկությունների տեսակների դասակարգիչ |
դասակարգիչ |
պարունակում է մաքսային փաստաթղթերի լրացման համար օգտագործվող փաստաթղթերի տեսակների ծածկագրերի և անվանումների ցանկը (կիրառվում է Մաքսային միության հանձնաժողովի 2010 թվականի սեպտեմբերի 20-ի թիվ 378 որոշմանը համապատասխան) |
|
P.CLS.015 |
տրանսպորտի տեսակների և ապրանքների փոխադրման տեսակների դասակարգիչ |
դասակարգիչ |
պարունակում է տրանսպորտային միջոցների տեսակների և ապրանքների փոխադրման տեսակների ցանկը և դրանց համապատասխանող ծածկագրերը (կիրառվում է Մաքսային միության հանձնաժողովի 2010 թվականի սեպտեմբերի 20-ի թիվ 378 որոշմանը համապատասխան) |
|
P.CLS.025 |
Եվրասիական տնտեսական միության անդամ պետությունների մաքսային մարմինների դասակարգիչ |
դասակարգիչ |
պարունակում է անդամ պետությունների մաքսային մարմինների ծածկագրերի և անվանումների ցանկը |
|
P.CLS.084 |
մաքսային մարմինների կողմից ընդունվող որոշումների դասակարգիչ |
դասակարգիչ |
պարունակում է մաքսային մարմինների կողմից ընդունվող որոշումների ծածկագրերի և անվանումների ցանկը (կիրառվում է Մաքսային միության հանձնաժողովի 2010 թվականի սեպտեմբերի 20-ի թիվ 378 որոշմանը համապատասխան) |
|
P.CLS.125 |
չափման միավորների դասակարգիչ |
դասակարգիչ |
պարունակում է չափման միավորների ծածկագրերի և անվանումների ցանկը (կիրառվում է Մաքսային միության հանձնաժողովի 2010 թվականի սեպտեմբերի 20-ի թիվ 378 որոշմանը համապատասխան) |
VIII. Ընդհանուր գործընթացի ընթացակարգերը
1. Միության մաքսային տարածքից ապրանքների մեկնման ընթացքում դրանց փաստացի արտահանման նկատմամբ հսկողության տեղեկատվական ապահովման ընթացակարգերը
«Ապրանքների հայտարարագրից տեղեկությունների հարցում» ընթացակարգը
(P.CP.02.PRC.001)
30. «Ապրանքների հայտարարագրից տեղեկությունների հարցում» ընթացակարգի (P.CP.02.PRC.001) կատարման սխեման ներկայացված է 5-րդ նկարում:
Նկ. 5. «Ապրանքների հայտարարագրից տեղեկությունների հարցում» ընթացակարգի (P.CP.02.PRC.001) կատարման սխեման
31. «Ապրանքների հայտարարագրից տեղեկությունների հարցում» ընթացակարգը (RCP.02.PRC.001) կատարվում է՝
մեկ անդամ պետությունում Միության մաքսային տարածքի սահմաններից դուրս ապրանքների արտահանումը նախատեսող մաքսային ընթացակարգին համապատասխան բաց թողնված ապրանքների՝ մյուս անդամ պետության տարածքում տեղակայված՝ Միության մաքսային տարածքից մեկնման վայր ժամանելու դեպքում.
մեկ անդամ պետությունում «արտահանում» մաքսային ընթացակարգով ձևակերպված այն ապրանքների՝ Միության մաքսային տարածք ժամանելու դեպքում, որոնք մեկնման վայր առաքվելու համար Միության մաքսային տարածքի մի մասից Միության մաքսային տարածքի մեկ այլ մաս փոխադրվել են Միության անդամներ չհանդիսացող պետությունների տարածքներով և (կամ) ծովով, մյուս անդամ պետության տարածքում ժամանման վայրում տեղակայված մաքսային մարմնում փաստացի մեկնող ապրանքների հետագծման մասին տեղեկությունների բացակայության դեպքում։
32. Առաջինը կատարվում է «Ապրանքների հայտարարագրից տեղեկությունների հարցում» գործառնությունը (P.CP.02.OPR.001), որի կատարման արդյունքներով ապրանքների հայտարարագրից տեղեկությունների հարցում կատարող լիազորված մարմնի կողմից ձևավորվում և ապրանքների բացթողում իրականացնող լիազորված մարմին է փոխանցվում ապրանքների հայտարարագրից տեղեկություններ ներկայացնելու հարցումը:
33. Ապրանքների բացթողում իրականացնող լիազորված մարմնի կողմից ապրանքների հայտարարագրից տեղեկություններ ներկայացնելու հարցում ստանալու դեպքում կատարվում է «Ապրանքների հայտարարագրից տեղեկությունների ներկայացում» գործառնությունը (Р.СР.02.OРR.002), որի կատարման արդյունքներով ապրանքների հայտարարագրից տեղեկությունների հարցում կատարող լիազորված մարմին են ներկայացվում տեղեկություններ ապրանքների այն հայտարարագրից, որի հիման վրա իրականացվել է ապրանքների բացթողումը՝ Միության մաքսային տարածքի սահմաններից դուրս ապրանքների արտահանում նախատեսող մաքսային ընթացակարգին համապատասխան: Ապրանքների հայտարարագրից տեղեկությունները ներկայացվում են՝ հաշվի առնելով Միության մաքսային տարածքի սահմաններից դուրս նախկինում արտահանված ապրանքի քանակը: Այն դեպքում, երբ ապրանքների բացթողում իրականացնող լիազորված մարմնում բացակայում են հարցման պարամետրերը բավարարող տեղեկությունները, ապրանքների հայտարարագրից տեղեկությունների հարցում կատարող լիազորված մարմին է ուղարկվում այդպիսի տեղեկությունների բացակայության մասին ծանուցում:
34. Ապրանքների հայտարարագրից տեղեկությունների հարցում կատարող լիազորված մարմնի կողմից ապրանքների հայտարարագրից տեղեկություններ կամ հարցման պարամետրերը բավարարող տեղեկությունների բացակայության մասին ծանուցում ստանալու դեպքում կատարվում է «Ապրանքների հայտարարագրից տեղեկությունների ընդունում և մշակում» գործառնությունը (P.CP.02.OPR.003):
35. «Ապրանքների հայտարարագրից տեղեկությունների հարցում» ընթացակարգի (P.CP.02.PRC.001) կատարման արդյունքներն են ապրանքների հայտարարագրից տեղեկությունների հարցում կատարող լիազորված մարմնի կողմից ապրանքների հայտարարագրից տեղեկությունների կամ հարցման պարամետրերը բավարարող տեղեկությունների բացակայության մասին ծանուցման ընդունումն ու մշակումը:
36. «Ապրանքների հայտարարագրից տեղեկությունների հարցում» ընթացակարգի (P.CP.02.PRC.001) շրջանակներում կատարվող ընդհանուր գործընթացի գործառնությունների ցանկը բերված է 7-րդ աղյուսակում։
Աղյուսակ 7
«Ապրանքների հայտարարագրից տեղեկությունների հարցում» ընթացակարգի (P.CP.02.PRC.001) շրջանակներում կատարվող ընդհանուր գործընթացի գործառնությունների ցանկը
|
Ծածկագրային նշագիրը |
Անվանումը |
Նկարագրությունը |
|
1 |
2 |
3 |
|
P.CP.02.OPR.001 |
ապրանքների հայտարարագրից տեղեկությունների հարցում |
բերված է սույն կանոնների 8-րդ աղյուսակում |
|
P.CP.02.OPR.002 |
ապրանքների հայտարարագրից տեղեկությունների ներկայացում |
բերված է սույն կանոնների 9-րդ աղյուսակում |
|
P.CP.02.OPR.003 |
ապրանքների հայտարարագրից տեղեկությունների ընդունում և մշակում |
բերված է սույն կանոնների 10-րդ աղյուսակում |
Աղյուսակ 8
«Ապրանքների հայտարարագրից տեղեկությունների հարցում» գործառնության
(P.CP.02.OPR.001) նկարագրությունը
|
Համարը՝ |
Տարրի նշագիրը |
Նկարագրությունը |
|
1 |
2 |
3 |
|
1 |
Ծածկագրային նշագիրը |
P.CP.02.OPR.001 |
|
2 |
Գործառնության անվանումը |
ապրանքների հայտարարագրից տեղեկությունների հարցում |
|
3 |
Կատարողը |
ապրանքների հայտարարագրից տեղեկությունների հարցում կատարող լիազորված մարմին |
|
4 |
Կատարման պայմանները |
կատարվում է մեկ անդամ պետությունում Միության մաքսային տարածքի սահմաններից դուրս ապրանքների արտահանում նախատեսող մաքսային ընթացակարգին համապատասխան բաց թողնված ապրանքների՝ մյուս անդամ պետության տարածքում տեղակայված՝ Միության մաքսային տարածքից մեկնման վայր ժամանելու դեպքում կամ մեկ անդամ պետությունում «արտահանում» մաքսային ընթացակարգով ձևակերպված այն ապրանքների՝ Միության մաքսային տարածք ժամանելու դեպքում, որոնք մեկնման վայր առաքվելու համար Միության մաքսային տարածքի մի մասից Միության մաքսային տարածքի մեկ այլ մաս փոխադրվել են Միության անդամներ չհանդիսացող պետությունների տարածքներով և (կամ) ծովով, մյուս անդամ պետության տարածքում ժամանման վայրում տեղակայված մաքսային մարմնում փաստացի մեկնող ապրանքների հետագծման մասին տեղեկությունների բացակայության դեպքում |
|
5 |
Սահմանափակումները |
հարցման ձևաչափն ու կառուցվածքը պետք է համապատասխանեն Էլեկտրոնային փաստաթղթերի և տեղեկությունների ձևաչափերի ու կառուցվածքների նկարագրությանը։ Հարցումը պետք է վավերացվի էլեկտրոնային թվային ստորագրությամբ (էլեկտրոնային ստորագրությամբ) |
|
6 |
Գործառնության նկարագրությունը |
կատարողը ձևավորում ու ապրանքների բացթողում իրականացնող լիազորված մարմին է ուղարկում ապրանքների հայտարարագրից տեղեկություններ ներկայացնելու հարցում՝ Տեղեկատվական փոխգործակցության կանոնակարգին համապատասխան |
|
7 |
Արդյունքները |
ապրանքների հայտարարագրից տեղեկությունների հարցումը փոխանցվել է ապրանքների բացթողում իրականացնող լիազորված մարմին |
Աղյուսակ 9
«Ապրանքների հայտարարագրից տեղեկությունների ներկայացում» գործառնության (P.CP.02.OPR.002) նկարագրությունը
|
Համարը՝ |
Տարրի նշագիրը |
Նկարագրությունը |
|
1 |
2 |
3 |
|
1 |
Ծածկագրային նշագիրը |
P.CP.02.OPR.002 |
|
2 |
Գործառնության անվանումը |
ապրանքների հայտարարագրից տեղեկությունների ներկայացում |
|
3 |
Կատարողը |
ապրանքների բացթողում իրականացնող լիազորված մարմին |
|
4 |
Կատարման պայմանները |
կատարվում է կատարողի կողմից ապրանքների հայտարարագրից տեղեկություններ ներկայացնելու հարցում ստանալու դեպքում («Ապրանքների հայտարարագրից տեղեկությունների հարցում» գործառնություն (P.CP.02.OPR.001)) |
|
5 |
Սահմանափակումները |
ներկայացվող տեղեկությունների ձևաչափն ու կառուցվածքը պետք է համապատասխանեն Էլեկտրոնային փաստաթղթերի և տեղեկությունների ձևաչափերի ու կառուցվածքների նկարագրությանը |
|
6 |
Գործառնության նկարագրությունը |
կատարողն իրականացնում է հարցման մշակում՝ Տեղեկատվական փոխգործակցության կանոնակարգին համապատասխան, ձևավորում և ապրանքների հայտարարագրից տեղեկությունների հարցում կատարող լիազորված մարմին է ներկայացնում ապրանքների հայտարարագրից տեղեկություններ: Այն դեպքում, երբ հարցման մեջ նշված՝ ապրանքների հայտարարագրով ապրանքը նախկինում մասամբ է արտահանվել , արտահանվող ապրանքների մնացորդների վերաբերյալ տեղեկություններում նշվում են մնացած ապրանքի քանակական արժեքները: Այն դեպքում, երբ հարցման մեջ նշված՝ ապրանքների հայտարարագրով ապրանքն ամբողջությամբ արտահանվել է, արտահանվող ապրանքների մնացորդների վերաբերյալ տեղեկությունները նշվում են զրոյին հավասար: Ապրանքների հայտարարագրում հարցման պարամետրերը բավարարող տեղեկությունների բացակայության դեպքում ապրանքների հայտարարագրից տեղեկությունների հարցում կատարող լիազորված մարմին է ուղարկվում նշված տեղեկությունների բացակայության մասին ծանուցում |
|
7 |
Արդյունքները |
ապրանքների հայտարարագրից տեղեկությունների հարցում կատարող լիազորված մարմին են ներկայացվել ապրանքների հայտարարագրից տեղեկություններ, կամ ուղարկվել է հարցման պարամետրերը բավարարող տեղեկությունների բացակայության մասին ծանուցում |
Աղյուսակ 10
«Ապրանքների հայտարարագրից տեղեկությունների ընդունում և մշակում» գործառնության (P.CP.02.OPR.003) նկարագրությունը
|
Համարը՝ ը/կ |
Տարրի նշագիրը |
Նկարագրությունը |
|
1 |
2 |
3 |
|
1 |
Ծածկագրային նշագիրը |
P.CP.02.OPR.003 |
|
2 |
Գործառնության անվանումը |
ապրանքների հայտարարագրից տեղեկությունների ընդունում և մշակում |
|
3 |
Կատարողը |
ապրանքների հայտարարագրից տեղեկությունների հարցում կատարող լիազորված մարմին |
|
4 |
Կատարման պայմանները |
կատարվում է կատարողի կողմից ապրանքների հայտարարագրից տեղեկություններ կամ հարցման պարամետրերը բավարարող տեղեկությունների բացակայության մասին ծանուցում ստանալու դեպքում («Ապրանքների հայտարարագրից տեղեկությունների ներկայացում» գործառնություն (P.CP.02.OPR.002)) |
|
5 |
Սահմանափակումները |
ներկայացված տեղեկությունների կամ հարցման պարամետրերը բավարարող տեղեկությունների բացակայության մասին ծանուցման ձևաչափն ու կառուցվածքը պետք է համապատասխանեն Էլեկտրոնային փաստաթղթերի և տեղեկությունների ձևաչափերի ու կառուցվածքների նկարագրությանը: Էլեկտրոնային փաստաթղթի (տեղեկությունների) վավերապայմանները պետք է համապատասխանեն Տեղեկատվական փոխգործակցության կանոնակարգով նախատեսված պահանջներին |
|
6 |
Գործառնության նկարագրությունը |
կատարողն իրականացնում է ապրանքների հայտարարագրից տեղեկությունների կամ հարցման պարամետրերը բավարարող տեղեկությունների բացակայության մասին ծանուցման ընդունում և մշակում |
|
7 |
Արդյունքները |
ապրանքների հայտարարագրից տեղեկությունները կամ հարցման պարամետրերը բավարարող տեղեկությունների բացակայության մասին ծանուցումը մշակվել են |
«Ապրանքների փաստացի արտահանման հաստատում» ընթացակարգը
(P.CP.02.PRC.002)
37. «Ապրանքների փաստացի արտահանման հաստատում» ընթացակարգի (P.CP.02.PRC.002) կատարման սխեման ներկայացված է 6-րդ նկարում:
Նկ. 6. «Ապրանքների փաստացի արտահանման հաստատում» ընթացակարգի (P.CP.02.PRC.002) կատարման սխեման
38. «Ապրանքների փաստացի արտահանման հաստատում» ընթացակարգը (P.CP.02.PRC.002) կատարվում է մեկնման վայրի լիազորված մարմնի կողմից Միության մաքսային տարածքից ապրանքների, այդ թվում՝ բազմաշրջանառու տարայի մեկնման թույլտվության ձևակերպման մասին որոշում ընդունելու դեպքում:
39. Առաջինը կատարվում է «Ապրանքների փաստացի արտահանման վերաբերյալ տեղեկությունների ներկայացում» գործառնությունը (P.CP.02.OPR.004), որի կատարման արդյունքներով մեկնման վայրի լիազորված մարմնի կողմից ձևավորվում և ապրանքների բացթողում իրականացնող լիազորված մարմին են ներկայացվում ապրանքների, այդ թվում՝ բազմաշրջանառու տարայի փաստացի արտահանման վերաբերյալ տեղեկություններ:
40. Ապրանքների փաստացի արտահանման վերաբերյալ տեղեկություններն ապրանքների բացթողում իրականացնող լիազորված մարմնի կողմից ստանալու դեպքում կատարվում է «Ապրանքների փաստացի արտահանման վերաբերյալ տեղեկությունների ընդունում և մշակում» գործառնությունը (P.CP.02.OPR.005), որի կատարման արդյունքներով իրականացվում են նշված տեղեկությունների ընդունումն ու մշակումը:
Մեկնման վայրի լիազորված մարմին է ուղարկվում ապրանքների փաստացի արտահանման վերաբերյալ տեղեկությունների մշակման մասին ծանուցում:
41. Ապրանքների փաստացի արտահանման վերաբերյալ տեղեկությունների մշակման մասին ծանուցումը մեկնման վայրի լիազորված մարմնի կողմից ստանալու դեպքում կատարվում է «Ապրանքների փաստացի արտահանման վերաբերյալ տեղեկությունների մշակման մասին ծանուցման ստացում» գործառնությունը (P.CP.02.OPR.006), որի կատարման արդյունքներով իրականացվում են նշված ծանուցման ընդունումն ու մշակումը:
42. «Ապրանքների փաստացի արտահանման հաստատում» ընթացակարգի (P.CP.02.PRC.002) կատարման արդյունքն ապրանքների բացթողում իրականացնող լիազորված մարմնում ապրանքների, այդ թվում՝ բազմաշրջանառու տարայի փաստացի արտահանման վերաբերյալ տեղեկությունների մշակումն է:
43. «Ապրանքների փաստացի արտահանման հաստատում» ընթացակարգի (P.CP.02.PRC.002) շրջանակներում կատարվող ընդհանուր գործընթացի գործառնությունների ցանկը բերված է 11-րդ աղյուսակում։
Աղյուսակ 11
«Ապրանքների փաստացի արտահանման հաստատում» ընթացակարգի (P.CP.02.PRC.002) շրջանակներում կատարվող ընդհանուր գործընթացի գործառնությունների ցանկը
|
Ծածկագրային նշագիրը |
Անվանումը |
Նկարագրությունը |
|
1 |
2 |
3 |
|
P.CP.02.OPR.004 |
ապրանքների փաստացի արտահանման վերաբերյալ տեղեկությունների ներկայացում |
բերված է սույն կանոնների 12-րդ աղյուսակում |
|
P.CP.02.OPR.005 |
ապրանքների փաստացի արտահանման վերաբերյալ տեղեկությունների ընդունում և մշակում |
բերված է սույն կանոնների 13-րդ աղյուսակում |
|
P.CP.02.OPR.006 |
ապրանքների փաստացի արտահանման վերաբերյալ տեղեկությունների մշակման մասին ծանուցման ստացում |
բերված է սույն կանոնների 14-րդ աղյուսակում |
Աղյուսակ 12
«Ապրանքների փաստացի արտահանման վերաբերյալ տեղեկությունների ներկայացում» գործառնության (P.CP.02.OPR.004) նկարագրությունը
|
Համարը՝ |
Տարրի նշագիրը |
Նկարագրությունը |
|
1 |
2 |
3 |
|
1 |
Ծածկագրային նշագիրը |
P.CP.02.OPR.004 |
|
2 |
Գործառնության անվանումը |
ապրանքների փաստացի արտահանման վերաբերյալ տեղեկությունների ներկայացում |
|
3 |
Կատարողը |
մեկնման վայրի լիազորված մարմին |
|
4 |
Կատարման պայմանները |
կատարվում է Միության մաքսային տարածքից ապրանքների, այդ թվում՝ բազմաշրջանառու տարայի մեկնման թույլտվության ձևակերպման մասին որոշում ընդունելու դեպքում |
|
5 |
Սահմանափակումները |
ապրանքների փաստացի արտահանման վերաբերյալ տեղեկությունների ձևաչափն ու կառուցվածքը պետք է համապատասխանեն Էլեկտրոնային փաստաթղթերի և տեղեկությունների ձևաչափերի ու կառուցվածքների նկարագրությանը: Ապրանքների փաստացի արտահանման վերաբերյալ ներկայացվող տեղեկությունները պետք է վավերացվեն էլեկտրոնային թվային ստորագրությամբ (էլեկտրոնային ստորագրությամբ) |
|
6 |
Գործառնության նկարագրությունը |
կատարողը ձևավորում և ապրանքների բացթողում իրականացնող լիազորված մարմին է ներկայացնում ապրանքների, այդ թվում՝ բազմաշրջանառու տարայի փաստացի արտահանման վերաբերյալ տեղեկություններ՝ Տեղեկատվական փոխգործակցության կանոնակարգին համապատասխան |
|
7 |
Արդյունքները |
ապրանքների փաստացի արտահանման վերաբերյալ տեղեկությունները ներկայացվել են ապրանքների բացթողում իրականացնող լիազորված մարմին |
Աղյուսակ 13
«Ապրանքների փաստացի արտահանման վերաբերյալ տեղեկությունների ընդունում և մշակում» գործառնության (P.CP.02.OPR.005) նկարագրությունը
|
Համարը՝ |
Տարրի նշագիրը |
Նկարագրությունը |
|
1 |
2 |
3 |
|
1 |
Ծածկագրային նշագիրը |
P.CP.02.OPR.005 |
|
2 |
Գործառնության անվանումը |
ապրանքների փաստացի արտահանման վերաբերյալ տեղեկությունների ընդունում և մշակում |
|
3 |
Կատարողը |
ապրանքների բացթողում իրականացնող լիազորված մարմին |
|
4 |
Կատարման պայմանները |
կատարվում է ապրանքների փաստացի արտահանման վերաբերյալ տեղեկությունները կատարողի կողմից ստանալու դեպքում («Ապրանքների փաստացի արտահանման վերաբերյալ տեղեկությունների ներկայացում» գործառնություն (P.CP.02.OPR.004)) |
|
5 |
Սահմանափակումները |
ներկայացված տեղեկությունների ձևաչափն ու կառուցվածքը պետք է համապատասխանեն Էլեկտրոնային փաստաթղթերի և տեղեկությունների ձևաչափերի ու կառուցվածքների նկարագրությանը: Էլեկտրոնային փաստաթղթի (տեղեկությունների) վավերապայմանները պետք է համապատասխանեն Տեղեկատվական փոխգործակցության կանոնակարգով նախատեսված պահանջներին |
|
6 |
Գործառնության նկարագրությունը |
կատարողն իրականացնում է ապրանքների փաստացի արտահանման վերաբերյալ տեղեկությունների ընդունում և մշակում, ձևավորում և մեկնման վայրի լիազորված մարմին է ուղարկում տեղեկությունների մշակման մասին ծանուցում |
|
7 |
Արդյունքները |
ապրանքների փաստացի արտահանման վերաբերյալ տեղեկությունները մշակվել են, տեղեկությունների մշակման մասին ծանուցումն ուղարկվել է մեկնման վայրի լիազորված մարմին |
Աղյուսակ 14
«Ապրանքների փաստացի արտահանման վերաբերյալ տեղեկությունների մշակման մասին ծանուցման ստացում» գործառնության (P.CP.02.OPR.006) նկարագրությունը
|
Համարը՝ |
Տարրի նշագիրը |
Նկարագրությունը |
|
1 |
2 |
3 |
|
1 |
Ծածկագրային նշագիրը |
P.CP.02.OPR.006 |
|
2 |
Գործառնության անվանումը |
ապրանքների փաստացի արտահանման վերաբերյալ տեղեկությունների մշակման մասին ծանուցման ստացում |
|
3 |
Կատարողը |
մեկնման վայրի լիազորված մարմին |
|
4 |
Կատարման պայմանները |
կատարվում է ապրանքների փաստացի արտահանման վերաբերյալ տեղեկությունների մշակման մասին ծանուցումը կատարողի կողմից ստանալու դեպքում («Ապրանքների փաստացի արտահանման վերաբերյալ տեղեկությունների ընդունում և մշակում» գործառնություն (P.CP.02.OPR.005)) |
|
5 |
Սահմանափակումները |
ծանուցման ձևաչափն ու կառուցվածքը պետք է համապատասխանեն Էլեկտրոնային փաստաթղթերի և տեղեկությունների ձևաչափերի ու կառուցվածքների նկարագրությանը |
|
6 |
Գործառնության նկարագրությունը |
կատարողն իրականացնում է ծանուցման ընդունում և մշակում՝ Տեղեկատվական փոխգործակցության կանոնակարգին համապատասխան |
|
7 |
Արդյունքները |
ապրանքների փաստացի արտահանման վերաբերյալ տեղեկությունների մշակման մասին ծանուցումը մշակվել է |
«Ապրանքների փաստացի արտահանման վերաբերյալ տեղեկությունների չեղարկում» ընթացակարգը (P.CP.02.PRC.003)
44. «Ապրանքների փաստացի արտահանման վերաբերյալ տեղեկությունների չեղարկում» ընթացակարգի (P.CP.02.PRC.003) կատարման սխեման ներկայացված է 7-րդ նկարում:
Նկ. 7. «Ապրանքների փաստացի արտահանման վերաբերյալ տեղեկությունների չեղարկում» ընթացակարգի (P.CP.02.PRC.003) կատարման սխեման
45. «Ապրանքների փաստացի արտահանման վերաբերյալ տեղեկությունների չեղարկում» ընթացակարգը (P.CP.02.PRC.003) կատարվում է Եվրասիական տնտեսական հանձնաժողովի կոլեգիայի 2018 թվականի փետրվարի 7-ի թիվ 25 որոշմամբ հաստատված կարգով նախատեսված դեպքերում։
46. Առաջինը կատարվում է «Ապրանքների փաստացի արտահանման հաստատումը չեղարկելու վերաբերյալ տեղեկությունների ներկայացում» գործառնությունը (P.CP.02.OPR.007), որի կատարման արդյունքներով մեկնման վայրի լիազորված մարմնում ձևավորվում և ապրանքների բացթողում իրականացնող լիազորված մարմին են ներկայացվում ապրանքների փաստացի արտահանման հաստատումը չեղարկելու վերաբերյալ տեղեկություններ:
47. Ապրանքների փաստացի արտահանման հաստատումը չեղարկելու վերաբերյալ տեղեկություններն ապրանքների բացթողում իրականացնող լիազորված մարմնի կողմից ստանալու դեպքում կատարվում է «Ապրանքների փաստացի արտահանման հաստատումը չեղարկելու վերաբերյալ տեղեկությունների ընդունում և մշակում» գործառնությունը (P.CP.02.OPR.008), որի կատարման արդյունքներով իրականացվում են նշված տեղեկությունների ընդունումն ու մշակումը: Մեկնման վայրի լիազորված մարմին է ուղարկվում ապրանքների փաստացի արտահանման հաստատումը չեղարկելու վերաբերյալ տեղեկությունների մշակման մասին ծանուցում:
48. Ապրանքների փաստացի արտահանման հաստատումը չեղարկելու վերաբերյալ տեղեկությունների մշակման մասին ծանուցումը մեկնման վայրի լիազորված մարմնի կողմից ստանալու դեպքում կատարվում է «Ապրանքների փաստացի արտահանման հաստատումը չեղարկելու վերաբերյալ տեղեկությունների մշակման մասին ծանուցման ստացում» գործառնությունը (P.CP.02.OPR.009), որի կատարման արդյունքներով իրականացվում են նշված ծանուցման ընդունումն ու մշակումը:
49. «Ապրանքների փաստացի արտահանման վերաբերյալ տեղեկությունների չեղարկում» ընթացակարգի (P.CP.02.PRC.003) կատարման արդյունքն ապրանքների բացթողում իրականացնող լիազորված մարմնում ապրանքների փաստացի արտահանման հաստատումը չեղարկելու վերաբերյալ տեղեկությունների մշակումն է:
50. «Ապրանքների փաստացի արտահանման վերաբերյալ տեղեկությունների չեղարկում» ընթացակարգի (P.CP.02.PRC.003) շրջանակներում կատարվող ընդհանուր գործընթացի գործառնությունների ցանկը բերված է 15-րդ աղյուսակում։
Աղյուսակ 15
«Ապրանքների փաստացի արտահանման վերաբերյալ տեղեկությունների չեղարկում» ընթացակարգի (P.CP.02.PRC.003) շրջանակներում կատարվող ընդհանուր գործընթացի գործառնությունների ցանկը
|
Ծածկագրային նշագիրը |
Անվանումը |
Նկարագրությունը |
|
1 |
2 |
3 |
|
P.CP.02.OPR.007 |
ապրանքների փաստացի արտահանման հաստատումը չեղարկելու վերաբերյալ տեղեկությունների ներկայացում |
բերված է սույն կանոնների 16-րդ աղյուսակում |
|
P.CP.02.OPR.008 |
ապրանքների փաստացի արտահանման հաստատումը չեղարկելու վերաբերյալ տեղեկությունների ընդունում և մշակում |
բերված է սույն կանոնների 17-րդ աղյուսակում |
|
P.CP.02.OPR.009 |
ապրանքների փաստացի արտահանման հաստատումը չեղարկելու վերաբերյալ տեղեկությունների մշակման մասին ծանուցման ստացում |
բերված է սույն կանոնների 18-րդ աղյուսակում |
Աղյուսակ 16
«Ապրանքների փաստացի արտահանման հաստատումը չեղարկելու վերաբերյալ տեղեկությունների ներկայացում» գործառնության (P.CP.02.OPR.007) նկարագրությունը
|
Համարը՝ |
Տարրի նշագիրը |
Նկարագրությունը |
|
1 |
2 |
3 |
|
1 |
Ծածկագրային նշագիրը |
P.CP.02.OPR.007 |
|
2 |
Գործառնության անվանումը |
ապրանքների փաստացի արտահանման հաստատումը չեղարկելու վերաբերյալ տեղեկությունների ներկայացում |
|
3 |
Կատարողը |
մեկնման վայրի լիազորված մարմին |
|
4 |
Կատարման պայմանները |
կատարվում է Եվրասիական տնտեսական հանձնաժողովի կոլեգիայի 2018 թվականի փետրվարի 7-ի թիվ 25 որոշմամբ հաստատված կարգով նախատեսված դեպքերում |
|
5 |
Սահմանափակումները |
ապրանքների փաստացի արտահանման հաստատումը չեղարկելու վերաբերյալ տեղեկությունների ձևաչափն ու կառուցվածքը պետք է համապատասխանեն Էլեկտրոնային փաստաթղթերի և տեղեկությունների ձևաչափերի ու կառուցվածքների նկարագրությանը: |
|
6 |
Գործառնության նկարագրությունը |
կատարողը ձևավորում է ապրանքների փաստացի արտահանման հաստատումը չեղարկելու վերաբերյալ տեղեկությունները և դրանք ներկայացնում է ապրանքների բացթողում իրականացնող լիազորված մարմին՝ Տեղեկատվական փոխգործակցության կանոնակարգին համապատասխան |
|
7 |
Արդյունքները |
ապրանքների փաստացի արտահանման հաստատումը չեղարկելու վերաբերյալ տեղեկությունները ներկայացվել են ապրանքների բացթողում իրականացնող լիազորված մարմին |
Աղյուսակ 17
«Ապրանքների փաստացի արտահանման հաստատումը չեղարկելու վերաբերյալ տեղեկությունների ընդունում և մշակում» գործառնության (Р.СР.02.OPR.008) նկարագրությունը
|
Համարը՝ ը/կ |
Տարրի նշագիրը |
Նկարագրությունը |
|
1 |
2 |
3 |
|
1 |
Ծածկագրային նշագիրը |
P.CP.02.OPR.008 |
|
2 |
Գործառնության անվանումը |
ապրանքների փաստացի արտահանման հաստատումը չեղարկելու վերաբերյալ տեղեկությունների ընդունում և մշակում |
|
3 |
Կատարողը |
ապրանքների բացթողում իրականացնող լիազորված մարմին |
|
4 |
Կատարման պայմանները |
կատարվում է ապրանքների փաստացի արտահանման հաստատումը չեղարկելու վերաբերյալ տեղեկությունները կատարողի կողմից ստանալու դեպքում («Ապրանքների փաստացի արտահանման հաստատումը չեղարկելու վերաբերյալ տեղեկությունների ներկայացում» գործառնություն (P.CP.02.OPR.007)) |
|
5 |
Սահմանափակումները |
ներկայացված տեղեկությունների ձևաչափն ու կառուցվածքը պետք է համապատասխանեն Էլեկտրոնային փաստաթղթերի և տեղեկությունների ձևաչափերի ու կառուցվածքների նկարագրությանը: Էլեկտրոնային փաստաթղթի (տեղեկությունների) վավերապայմանները պետք է համապատասխանեն Տեղեկատվական փոխգործակցության կանոնակարգով նախատեսված պահանջներին |
|
6 |
Գործառնության նկարագրությունը |
կատարողն իրականացնում է ապրանքների փաստացի արտահանման հաստատումը չեղարկելու վերաբերյալ տեղեկությունների ընդունում և մշակում, ձևավորում և մեկնման վայրի լիազորված մարմին է ուղարկում նշված տեղեկությունների մշակման մասին ծանուցում |
|
7 |
Արդյունքները |
ապրանքների փաստացի արտահանման հաստատումը չեղարկելու վերաբերյալ տեղեկությունները մշակվել են, տեղեկությունների մշակման մասին ծանուցումն ուղարկվել է մեկնման վայրի լիազորված մարմին |
Աղյուսակ 18
«Ապրանքների փաստացի արտահանման հաստատումը չեղարկելու վերաբերյալ տեղեկությունների մշակման մասին ծանուցման ստացում» գործառնության (P.CP.02.OPR.009) նկարագրությունը
|
Համարը՝ |
Տարրի նշագիրը |
Նկարագրությունը |
|
1 |
2 |
3 |
|
1 |
Ծածկագրային նշագիրը |
P.CP.02.OPR.009 |
|
2 |
Գործառնության անվանումը |
ապրանքների փաստացի արտահանման հաստատումը չեղարկելու վերաբերյալ տեղեկությունների մշակման մասին ծանուցման ստացում |
|
3 |
Կատարողը |
մեկնման վայրի լիազորված մարմին |
|
4 |
Կատարման պայմանները |
կատարվում է ապրանքների փաստացի արտահանման հաստատումը չեղարկելու վերաբերյալ տեղեկությունների մշակման մասին ծանուցումը կատարողի կողմից ստանալու դեպքում («Ապրանքների փաստացի արտահանման հաստատումը չեղարկելու վերաբերյալ տեղեկությունների ընդունում և մշակում» գործառնություն (Р.СР.02.OPR.008)) |
|
5 |
Սահմանափակումները |
ծանուցման ձևաչափն ու կառուցվածքը պետք է համապատասխանեն Էլեկտրոնային փաստաթղթերի և տեղեկությունների ձևաչափերի ու կառուցվածքների նկարագրությանը |
|
6 |
Գործառնության նկարագրությունը |
կատարողն իրականացնում է ապրանքների փաստացի արտահանման հաստատումը չեղարկելու վերաբերյալ տեղեկությունների մշակման մասին ծանուցման ընդունում և մշակում՝ Տեղեկատվական փոխգործակցության կանոնակարգին համապատասխան |
|
7 |
Արդյունքները |
ապրանքների փաստացի արտահանման հաստատումը չեղարկելու վերաբերյալ տեղեկությունների մշակման մասին ծանուցումը մշակվել է |
«Ապրանքների փաստացի արտահանման վերաբերյալ տեղեկությունների ճշգրտում» ընթացակարգը (P.CP.02.PRC.005)
51. «Ապրանքների փաստացի արտահանման վերաբերյալ տեղեկությունների ճշգրտում» ընթացակարգի (P.CP.02.PRC.005) կատարման սխեման ներկայացված է 8-րդ նկարում:
Նկ. 8. «Ապրանքների փաստացի արտահանման վերաբերյալ տեղեկությունների ճշգրտում» ընթացակարգի (P.CP.02.PRC.005) կատարման սխեման
52. «Ապրանքների փաստացի արտահանման վերաբերյալ տեղեկությունների ճշգրտում» ընթացակարգը (P.CP.02.PRC.005) կատարվում է Եվրասիական տնտեսական հանձնաժողովի կոլեգիայի 2018 թվականի փետրվարի 7-ի թիվ 25 որոշմամբ հաստատված կարգով նախատեսված դեպքերում։
53. Առաջինը կատարվում է «Ապրանքների փաստացի արտահանման հաստատումը ճշգրտելու վերաբերյալ տեղեկությունների ներկայացում» գործառնությունը (P.CP.02.OPR.013), որի կատարման արդյունքներով մեկնման վայրի լիազորված մարմինը ձևավորում և ապրանքների բացթողում իրականացնող լիազորված մարմին է փոխանցում ապրանքների փաստացի արտահանման հաստատումը ճշգրտելու վերաբերյալ տեղեկություններ:
54. Ապրանքների փաստացի արտահանման հաստատումը ճշգրտելու վերաբերյալ տեղեկություններն ապրանքների բացթողում իրականացնող լիազորված մարմնի կողմից ստանալու դեպքում կատարվում է «Ապրանքների փաստացի արտահանման հաստատումը ճշգրտելու վերաբերյալ տեղեկությունների ընդունում և մշակում» գործառնությունը (P.CP.02.OPR.014), որի կատարման արդյունքներով մեկնման վայրի լիազորված մարմին է ներկայացվում ապրանքների փաստացի արտահանման հաստատումը ճշգրտելու վերաբերյալ տեղեկությունների մշակման մասին ծանուցում՝ Միության մաքսային տարածքի սահմաններից դուրս ապրանքների արտահանում նախատեսող մաքսային ընթացակարգին համապատասխան:
55. Ապրանքների փաստացի արտահանման հաստատումը ճշգրտելու վերաբերյալ տեղեկությունների մշակման մասին ծանուցումը մեկնման վայրի լիազորված մարմնի կողմից ստանալու դեպքում կատարվում է «Ապրանքների փաստացի արտահանման հաստատումը ճշգրտելու վերաբերյալ տեղեկությունների մշակման մասին ծանուցման ստացում» գործառնությունը (P.CP.02.OPR.015):
56. «Ապրանքների փաստացի արտահանման վերաբերյալ տեղեկությունների ճշգրտում» ընթացակարգի (P.CP.02.PRC.005) կատարման արդյունքն ապրանքների բացթողում իրականացնող լիազորված մարմնում ապրանքների փաստացի արտահանման հաստատումը ճշգրտելու վերաբերյալ տեղեկությունների մշակումն է:
57. «Ապրանքների փաստացի արտահանման վերաբերյալ տեղեկությունների ճշգրտում» ընթացակարգի (P.CP.02.PRC.005) շրջանակներում կատարվող ընդհանուր գործընթացի գործառնությունների ցանկը բերված է 19-րդ աղյուսակում։
Աղյուսակ 19
«Ապրանքների փաստացի արտահանման վերաբերյալ տեղեկությունների ճշգրտում» ընթացակարգի (P.CP.02.PRC.005) շրջանակներում կատարվող ընդհանուր գործընթացի գործառնությունների ցանկը
|
Ծածկագրային նշագիրը |
Անվանումը |
Նկարագրությունը |
|
1 |
2 |
3 |
|
P.CP.02.OPR.013 |
ապրանքների փաստացի արտահանման հաստատումը ճշգրտելու վերաբերյալ տեղեկությունների ներկայացում |
բերված է սույն կանոնների 20-րդ աղյուսակում |
|
P.CP.02.OPR.014 |
ապրանքների փաստացի արտահանման հաստատումը ճշգրտելու վերաբերյալ տեղեկությունների ընդունում և մշակում |
բերված է սույն կանոնների 21-րդ աղյուսակում |
|
P.CP.02.OPR.015 |
ապրանքների փաստացի արտահանման հաստատումը ճշգրտելու վերաբերյալ տեղեկությունների մշակման մասին ծանուցման ստացում |
բերված է սույն կանոնների 22-րդ աղյուսակում |
Աղյուսակ 20
«Ապրանքների փաստացի արտահանման հաստատումը ճշգրտելու վերաբերյալ տեղեկությունների ներկայացում» գործառնության (P.CP.02.OPR.013) նկարագրությունը
|
Համարը՝ |
Տարրի նշագիրը |
Նկարագրությունը |
|
1 |
2 |
3 |
|
1 |
Ծածկագրային նշագիրը |
P.CP.02.OPR.013 |
|
2 |
Գործառնության անվանումը |
ապրանքների փաստացի արտահանման հաստատումը ճշգրտելու վերաբերյալ տեղեկությունների ներկայացում |
|
3 |
Կատարողը |
մեկնման վայրի լիազորված մարմին |
|
4 |
Կատարման պայմանները |
կատարվում է Եվրասիական տնտեսական հանձնաժողովի կոլեգիայի 2018 թվականի փետրվարի 7-ի թիվ 25 որոշմամբ հաստատված կարգով նախատեսված դեպքերում |
|
5 |
Սահմանափակումները |
ապրանքի փաստացի արտահանման հաստատումը ճշգրտելու վերաբերյալ ներկայացվող տեղեկությունների ձևաչափն ու կառուցվածքը պետք է համապատասխանեն Էլեկտրոնային փաստաթղթերի և տեղեկությունների ձևաչափերի ու կառուցվածքների նկարագրությանը: Ապրանքների փաստացի արտահանման հաստատումը ճշգրտելու վերաբերյալ ներկայացվող տեղեկությունները պետք է վավերացվեն էլեկտրոնային թվային ստորագրությամբ (էլեկտրոնային ստորագրությամբ) |
|
6 |
Գործառնության նկարագրությունը |
կատարողը ձևավորում է ապրանքների փաստացի արտահանման հաստատումը ճշգրտելու վերաբերյալ տեղեկություններ պարունակող հաղորդագրությունը և ներկայացնում է ապրանքների բացթողում իրականացնող լիազորված մարմին՝ Տեղեկատվական փոխգործակցության կանոնակարգին համապատասխան |
|
7 |
Արդյունքները |
ապրանքների փաստացի արտահանման հաստատումը ճշգրտելու վերաբերյալ տեղեկությունները ներկայացվել են ապրանքների բացթողում իրականացնող լիազորված մարմին |
Աղյուսակ 21
«Ապրանքների փաստացի արտահանման հաստատումը ճշգրտելու վերաբերյալ տեղեկությունների ընդունում և մշակում» գործառնության (P.CP.02.OPR.014) նկարագրությունը
|
Համարը՝ |
Տարրի նշագիրը |
Նկարագրությունը |
|
1 |
2 |
3 |
|
1 |
Ծածկագրային նշագիրը |
P.CP.02.OPR.014 |
|
2 |
Գործառնության անվանումը |
ապրանքների փաստացի արտահանման հաստատումը ճշգրտելու վերաբերյալ տեղեկությունների ընդունում և մշակում |
|
3 |
Կատարողը |
ապրանքների բացթողում իրականացնող լիազորված մարմին |
|
4 |
Կատարման պայմանները |
կատարվում է ապրանքների փաստացի արտահանման հաստատումը ճշգրտելու վերաբերյալ տեղեկությունները կատարողի կողմից ստանալու դեպքում («Ապրանքների փաստացի արտահանման հաստատումը ճշգրտելու վերաբերյալ տեղեկությունների ներկայացում» գործառնություն (P.CP.02.OPR.013)) |
|
5 |
Սահմանափակումները |
ներկայացված տեղեկությունների ձևաչափն ու կառուցվածքը պետք է համապատասխանեն Էլեկտրոնային փաստաթղթերի և տեղեկությունների ձևաչափերի ու կառուցվածքների նկարագրությանը: Հաղորդագրությունը և էլեկտրոնային փաստաթուղթը (տեղեկությունները) պետք է համապատասխանեն էլեկտրոնային փաստաթղթի (տեղեկությունների) վավերապայմանների լրացմանը ներկայացվող՝ Տեղեկատվական փոխգործակցության կանոնակարգով նախատեսված պահանջներին |
|
6 |
Գործառնության նկարագրությունը |
կատարողն ընդունում է տեղեկությունները և ստուգում է դրանք՝ Տեղեկատվական փոխգործակցության կանոնակարգին համապատասխան, ձևավորում և մեկնման վայրի լիազորված մարմին է ուղարկում ապրանքների փաստացի արտահանման հաստատումը ճշգրտելու վերաբերյալ տեղեկությունների մշակման մասին ծանուցում |
|
7 |
Արդյունքները |
ապրանքների փաստացի արտահանման հաստատումը ճշգրտելու վերաբերյալ տեղեկությունները մշակվել են, ապրանքների փաստացի արտահանման հաստատումը ճշգրտելու վերաբերյալ տեղեկությունների մշակման մասին ծանուցում |
Աղյուսակ 22
«Ապրանքների փաստացի արտահանման հաստատումը ճշգրտելու վերաբերյալ տեղեկությունների մշակման մասին ծանուցման ստացում» գործառնության (P.CP.02.OPR.015) նկարագրությունը
|
Համարը՝ |
Տարրի նշագիրը |
Նկարագրությունը |
|
1 |
2 |
3 |
|
1 |
Ծածկագրային նշագիրը |
P.CP.02.OPR.015 |
|
2 |
Գործառնության անվանումը |
ապրանքների փաստացի արտահանման հաստատումը ճշգրտելու վերաբերյալ տեղեկությունների մշակման մասին ծանուցման ստացում |
|
3 |
Կատարողը |
մեկնման վայրի լիազորված մարմին |
|
4 |
Կատարման պայմանները |
կատարվում է ապրանքների փաստացի արտահանման հաստատումը ճշգրտելու վերաբերյալ տեղեկությունների մշակման մասին ծանուցումը կատարողի կողմից ստանալու դեպքում («Ապրանքների փաստացի արտահանման հաստատումը ճշգրտելու վերաբերյալ տեղեկությունների ընդունում և մշակում» գործառնություն (P.CP.02.OPR.014)) |
|
5 |
Սահմանափակումները |
ծանուցման ձևաչափն ու կառուցվածքը պետք է համապատասխանեն Էլեկտրոնային փաստաթղթերի և տեղեկությունների ձևաչափերի ու կառուցվածքների նկարագրությանը |
|
6 |
Գործառնության նկարագրությունը |
կատարողն իրականացնում է ծանուցման ընդունում և մշակում՝ Տեղեկատվական փոխգործակցության կանոնակարգին համապատասխան |
|
7 |
Արդյունքները |
ապրանքների փաստացի արտահանման հաստատումը ճշգրտելու վերաբերյալ տեղեկությունների մշակման մասին ծանուցումը մշակվել է |
2. Ապրանքների փաստացի արտահանման վերաբերյալ տեղեկություններն անդամ պետության լիազորված մարմնի հարցման հիման վրա ներկայացնելու ընթացակարգերը
«Ապրանքների փաստացի արտահանման վերաբերյալ տեղեկությունների հարցում» ընթացակարգը (P.CP.02.PRC.004)
58. «Ապրանքների փաստացի արտահանման վերաբերյալ տեղեկությունների հարցում» ընթացակարգի (P.CP.02.PRC.004) կատարման սխեման ներկայացված է 9-րդ նկարում:
Նկ. 9. «Ապրանքների փաստացի արտահանման վերաբերյալ տեղեկությունների հարցում» ընթացակարգի (P.CP.02.PRC.004) կատարման սխեման
59. «Ապրանքների փաստացի արտահանման վերաբերյալ տեղեկությունների հարցում» ընթացակարգը (P.CP.02.PRC.004) կատարվում է ապրանքների բացթողում իրականացնող լիազորված մարմնում ապրանքների փաստացի արտահանման վերաբերյալ տեղեկությունների բացակայության և արտաքին տնտեսական գործունեության մասնակցի կողմից հիմնավորված հայտ ներկայացնելու դեպքում՝ Միության մաքսային տարածքից ապրանքների փաստացի արտահանումը հաստատելու համար: Մի քանի անդամ պետությունների՝ մեկնման վայրի լիազորված մարմիններում տեղեկություններ ստանալու անհրաժեշտության դեպքում ընթացակարգը կատարվում է յուրաքանչյուր անդամ պետության համար առանձին: Բազմաշրջանառու տարայի առնչությամբ փաստացի արտահանման վերաբերյալ տեղեկությունների հարցումը չի իրականացվում։
60. Առաջինը կատարվում է «Ապրանքների փաստացի արտահանման վերաբերյալ տեղեկությունների հարցում» գործառնությունը (P.CP.02.OPR.010), որի կատարման արդյունքներով ապրանքների բացթողում իրականացնող լիազորված մարմնի կողմից ձևավորվում և մեկնման վայրի լիազորված մարմին է ուղարկվում ապրանքների փաստացի արտահանման վերաբերյալ տեղեկություններ ներկայացնելու հարցում:
61. Ապրանքների փաստացի արտահանման վերաբերյալ տեղեկություններ ներկայացնելու հարցումը մեկնման վայրի լիազորված մարմնի կողմից ստանալու դեպքում կատարվում է «Ապրանքների փաստացի արտահանման վերաբերյալ տեղեկությունների ներկայացում» գործառնությունը (P.CP.02.OPR.011), որի կատարման արդյունքներով ապրանքների բացթողում իրականացնող լիազորված մարմին են ներկայացվում ապրանքների փաստացի արտահանման վերաբերյալ տեղեկություններ, կամ ուղարկվում է հարցման պարամետրերը բավարարող տեղեկությունների բացակայության մասին ծանուցում:
62. Ապրանքների փաստացի արտահանման վերաբերյալ տեղեկությունները կամ հարցման պարամետրերը բավարարող տեղեկությունների բացակայության մասին ծանուցումն ապրանքների բացթողում իրականացնող լիազորված մարմնի կողմից ստանալու դեպքում կատարվում է «Ապրանքների փաստացի արտահանման վերաբերյալ հարցված տեղեկությունների ընդունում և մշակում» գործառնությունը (P.CP.02.OPR.012):
63. «Ապրանքների փաստացի արտահանման վերաբերյալ տեղեկությունների հարցում» ընթացակարգի (P.CP.02.PRC.004) կատարման արդյունքներն են ապրանքների փաստացի արտահանման վերաբերյալ տեղեկությունների կամ հարցման պարամետրերը բավարարող տեղեկությունների բացակայության մասին ծանուցման ընդունումը և մշակումն ապրանքների բացթողում իրականացնող լիազորված մարմնի կողմից:
64. «Ապրանքների փաստացի արտահանման վերաբերյալ տեղեկությունների հարցում» ընթացակարգի (P.CP.02.PRC.004) շրջանակներում կատարվող ընդհանուր գործընթացի գործառնությունների ցանկը բերված է 23-րդ աղյուսակում։
Աղյուսակ 23
«Ապրանքների փաստացի արտահանման վերաբերյալ տեղեկությունների հարցում» ընթացակարգի (P.CP.02.PRC.004) շրջանակներում կատարվող ընդհանուր գործընթացի գործառնությունների ցանկը
|
Ծածկագրային նշագիրը |
Անվանումը |
Նկարագրությունը |
|
1 |
2 |
3 |
|
P.CP.02.OPR.010 |
ապրանքների փաստացի արտահանման վերաբերյալ տեղեկությունների հարցում |
բերված է սույն կանոնների 24-րդ աղյուսակում |
|
P.CP.02.OPR.011 |
ապրանքների փաստացի արտահանման վերաբերյալ տեղեկությունների ներկայացում |
բերված է սույն կանոնների 25-րդ աղյուսակում |
|
P.CP.02.OPR.012 |
ապրանքների փաստացի արտահանման վերաբերյալ հարցված տեղեկությունների ընդունում և մշակում |
բերված է սույն կանոնների 26-րդ աղյուսակում |
Աղյուսակ 24
«Ապրանքների փաստացի արտահանման վերաբերյալ տեղեկությունների հարցում» գործառնության (P.CP.02.OPR.010) նկարագրությունը
|
Համարը՝ |
Տարրի նշագիրը |
Նկարագրությունը |
|
1 |
2 |
3 |
|
1 |
Ծածկագրային նշագիրը |
P.CP.02.OPR.010 |
|
2 |
Գործառնության անվանումը |
ապրանքների փաստացի արտահանման վերաբերյալ տեղեկությունների հարցում |
|
3 |
Կատարողը |
ապրանքների բացթողում իրականացնող լիազորված մարմին |
|
4 |
Կատարման պայմանները |
կատարվում է ապրանքների բացթողում իրականացնող լիազորված մարմնում ապրանքների փաստացի արտահանման վերաբերյալ տեղեկությունների բացակայության և արտաքին տնտեսական գործունեության մասնակցի կողմից հիմնավորված հայտ ներկայացվելու դեպքում՝ Միության մաքսային տարածքից ապրանքների փաստացի արտահանումը հաստատելու համար |
|
5 |
Սահմանափակումները |
հարցման ձևաչափն ու կառուցվածքը պետք է համապատասխանեն Էլեկտրոնային փաստաթղթերի և տեղեկությունների ձևաչափերի ու կառուցվածքների նկարագրությանը։ Հարցումը պետք է վավերացվի էլեկտրոնային թվային ստորագրությամբ (էլեկտրոնային ստորագրությամբ) |
|
6 |
Գործառնության նկարագրությունը |
կատարողը ձևավորում ու մեկնման վայրի լիազորված մարմին է փոխանցում ապրանքների փաստացի արտահանման վերաբերյալ տեղեկություններ ներկայացնելու հարցում՝ Տեղեկատվական փոխգործակցության կանոնակարգին համապատասխան |
|
7 |
Արդյունքները |
ապրանքների փաստացի արտահանման վերաբերյալ տեղեկություններ ներկայացնելու հարցումը փոխանցվել է մեկնման վայրի լիազորված մարմին |
Աղյուսակ 25
«Ապրանքների փաստացի արտահանման վերաբերյալ տեղեկությունների ներկայացում» գործառնության (P.CP.02.OPR.011) նկարագրությունը
|
Համարը՝ |
Տարրի նշագիրը |
Նկարագրությունը |
|
1 |
2 |
3 |
|
1 |
Ծածկագրային նշագիրը |
P.CP.02.OPR.011 |
|
2 |
Գործառնության անվանումը |
ապրանքների փաստացի արտահանման վերաբերյալ տեղեկությունների ներկայացում |
|
3 |
Կատարողը |
մեկնման վայրի լիազորված մարմին |
|
4 |
Կատարման պայմանները |
կատարվում է ապրանքների փաստացի արտահանման վերաբերյալ տեղեկություններ ներկայացնելու հարցումը կատարողի կողմից ստանալու դեպքում («Ապրանքների փաստացի արտահանման վերաբերյալ տեղեկությունների հարցում» գործառնություն (P.CP.02.OPR.010)) |
|
5 |
Սահմանափակումները |
ներկայացվող տեղեկությունների ձևաչափն ու կառուցվածքը պետք է համապատասխանեն Էլեկտրոնային փաստաթղթերի և տեղեկությունների ձևաչափերի ու կառուցվածքների նկարագրությանը |
|
6 |
Գործառնության նկարագրությունը |
կատարողն իրականացնում է հարցման մշակում՝ Տեղեկատվական փոխգործակցության կանոնակարգին համապատասխան, ձևավորում և ապրանքների բացթողում իրականացնող լիազորված մարմին է ներկայացնում ապրանքների փաստացի արտահանման վերաբերյալ տեղեկություններ: Հարցման պարամետրերը բավարարող՝ ապրանքների փաստացի արտահանման վերաբերյալ տեղեկությունների բացակայության դեպքում ապրանքների բացթողում իրականացնող լիազորված մարմին է ուղարկվում նշված տեղեկությունների բացակայության մասին ծանուցում |
|
7 |
Արդյունքները |
ապրանքների բացթողում իրականացնող լիազորված մարմին են ներկայացվել ապրանքների փաստացի արտահանման վերաբերյալ տեղեկություններ, կամ ուղարկվել է հարցման պարամետրերը բավարարող տեղեկությունների բացակայության մասին ծանուցում |
Աղյուսակ 26
«Ապրանքների փաստացի արտահանման վերաբերյալ հարցված տեղեկությունների ընդունում և մշակում» գործառնության (P.CP.02.OPR.012) նկարագրությունը
|
Համարը՝ |
Տարրի նշագիրը |
Նկարագրությունը |
|
1 |
2 |
3 |
|
1 |
Ծածկագրային նշագիրը |
P.CP.02.OPR.012 |
|
2 |
Գործառնության անվանումը |
ապրանքների փաստացի արտահանման վերաբերյալ հարցված տեղեկությունների ընդունում և մշակում |
|
3 |
Կատարողը |
ապրանքների բացթողում իրականացնող լիազորված մարմին |
|
4 |
Կատարման պայմանները |
կատարվում է ապրանքների փաստացի արտահանման վերաբերյալ տեղեկությունները կամ հարցման պարամետրերը բավարարող տեղեկությունների բացակայության մասին ծանուցումը կատարողի կողմից ստանալու դեպքում («Ապրանքների փաստացի արտահանման վերաբերյալ տեղեկությունների ներկայացում» գործառնություն (P.CP.02.OPR.011)) |
|
5 |
Սահմանափակումները |
ներկայացված տեղեկությունների կամ հարցման պարամետրերը բավարարող տեղեկությունների բացակայության մասին ծանուցման ձևաչափն ու կառուցվածքը պետք է համապատասխանեն Էլեկտրոնային փաստաթղթերի և տեղեկությունների ձևաչափերի ու կառուցվածքների նկարագրությանը: Էլեկտրոնային փաստաթղթի (տեղեկությունների) վավերապայմանները պետք է համապատասխանեն Տեղեկատվական փոխգործակցության կանոնակարգով նախատեսված պահանջներին |
|
6 |
Գործառնության նկարագրությունը |
կատարողն իրականացնում է ապրանքների փաստացի արտահանման վերաբերյալ տեղեկությունների կամ հարցման պարամետրերը բավարարող տեղեկությունների բացակայության մասին ծանուցման ընդունումն ու մշակումը |
|
7 |
Արդյունքները |
ապրանքների փաստացի արտահանման վերաբերյալ տեղեկությունները կամ հարցման պարամետրերը բավարարող տեղեկությունների բացակայության մասին ծանուցումը մշակվել են |
3. Միության անդամներ չհանդիսացող պետությունների տարածքներով ապրանքների հետագծման մասին ծանուցման ընթացակարգերը
«Փաստացի ժամանած ապրանքների հետագծման մասին ծանուցում» ընթացակարգը (P.CP.02.PRC.006)
65. «Փաստացի ժամանած ապրանքների հետագծման մասին ծանուցում» ընթացակարգի (P.CP.02.PRC.006) կատարման սխեման ներկայացված է 10-րդ նկարում:
Նկ. 10. «Փաստացի ժամանած ապրանքների հետագծման մասին ծանուցում» ընթացակարգի (P.CP.02.PRC.006) կատարման սխեման
66. «Փաստացի ժամանած ապրանքների հետագծման մասին ծանուցում» ընթացակարգը (P.CP.02.PRC.006) կատարվում է մաքսային հսկողության իրականացման արդյունքներով՝ մեկ անդամ պետությունում «արտահանում» մաքսային ընթացակարգին համապատասխան բաց թողնված Միության այն ապրանքների՝ մյուս անդամ պետության տարածքում տեղակայված՝ Միության մաքսային տարածք ժամանման վայր ժամանելու դեպքում, որոնք ժամանման վայր առաքվելու համար Միության մաքսային տարածքի մի մասից Միության մաքսային տարածքի մեկ այլ մաս փոխադրվել են Միության անդամներ չհանդիսացող պետությունների տարածքներով և (կամ) ծովով:
Միության մաքսային տարածք ապրանքների ժամանման վայրի և Միության մաքսային տարածքից դրանց մեկնման վայրի՝ տարբեր այն անդամ պետությունների տարածքներում տեղակայված լինելու դեպքում, որոնք չեն համապատասխանում այն անդամ պետությանը, որտեղ իրականացվել է ապրանքների բացթողումը, փաստացի ժամանած ապրանքների հետագծման վերաբերյալ տեղեկություններն ուղարկվում են նշված տեղեկատվության բոլոր ստացողներին (ապրանքների բացթողում իրականացրած լիազորված մարմին և մեկնման վայրի լիազորված մարմին)։ Ընդ որում, «Փաստացի ժամանած ապրանքների հետագծման մասին ծանուցում» ընթացակարգը (P.CP.02.PRC.006) յուրաքանչյուր անդամ պետության համար կատարվում է առանձին:
Միության մաքսային տարածք ապրանքների ժամանման վայրի և Միության մաքսային տարածքից դրանց մեկնման վայրի՝ մեկ անդամ պետության տարածքում տեղակայված լինելու դեպքում կամ Միության մաքսային տարածքից ապրանքների մեկնման վայրի՝ այն անդամ պետության տարածքում տեղակայված լինելու դեպքում, որտեղ իրականացվել է ապրանքների բացթողումը, փաստացի ժամանած ապրանքների հետագծման վերաբերյալ տեղեկություններն ուղարկվում են նշված տեղեկատվության միայն մեկ ստացողին՝ ապրանքների բացթողում իրականացրած լիազորված մարմին կամ ապրանքների հետագծումը ձևակերպող՝ մեկնման վայրի լիազորված մարմին:
67. Առաջինը կատարվում է «Փաստացի ժամանած ապրանքների հետագծման վերաբերյալ տեղեկությունների ներկայացում» գործառնությունը (P.CP.02.OPR.016), որի կատարման արդյունքներով ապրանքների հետագծումը ձևակերպող՝ ժամանման վայրի լիազորված մարմինը ձևավորում և փաստացի ժամանած ապրանքների հետագծման վերաբերյալ տեղեկություններ ստացող լիազորված մարմին է ուղարկում փաստացի ժամանած ապրանքների հետագծման վերաբերյալ տեղեկություններ:
68. Փաստացի ժամանած ապրանքների հետագծման վերաբերյալ տեղեկություններ ստացող լիազորված մարմնի կողմից փաստացի ժամանած ապրանքների հետագծման վերաբերյալ տեղեկություններ ստանալու դեպքում կատարվում է «Փաստացի ժամանած ապրանքների հետագծման վերաբերյալ տեղեկությունների ընդունում և մշակում» գործառնությունը (P.CP.02.OPR.017), որի կատարման արդյունքներով ապրանքների հետագծումը ձևակերպող՝ ժամանման վայրի լիազորված մարմին է ուղարկվում փաստացի ժամանած ապրանքների հետագծման վերաբերյալ տեղեկությունների մշակման մասին ծանուցում:
69. Փաստացի ժամանած ապրանքների հետագծման վերաբերյալ տեղեկությունների մշակման մասին ծանուցումն ապրանքների հետագծումը ձևակերպող՝ ժամանման վայրի լիազորված մարմնի կողմից ստանալու դեպքում կատարվում է «Փաստացի ժամանած ապրանքների հետագծման վերաբերյալ տեղեկությունների մշակման մասին ծանուցման ստացում» գործառնությունը (P.CP.02.OPR.018):
70. «Փաստացի ժամանած ապրանքների հետագծման մասին ծանուցում» ընթացակարգի (P.CP.02.PRC.006) կատարման արդյունքը փաստացի ժամանած ապրանքների հետագծման վերաբերյալ տեղեկություններ ստացող լիազորված մարմնի կողմից փաստացի ժամանած ապրանքների հետագծման վերաբերյալ տեղեկությունների մշակումն է։
71. «Փաստացի ժամանած ապրանքների հետագծման մասին ծանուցում» ընթացակարգի (P.CP.02.PRC.006) շրջանակներում կատարվող ընդհանուր գործընթացի գործառնությունների ցանկը բերված է 27-րդ աղյուսակում։
Աղյուսակ 27
«Փաստացի ժամանած ապրանքների հետագծման մասին ծանուցում» ընթացակարգի (P.CP.02.PRC.006) շրջանակներում կատարվող ընդհանուր գործընթացի գործառնությունների ցանկը
|
Ծածկագրային նշագիրը |
Անվանումը |
Նկարագրությունը |
|
1 |
2 |
3 |
|
P.CP.02.OPR.016 |
փաստացի ժամանած ապրանքների հետագծման վերաբերյալ տեղեկությունների ներկայացում |
բերված է սույն կանոնների 28-րդ աղյուսակում |
|
P.CP.02.OPR.017 |
փաստացի ժամանած ապրանքների հետագծման վերաբերյալ տեղեկությունների ընդունում և մշակում |
բերված է սույն կանոնների 29-րդ աղյուսակում |
|
P.CP.02.OPR.018 |
փաստացի ժամանած ապրանքների հետագծման վերաբերյալ տեղեկությունների մշակման մասին ծանուցման ստացում |
բերված է սույն կանոնների 30-րդ աղյուսակում |
Աղյուսակ 28
«Փաստացի ժամանած ապրանքների հետագծման վերաբերյալ տեղեկությունների ներկայացում» գործառնության (P.CP.02.OPR.016) նկարագրությունը
|
Համարը՝ |
Տարրի նշագիրը |
Նկարագրությունը |
|
1 |
2 |
3 |
|
1 |
Ծածկագրային նշագիրը |
P.CP.02.OPR.016 |
|
2 |
Գործառնության անվանումը |
փաստացի ժամանած ապրանքների հետագծման վերաբերյալ տեղեկությունների ներկայացում |
|
3 |
Կատարողը |
ապրանքների հետագծումը ձևակերպող՝ ժամանման վայրի լիազորված մարմին |
|
4 |
Կատարման պայմանները |
մաքսային հսկողության իրականացման արդյունքներով՝ մեկ անդամ պետությունում «արտահանում» մաքսային ընթացակարգին համապատասխան բաց թողնված Միության այն ապրանքների՝ մյուս անդամ պետության տարածքում տեղակայված՝ Միության մաքսային տարածք ժամանման վայր ժամանելու դեպքում, որոնք ժամանման վայր առաքվելու համար Միության մաքսային տարածքի մի մասից Միության մաքսային տարածքի մեկ այլ մաս փոխադրվել են Միության անդամներ չհանդիսացող պետությունների տարածքներով և (կամ) ծովով |
|
5 |
Սահմանափակումները |
փաստացի ժամանած ապրանքների հետագծման վերաբերյալ տեղեկությունների ձևաչափն ու կառուցվածքը պետք է համապատասխանեն Էլեկտրոնային փաստաթղթերի և տեղեկությունների ձևաչափերի ու կառուցվածքների նկարագրությանը: Փաստացի ժամանած ապրանքների հետագծման վերաբերյալ տեղեկություններ պարունակող հաղորդագրությունը պետք է վավերացվի էլեկտրոնային թվային ստորագրությամբ (էլեկտրոնային ստորագրությամբ) |
|
6 |
Գործառնության նկարագրությունը |
կատարողը ձևավորում և փաստացի ժամանած ապրանքների հետագծման վերաբերյալ տեղեկություններ ստացող լիազորված մարմին է ուղարկում փաստացի ժամանած ապրանքների հետագծման վերաբերյալ տեղեկություններ՝ Տեղեկատվական փոխգործակցության կանոնակարգին համապատասխան |
|
7 |
Արդյունքները |
փաստացի ժամանած ապրանքների հետագծման վերաբերյալ տեղեկություններն ուղարկվել են փաստացի ժամանած ապրանքների հետագծման վերաբերյալ տեղեկություններ ստացող լիազորված մարմին |
Աղյուսակ 29
«Փաստացի ժամանած ապրանքների հետագծման վերաբերյալ տեղեկությունների ընդունում և մշակում» գործառնության (P.CP.02.OPR.017) նկարագրությունը
|
Համարը՝ |
Տարրի նշագիրը |
Նկարագրությունը |
|
1 |
2 |
3 |
|
1 |
Ծածկագրային նշագիրը |
P.CP.02.OPR.017 |
|
2 |
Գործառնության անվանումը |
փաստացի ժամանած ապրանքների հետագծման վերաբերյալ տեղեկությունների ընդունում և մշակում |
|
3 |
Կատարողը |
փաստացի ժամանած ապրանքների հետագծման վերաբերյալ տեղեկություններ ստացող լիազորված մարմին |
|
4 |
Կատարման պայմանները |
կատարվում է փաստացի ժամանած ապրանքների էլեկտրոնային հետագծումը կատարողի կողմից ստանալու դեպքում («Փաստացի ժամանած ապրանքների հետագծման վերաբերյալ տեղեկությունների ներկայացում» գործառնություն (P.CP.02.OPR.016)) |
|
5 |
Սահմանափակումները |
փաստացի ժամանած ապրանքների հետագծման վերաբերյալ տեղեկությունների ձևաչափն ու կառուցվածքը պետք է համապատասխանեն Էլեկտրոնային փաստաթղթերի և տեղեկությունների ձևաչափերի ու կառուցվածքների նկարագրությանը: Փաստացի ժամանած ապրանքների հետագծման վերաբերյալ տեղեկություններ պարունակող հաղորդագրությունը պետք է վավերացվի էլեկտրոնային թվային ստորագրությամբ (էլեկտրոնային ստորագրությամբ) |
|
6 |
Գործառնության նկարագրությունը |
կատարողն իրականացնում է փաստացի ժամանած ապրանքների հետագծման վերաբերյալ տեղեկությունների ընդունում և մշակում, ձևավորում և ապրանքների հետագծումը ձևակերպող՝ ժամանման վայրի լիազորված մարմին է ուղարկում նշված տեղեկությունների մշակման մասին ծանուցում |
|
7 |
Արդյունքները |
փաստացի ժամանած ապրանքների հետագծման վերաբերյալ տեղեկությունները մշակվել են, փաստացի ժամանած ապրանքների հետագծման վերաբերյալ տեղեկությունների մշակման մասին ծանուցումն ուղարկվել է ապրանքների հետագծումը ձևակերպող՝ ժամանման վայրի լիազորված մարմին |
Աղյուսակ 30
«Փաստացի ժամանած ապրանքների հետագծման վերաբերյալ տեղեկությունների մշակման մասին ծանուցման ստացում» գործառնության (P.CP.02.OPR.018) նկարագրությունը
|
Համարը՝ |
Տարրի նշագիրը |
Նկարագրությունը |
|
1 |
2 |
3 |
|
1 |
Ծածկագրային նշագիրը |
P.CP.02.OPR.018 |
|
2 |
Գործառնության անվանումը |
փաստացի ժամանած ապրանքների հետագծման վերաբերյալ տեղեկությունների մշակման մասին ծանուցման ստացում |
|
3 |
Կատարողը |
ապրանքների հետագծումը ձևակերպող՝ ժամանման վայրի լիազորված մարմին |
|
4 |
Կատարման պայմանները |
կատարվում է փաստացի ժամանած ապրանքների էլեկտրոնային հետագծումը մշակելու մասին ծանուցումը կատարողի կողմից ստանալու դեպքում («Փաստացի ժամանած ապրանքների հետագծման վերաբերյալ տեղեկությունների ընդունում և մշակում» գործառնություն (P.CP.02.OPR.017)) |
|
5 |
Սահմանափակումները |
ծանուցման ձևաչափն ու կառուցվածքը պետք է համապատասխանեն Էլեկտրոնային փաստաթղթերի և տեղեկությունների ձևաչափերի ու կառուցվածքների նկարագրությանը։ |
|
6 |
Գործառնության նկարագրությունը |
կատարողն իրականացնում է փաստացի ժամանած ապրանքների հետագծման վերաբերյալ տեղեկությունների մշակման մասին ծանուցման ընդունումն ու մշակումը |
|
7 |
Արդյունքները |
փաստացի ժամանած ապրանքների հետագծման վերաբերյալ տեղեկությունների մշակման մասին ծանուցումը մշակվել է |
«Փաստացի մեկնող ապրանքների հետագծման մասին ծանուցում» ընթացակարգը (P.CP.02.PRC.007)
72. «Փաստացի մեկնող ապրանքների հետագծման մասին ծանուցում» ընթացակարգի (P.CP.02.PRC.007) կատարման սխեման ներկայացված է 11-րդ նկարում:
Նկ. 11. «Փաստացի մեկնող ապրանքների հետագծման մասին ծանուցում» ընթացակարգի (P.CP.02.PRC.007) կատարման սխեման
73. «Փաստացի մեկնող ապրանքների հետագծման մասին ծանուցում» ընթացակարգը (P.CP.02.PRC.007) կատարվում է մաքսային հսկողության իրականացման արդյունքներով՝ մեկ անդամ պետությունում «արտահանում» մաքսային ընթացակարգին համապատասխան բաց թողնված Միության այն ապրանքների՝ մյուս անդամ պետության տարածքում տեղակայված՝ Միության մաքսային տարածքից մեկնման վայրից մեկնելու դեպքում, որոնք մեկնման վայր առաքվելու համար Միության մաքսային տարածքի մի մասից Միության մաքսային տարածքի մեկ այլ մաս փոխադրվելու են Միության անդամներ չհանդիսացող պետությունների տարածքներով և (կամ) ծովով:
Եթե Միության մաքսային տարածքից ապրանքների մեկնման վայրը և Միության մաքսային տարածք ապրանքների ժամանման վայրը տեղակայված են տարբեր անդամ պետությունների տարածքներում, որոնք չեն համապատասխանում այն անդամ պետությանը, որտեղ իրականացվել է ապրանքների բացթողումը, ապա փաստացի մեկնող ապրանքների հետագծման վերաբերյալ տեղեկություններն ուղարկվում են նշված տեղեկատվության բոլոր ստացողներին (ապրանքների բացթողում իրականացրած լիազորված մարմին և ապրանքների հետագծումը ձևակերպող՝ ժամանման վայրի լիազորված մարմին): Ընդ որում, «Փաստացի մեկնող ապրանքների հետագծման մասին ծանուցում» ընթացակարգը (P.CP.02.PRC.007) յուրաքանչյուր անդամ պետության համար կատարվում է առանձին:
Եթե Միության մաքսային տարածքից ապրանքների մեկնման վայրը և Միության մաքսային տարածք ապրանքների ժամանման վայրը տեղակայված են մեկ անդամ պետության տարածքում, կամ եթե Միության մաքսային տարածք ապրանքների ժամանման վայրը տեղակայված է այն անդամ պետության տարածքում, որտեղ իրականացվել է ապրանքների բացթողումը, ապա փաստացի մեկնող ապրանքների հետագծման վերաբերյալ տեղեկություններն ուղարկվում են նշված տեղեկատվության միայն մեկ ստացողին՝ ապրանքների բացթողում իրականացրած լիազորված մարմին կամ ապրանքների հետագծումը ձևակերպող՝ ժամանման վայրի լիազորված մարմին:
74. Առաջինը կատարվում է «Փաստացի մեկնող ապրանքների հետագծման վերաբերյալ տեղեկությունների ներկայացում» գործառնությունը (P.CP.02.OPR.019), որի կատարման արդյունքներով ապրանքների հետագծումը ձևակերպող՝ մեկնման վայրի լիազորված մարմինը ձևավորում և փաստացի մեկնող ապրանքների հետագծման վերաբերյալ տեղեկություններ ստացող լիազորված մարմին է ուղարկում փաստացի մեկնող ապրանքների հետագծման վերաբերյալ տեղեկություններ:
75. Փաստացի մեկնող ապրանքների հետագծման վերաբերյալ տեղեկություններ ստացող լիազորված մարմնի կողմից ... ստանալու դեպքում կատարվում է «Փաստացի մեկնող ապրանքների հետագծման վերաբերյալ տեղեկությունների ընդունում և մշակում» գործառնությունը (P.CP.02.OPR.020), որի կատարման արդյունքներով ապրանքների հետագծումը ձևակերպող՝ մեկնման վայրի լիազորված մարմին է ուղարկվում փաստացի մեկնող ապրանքների հետագծման վերաբերյալ տեղեկությունների մշակման մասին ծանուցում:
76. Փաստացի մեկնող ապրանքների հետագծման վերաբերյալ տեղեկությունների մշակման մասին ծանուցում ստանալու դեպքում կատարվում է «Փաստացի մեկնող ապրանքների հետագծման վերաբերյալ տեղեկությունների մշակման մասին ծանուցման ստացում» գործառնությունը (P.CP.02.OPR.021):
77. «Փաստացի մեկնող ապրանքների հետագծման մասին ծանուցում» ընթացակարգի (P.CP.02.PRC.007) կատարման արդյունքը փաստացի մեկնող ապրանքների հետագծման վերաբերյալ տեղեկություններ ստացող լիազորված մարմնի կողմից փաստացի մեկնող ապրանքների հետագծման վերաբերյալ տեղեկությունների մշակումն է:
78. «Փաստացի մեկնող ապրանքների հետագծման մասին ծանուցում» ընթացակարգի (P.CP.02.PRC.007) շրջանակներում կատարվող ընդհանուր գործընթացի գործառնությունների ցանկը բերված է 31-րդ աղյուսակում։
Աղյուսակ 31
«Փաստացի մեկնող ապրանքների հետագծման մասին ծանուցում» ընթացակարգի (P.CP.02.PRC.007) շրջանակներում կատարվող ընդհանուր գործընթացի գործառնությունների ցանկը
|
Ծածկագրային նշագիրը |
Անվանումը |
Նկարագրությունը |
|
1 |
2 |
3 |
|
P.CP.02.OPR.019 |
փաստացի մեկնող ապրանքների հետագծման վերաբերյալ տեղեկությունների ներկայացում |
բերված է սույն կանոնների 32-րդ աղյուսակում |
|
P.CP.02.OPR.020 |
փաստացի մեկնող ապրանքների հետագծման վերաբերյալ տեղեկությունների ընդունում և մշակում |
բերված է սույն կանոնների 33-րդ աղյուսակում |
|
P.CP.02.OPR.021 |
փաստացի մեկնող ապրանքների հետագծման վերաբերյալ տեղեկությունների մշակման մասին ծանուցման ստացում |
բերված է սույն կանոնների 34-րդ աղյուսակում |
Աղյուսակ 32
«Փաստացի մեկնող ապրանքների հետագծման վերաբերյալ տեղեկությունների ներկայացում» գործառնության (P.CP.02.OPR.019) նկարագրությունը
|
Համարը՝ |
Տարրի նշագիրը |
Նկարագրությունը |
|
1 |
2 |
3 |
|
1 |
Ծածկագրային նշագիրը |
P.CP.02.OPR.019 |
|
2 |
Գործառնության անվանումը |
փաստացի մեկնող ապրանքների հետագծման վերաբերյալ տեղեկությունների ներկայացում |
|
3 |
Կատարողը |
ապրանքների հետագծումը ձևակերպող՝ մեկնման վայրի լիազորված մարմին |
|
4 |
Կատարման պայմանները |
կատարվում է մաքսային հսկողության իրականացման արդյունքներով՝ մեկ անդամ պետությունում «արտահանում» մաքսային ընթացակարգին համապատասխան բաց թողնված Միության այն ապրանքների՝ մյուս անդամ պետության տարածքում տեղակայված՝ Միության մաքսային տարածքից մեկնման վայրից մեկնելու դեպքում, որոնք մեկնման վայր առաքվելու համար Միության մաքսային տարածքի մի մասից Միության մաքսային տարածքի մեկ այլ մաս փոխադրվելու են Միության անդամներ չհանդիսացող պետությունների տարածքներով և (կամ) ծովով |
|
5 |
Սահմանափակումները |
փաստացի մեկնող ապրանքների հետագծման վերաբերյալ տեղեկությունների ձևաչափն ու կառուցվածքը պետք է համապատասխանեն Էլեկտրոնային փաստաթղթերի և տեղեկությունների ձևաչափերի ու կառուցվածքների նկարագրությանը |
|
6 |
Գործառնության նկարագրությունը |
կատարողը ձևավորում և փաստացի մեկնող ապրանքների հետագծման վերաբերյալ տեղեկություններ ստացող լիազորված մարմին է ուղարկում փաստացի մեկնող ապրանքների հետագծման վերաբերյալ տեղեկություններ՝ Տեղեկատվական փոխգործակցության կանոնակարգին համապատասխան |
|
7 |
Արդյունքները |
փաստացի մեկնող ապրանքների հետագծման վերաբերյալ տեղեկություններն ուղարկվել են փաստացի մեկնող ապրանքների հետագծման վերաբերյալ տեղեկություններ ստացող լիազորված մարմին |
Աղյուսակ 33
«Փաստացի մեկնող ապրանքների հետագծման վերաբերյալ տեղեկությունների ընդունում և մշակում» գործառնության (P.CP.02.OPR.020) նկարագրությունը
|
Համարը՝ |
Տարրի նշագիրը |
Նկարագրությունը |
|
1 |
2 |
3 |
|
1 |
Ծածկագրային նշագիրը |
P.CP.02.OPR.020 |
|
2 |
Գործառնության անվանումը |
փաստացի մեկնող ապրանքների հետագծման վերաբերյալ տեղեկությունների ընդունում և մշակում |
|
3 |
Կատարողը |
փաստացի մեկնող ապրանքների հետագծման վերաբերյալ տեղեկություններ ստացող լիազորված մարմին |
|
4 |
Կատարման պայմանները |
կատարվում է փաստացի մեկնող ապրանքների հետագծման վերաբերյալ տեղեկությունները կատարողի կողմից ստանալու դեպքում («Փաստացի մեկնող ապրանքների հետագծման վերաբերյալ տեղեկությունների ներկայացում» գործառնություն (P.CP.02.OPR.019)) |
|
5 |
Սահմանափակումները |
փաստացի մեկնող ապրանքների հետագծման վերաբերյալ տեղեկությունների ձևաչափն ու կառուցվածքը պետք է համապատասխանեն Էլեկտրոնային փաստաթղթերի և տեղեկությունների ձևաչափերի ու կառուցվածքների նկարագրությանը |
|
6 |
Գործառնության նկարագրությունը |
կատարողն իրականացնում է փաստացի մեկնող ապրանքների հետագծման վերաբերյալ տեղեկությունների ընդունում և մշակում, ձևավորում և ապրանքների հետագծումը ձևակերպող՝ մեկնման վայրի լիազորված մարմին է ուղարկում փաստացի մեկնող ապրանքների հետագծման վերաբերյալ տեղեկությունների մշակման մասին ծանուցում |
|
7 |
Արդյունքները |
փաստացի մեկնող ապրանքների հետագծման վերաբերյալ տեղեկությունները մշակվել են, փաստացի մեկնող ապրանքների հետագծման վերաբերյալ տեղեկությունների մշակման մասին ծանուցումն ուղարկվել է ապրանքների հետագծումը ձևակերպող՝ մեկնման վայրի լիազորված մարմին |
Աղյուսակ 34
«Փաստացի մեկնող ապրանքների հետագծման վերաբերյալ տեղեկությունների մշակման մասին ծանուցման ստացում» գործառնության (P.CP.02.OPR.021) նկարագրությունը
|
Համարը՝ |
Տարրի նշագիրը |
Նկարագրությունը |
|
1 |
2 |
3 |
|
1 |
Ծածկագրային նշագիրը |
P.CP.02.OPR.021 |
|
2 |
Գործառնության անվանումը |
փաստացի մեկնող ապրանքների հետագծման վերաբերյալ տեղեկությունների մշակման մասին ծանուցման ստացում |
|
3 |
Կատարողը |
ապրանքների հետագծումը ձևակերպող՝ մեկնման վայրի լիազորված մարմին |
|
4 |
Կատարման պայմանները |
կատարվում է փաստացի մեկնող ապրանքների հետագծման վերաբերյալ տեղեկությունների մշակման մասին ծանուցումը կատարողի կողմից ստանալու դեպքում («Փաստացի մեկնող ապրանքների հետագծման վերաբերյալ տեղեկությունների ընդունում և մշակում» գործառնություն (P.CP.02.OPR.020)) |
|
5 |
Սահմանափակումները |
ծանուցման ձևաչափն ու կառուցվածքը պետք է համապատասխանեն Էլեկտրոնային փաստաթղթերի և տեղեկությունների ձևաչափերի ու կառուցվածքների նկարագրությանը |
|
6 |
Գործառնության նկարագրությունը |
կատարողն իրականացնում է փաստացի մեկնող ապրանքների հետագծման վերաբերյալ տեղեկությունների մշակման մասին ծանուցման ընդունում և մշակում՝ Տեղեկատվական փոխգործակցության կանոնակարգին համապատասխան |
|
7 |
Արդյունքները |
փաստացի մեկնող ապրանքների հետագծման վերաբերյալ տեղեկությունների մշակման մասին ծանուցումը մշակվել է |
«Եվրասիական տնտեսական միության մաքսային տարածքից ապրանքների մեկնման վերաբերյալ տեղեկությունների հարցում» ընթացակարգը (P.CP.02.PRC.008)
79. «Եվրասիական տնտեսական միության մաքսային տարածքից ապրանքների մեկնման վերաբերյալ տեղեկությունների հարցում» ընթացակարգի (P.CP.02.PRC.008) կատարման սխեման ներկայացված է 12-րդ նկարում։
Նկ. 12. «Եվրասիական տնտեսական միության մաքսային տարածքից ապրանքների մեկնման վերաբերյալ տեղեկությունների հարցում» ընթացակարգի (P.CP.02.PRC.008) կատարման սխեման
80. «Եվրասիական տնտեսական միության մաքսային տարածքից ապրանքների մեկնման վերաբերյալ տեղեկությունների հարցում» ընթացակարգը (P.CP.02.PRC.008) կատարվում է մեկ անդամ պետությունում «արտահանում» մաքսային ընթացակարգին համապատասխան բաց թողնված Միության այն ապրանքների՝ մյուս անդամ պետության տարածքում տեղակայված՝ Միության մաքսային տարածք ժամանման վայր ժամանելու դեպքում, որոնք մեկնման վայր առաքվելու համար Միության մաքսային տարածքի մի մասից Միության մաքսային տարածքի մեկ այլ մաս փոխադրվել են Միության անդամներ չհանդիսացող պետությունների տարածքներով և (կամ) ծովով: Ընթացակարգը կատարվում է ժամանման վայրում տեղակայված մաքսային մարմնում մեկնող ապրանքների հետագծման վերաբերյալ տեղեկությունների բացակայության դեպքում։
81. Առաջինը կատարվում է «Եվրասիական տնտեսական միության մաքսային տարածքից ապրանքների մեկնման վերաբերյալ տեղեկությունների հարցման ձևավորում և ուղարկում» գործառնությունը (P.CP.02.OPR.022), որի կատարման արդյունքներով ապրանքների հետագծումը ձևակերպող՝ ժամանման վայրի լիազորված մարմինը ձևավորում և ապրանքների հետագծումը ձևակերպող՝ մեկնման վայրի լիազորված մարմին է ուղարկում ապրանքների մեկնման վերաբերյալ տեղեկություններ ներկայացնելու հարցում՝ ապրանքների հայտարարագրի գրանցման համարի նշմամբ։
82. Ապրանքների մեկնման վերաբերյալ տեղեկություններ ներկայացնելու հարցումն ապրանքների հետագծումը ձևակերպող՝ մեկնման վայրի լիազորված մարմնի կողմից ստանալու դեպքում կատարվում է «Եվրասիական տնտեսական միության մաքսային տարածքից ապրանքների մեկնման վերաբերյալ տեղեկությունների ներկայացում» գործառնությունը (P.CP.02.OPR.023), որի կատարման արդյունքներով ապրանքների հետագծումը ձևակերպող՝ ժամանման վայրի լիազորված մարմին են ներկայացվում փաստացի մեկնող ապրանքների հետագծման վերաբերյալ տեղեկություններ, կամ ուղարկվում է հարցման պարամետրերը բավարարող տեղեկությունների բացակայության մասին ծանուցում:
83. Փաստացի մեկնող ապրանքների հետագծման վերաբերյալ տեղեկությունները կամ հարցման պարամետրերը բավարարող տեղեկությունների բացակայության մասին ծանուցումն ապրանքների հետագծումը ձևակերպող՝ ժամանման վայրի լիազորված մարմնի կողմից ստանալու դեպքում կատարվում է «Ապրանքների մեկնման վերաբերյալ հարցված տեղեկությունների ընդունում և մշակում» գործառնությունը (P.CP.02.OPR.024):
84. «Եվրասիական տնտեսական միության մաքսային տարածքից ապրանքների մեկնման վերաբերյալ տեղեկությունների հարցում» ընթացակարգի (P.CP.02.PRC.008) կատարման արդյունքներն են փաստացի մեկնող ապրանքների հետագծման վերաբերյալ տեղեկությունների կամ հարցման պարամետրերը բավարարող տեղեկությունների բացակայության մասին ծանուցման ընդունումը և մշակումն ապրանքների հետագծումը ձևակերպող՝ ժամանման վայրի լիազորված մարմնի կողմից:
85. «Եվրասիական տնտեսական միության մաքսային տարածքից ապրանքների մեկնման վերաբերյալ տեղեկությունների հարցում» ընթացակարգի (P.CP.02.PRC.008) շրջանակներում կատարվող ընդհանուր գործընթացի գործառնությունների ցանկը բերված է 35-րդ աղյուսակում:
Աղյուսակ 35
«Եվրասիական տնտեսական միության մաքսային տարածքից ապրանքների մեկնման վերաբերյալ տեղեկությունների հարցում» ընթացակարգի (P.CP.02.PRC.008) շրջանակներում կատարվող ընդհանուր գործընթացի գործառնությունների ցանկը
|
Ծածկագրային նշագիրը |
Անվանումը |
Նկարագրությունը |
|
1 |
2 |
3 |
|
P.CP.02.OPR.022 |
Եվրասիական տնտեսական միության մաքսային տարածքից ապրանքների մեկնման վերաբերյալ տեղեկությունների հարցման ձևավորում և ուղարկում |
բերված է սույն կանոնների 36-րդ աղյուսակում |
|
P.CP.02.OPR.023 |
Եվրասիական տնտեսական միության մաքսային տարածքից ապրանքների մեկնման վերաբերյալ տեղեկությունների ներկայացում |
բերված է սույն կանոնների 37-րդ աղյուսակում |
|
P.CP.02.OPR.024 |
ապրանքների մեկնման վերաբերյալ հարցված տեղեկությունների ընդունում և մշակում |
բերված է սույն կանոնների 38-րդ աղյուսակում |
Աղյուսակ 36
«Եվրասիական տնտեսական միության մաքսային տարածքից ապրանքների մեկնման վերաբերյալ տեղեկությունների հարցման ձևավորում և ուղարկում» գործառնության (P.CP.02.OPR.022) նկարագրությունը
|
Համարը՝ |
Տարրի նշագիրը |
Նկարագրությունը |
|
1 |
2 |
3 |
|
1 |
Ծածկագրային նշագիրը |
P.CP.02.OPR.022 |
|
2 |
Գործառնության անվանումը |
Եվրասիական տնտեսական միության մաքսային տարածքից ապրանքների մեկնման վերաբերյալ տեղեկությունների հարցման ձևավորում և ուղարկում |
|
3 |
Կատարողը |
ապրանքների հետագծումը ձևակերպող՝ ժամանման վայրի լիազորված մարմին |
|
4 |
Կատարման պայմանները |
կատարվում է մեկ անդամ պետությունում «արտահանում» մաքսային ընթացակարգին համապատասխան բաց թողնված Միության այն ապրանքների՝ մյուս անդամ պետության տարածքում տեղակայված՝ Միության մաքսային տարածք ժամանման վայր ժամանելու դեպքում, որոնք մեկնման վայր առաքվելու համար Միության մաքսային տարածքի մի մասից Միության մաքսային տարածքի մեկ այլ մաս փոխադրվել են Միության անդամներ չհանդիսացող պետությունների տարածքներով և (կամ) ծովով, ժամանման վայրում տեղակայված մաքսային մարմնում մեկնող ապրանքների հետագծման վերաբերյալ տեղեկությունների բացակայության դեպքում |
|
5 |
Սահմանափակումները |
հարցման ձևաչափն ու կառուցվածքը պետք է համապատասխանեն Էլեկտրոնային փաստաթղթերի և տեղեկությունների ձևաչափերի ու կառուցվածքների նկարագրությանը։ Հարցումը պետք է վավերացվի էլեկտրոնային թվային ստորագրությամբ (էլեկտրոնային ստորագրությամբ) |
|
6 |
Գործառնության նկարագրությունը |
կատարողը ձևավորում ու ապրանքների հետագծումը ձևակերպող՝ մեկնման վայրի լիազորված մարմին է ուղարկում ապրանքների մեկնման վերաբերյալ տեղեկություններ ներկայացնելու հարցում՝ Տեղեկատվական փոխգործակցության կանոնակարգին համապատասխան |
|
7 |
Արդյունքները |
ապրանքների մեկնման վերաբերյալ տեղեկություններ ներկայացնելու հարցումն ուղարկվել է ապրանքների հետագծումը ձևակերպող՝ մեկնման վայրի լիազորված մարմին |
Աղյուսակ 37
«Եվրասիական տնտեսական միության մաքսային տարածքից ապրանքների մեկնման վերաբերյալ տեղեկությունների ներկայացում» գործառնության (P.CP.02.OPR.023) նկարագրությունը
|
Համարը՝ |
Տարրի նշագիրը |
Նկարագրությունը |
|
1 |
2 |
3 |
|
1 |
Ծածկագրային նշագիրը |
P.CP.02.OPR.023 |
|
2 |
Գործառնության անվանումը |
Եվրասիական տնտեսական միության մաքսային տարածքից ապրանքների մեկնման վերաբերյալ տեղեկությունների ներկայացում |
|
3 |
Կատարողը |
ապրանքների հետագծումը ձևակերպող՝ մեկնման վայրի լիազորված մարմին |
|
4 |
Կատարման պայմանները |
կատարվում է ապրանքների մեկնման վերաբերյալ տեղեկություններ ներկայացնելու հարցումը կատարողի կողմից ստանալու դեպքում («Եվրասիական տնտեսական միության մաքսային տարածքից ապրանքների մեկնման վերաբերյալ տեղեկությունների հարցման ձևավորում և ուղարկում» գործառնություն (P.CP.02.OPR.022)) |
|
5 |
Սահմանափակումները |
հարցման ձևաչափն ու կառուցվածքը պետք է համապատասխանեն Էլեկտրոնային փաստաթղթերի և տեղեկությունների ձևաչափերի ու կառուցվածքների նկարագրությանը |
|
6 |
Գործառնության նկարագրությունը |
կատարողն իրականացնում է հարցման մշակումը՝ Տեղեկատվական փոխգործակցության կանոնակարգին համապատասխան, ապրանքների հետագծումը ձևակերպող՝ ժամանման վայրի լիազորված մարմին է ներկայացնում փաստացի մեկնող ապրանքների հետագծման վերաբերյալ տեղեկություններ: Հարցման պարամետրերը բավարարող՝ փաստացի մեկնող ապրանքների հետագծման վերաբերյալ տեղեկությունների բացակայության դեպքում ապրանքների հետագծումը ձևակերպող՝ ժամանման վայրի լիազորված մարմին է ուղարկվում հարցման պարամետրերը բավարարող տեղեկությունների բացակայության մասին ծանուցում |
|
7 |
Արդյունքները |
ապրանքների հետագծումը ձևակերպող՝ ժամանման վայրի լիազորված մարմին են ներկայացվել փաստացի մեկնող ապրանքների հետագծման վերաբերյալ տեղեկություններ, կամ ուղարկվել է հարցման պարամետրերը բավարարող տեղեկությունների բացակայության մասին ծանուցում |
Աղյուսակ 38
«Ապրանքների մեկնման վերաբերյալ հարցված տեղեկությունների ընդունում և մշակում» գործառնության (P.CP.02.OPR.024) նկարագրությունը
|
Համարը՝ |
Տարրի նշագիրը |
Նկարագրությունը |
|
1 |
2 |
3 |
|
1 |
Ծածկագրային նշագիրը |
P.CP.02.OPR.024 |
|
2 |
Գործառնության անվանումը |
ապրանքների մեկնման վերաբերյալ հարցված տեղեկությունների ընդունում և մշակում |
|
3 |
Կատարողը |
ապրանքների հետագծումը ձևակերպող՝ ժամանման վայրի լիազորված մարմին |
|
4 |
Կատարման պայմանները |
կատարվում է փաստացի մեկնող ապրանքների հետագծման վերաբերյալ տեղեկություններ կամ հարցման պարամետրերը բավարարող տեղեկությունների բացակայության մասին ծանուցում ստանալու դեպքում («Եվրասիական տնտեսական միության մաքսային տարածքից ապրանքների մեկնման վերաբերյալ տեղեկությունների ներկայացում» գործառնություն (P.CP.02.OPR.023)) |
|
5 |
Սահմանափակումները |
փաստացի մեկնող ապրանքների հետագծման վերաբերյալ ներկայացված տեղեկությունների կամ հարցման պարամետրերը բավարարող տեղեկությունների բացակայության մասին ծանուցման ձևաչափն ու կառուցվածքը պետք է համապատասխանեն Էլեկտրոնային փաստաթղթերի և տեղեկությունների ձևաչափերի ու կառուցվածքների նկարագրությանը |
|
6 |
Գործառնության նկարագրությունը |
կատարողն իրականացնում է փաստացի մեկնող ապրանքների հետագծման վերաբերյալ տեղեկությունների կամ հարցման պարամետրերը բավարարող տեղեկությունների բացակայության մասին ծանուցման ընդունումն ու մշակումը |
|
7 |
Արդյունքները |
փաստացի մեկնող ապրանքների հետագծման վերաբերյալ տեղեկությունները կամ հարցման պարամետրերը բավարարող տեղեկությունների բացակայության մասին ծանուցումը մշակվել են |
«Փաստացի ժամանած ապրանքների հետագծման վերաբերյալ տեղեկությունների ճշգրտում» ընթացակարգը (P.CP.02.PRC.009)
86. «Փաստացի ժամանած ապրանքների հետագծման վերաբերյալ տեղեկությունների ճշգրտում» ընթացակարգի (P.CP.02.PRC.009) կատարման սխեման ներկայացված է 13-րդ նկարում:
Նկ. 13. «Փաստացի ժամանած ապրանքների հետագծման վերաբերյալ տեղեկությունների ճշգրտում» ընթացակարգի (P.CP.02.PRC.009) կատարման սխեման
87. «Փաստացի ժամանած ապրանքների հետագծման վերաբերյալ տեղեկությունների ճշգրտում» ընթացակարգը (P.CP.02.PRC.009) կատարվում է այն դեպքում, երբ Եվրասիական տնտեսական հանձնաժողովի կոլեգիայի 2017 թվականի նոյեմբերի 7-ի թիվ 134 որոշմամբ հաստատված՝ «Արտահանում» մաքսային ընթացակարգով ձևակերպված Եվրասիական տնտեսական միության ապրանքների՝ Եվրասիական տնտեսական միության մաքսային տարածքից մեկնելու հետ կապված մաքսային գործառնությունների կատարման կարգով սահմանված դեպքերում «Փաստացի ժամանած ապրանքների հետագծման մասին ծանուցում» ընթացակարգը (P.CP.02.PRC.006) կատարելուց հետո որոշում է ընդունվել փաստացի ժամանած ապրանքների հետագծման վերաբերյալ տեղեկությունների ճշգրտման մասին։
Եթե Միության մաքսային տարածքից ապրանքների մեկնման վայրը և Միության մաքսային տարածք ապրանքների ժամանման վայրը տեղակայված են տարբեր անդամ պետությունների տարածքներում, որոնք չեն համապատասխանում այն անդամ պետությանը, որտեղ իրականացվել է ապրանքների բացթողումը, ապա փաստացի ժամանած ապրանքների հետագծման վերաբերյալ փոփոխված տեղեկություններն ուղարկվում են նշված տեղեկատվության բոլոր ստացողներին (ապրանքների բացթողում իրականացրած լիազորված մարմին և ապրանքների հետագծումը ձևակերպող՝ մեկնման վայրի լիազորված մարմին): Ընդ որում, «Փաստացի ժամանած ապրանքների հետագծման վերաբերյալ տեղեկությունների ճշգրտում» ընթացակարգը (P.CP.02.PRC.009) յուրաքանչյուր անդամ պետության համար կատարվում է առանձին:
Եթե Միության մաքսային տարածքից ապրանքների մեկնման վայրը և Միության մաքսային տարածք ապրանքների ժամանման վայրը տեղակայված են մեկ անդամ պետության տարածքում, կամ եթե Միության մաքսային տարածք ապրանքների ժամանման վայրը տեղակայված է այն անդամ պետության տարածքում, որտեղ իրականացվել է ապրանքների բացթողումը, ապա փաստացի ժամանած ապրանքների հետագծման վերաբերյալ փոփոխված տեղեկություններն ուղարկվում են նշված տեղեկատվության միայն մեկ ստացողին՝ ապրանքների բացթողում իրականացրած լիազորված մարմին կամ ապրանքների հետագծումը ձևակերպող՝ մեկնման վայրի լիազորված մարմին:
88. Առաջինը կատարվում է «Փաստացի ժամանած ապրանքների հետագծման վերաբերյալ փոփոխված տեղեկությունների ձևավորում և ներկայացում» գործառնությունը (P.CP.02.OPR.025), որի կատարման արդյունքներով ապրանքների հետագծումը ձևակերպող՝ ժամանման վայրի լիազորված մարմինը ձևավորում և փաստացի ժամանած ապրանքների հետագծման վերաբերյալ տեղեկություններ ստացող լիազորված մարմին է փոխանցում փաստացի ժամանած ապրանքների հետագծման վերաբերյալ փոփոխված տեղեկություններ:
89. Փաստացի ժամանած ապրանքների հետագծման վերաբերյալ տեղեկություններ ստացող լիազորված մարմնի կողմից փաստացի ժամանած ապրանքների հետագծման վերաբերյալ փոփոխված տեղեկություններ ստանալու դեպքում կատարվում է «Փաստացի ժամանած ապրանքների հետագծման վերաբերյալ փոփոխված տեղեկությունների ընդունում և մշակում» գործառնությունը (P.CP.02.OPR.026), որի կատարման արդյունքներով ապրանքների հետագծումը ձևակերպող՝ ժամանման վայրի լիազորված մարմին է ներկայացվում փաստացի ժամանած ապրանքների հետագծման վերաբերյալ փոփոխված տեղեկությունների մշակման մասին ծանուցում:
90. Փաստացի ժամանած ապրանքների հետագծման վերաբերյալ փոփոխված տեղեկությունների մշակման մասին ծանուցումն ապրանքների հետագծումը ձևակերպող՝ ժամանման վայրի լիազորված մարմնի կողմից ստանալու դեպքում կատարվում է «Փաստացի ժամանած ապրանքների հետագծման վերաբերյալ փոփոխված տեղեկությունների մշակման մասին ծանուցման ստացում» գործառնությունը (P.CP.02.OPR.027):
91. «Փաստացի ժամանած ապրանքների հետագծման վերաբերյալ տեղեկությունների ճշգրտում» ընթացակարգի (P.CP.02.PRC.009) կատարման արդյունքը փաստացի ժամանած ապրանքների հետագծման վերաբերյալ տեղեկություններ ստացող լիազորված մարմնի կողմից փաստացի ժամանած ապրանքների հետագծման վերաբերյալ փոփոխված տեղեկությունների ստացումն ու մշակումն է ։
92. «Փաստացի ժամանած ապրանքների հետագծման վերաբերյալ տեղեկությունների ճշգրտում» ընթացակարգի (P.CP.02.PRC.009) շրջանակներում կատարվող ընդհանուր գործընթացի գործառնությունների ցանկը բերված է 39-րդ աղյուսակում։
Աղյուսակ 39
«Փաստացի ժամանած ապրանքների հետագծման վերաբերյալ տեղեկությունների ճշգրտում» ընթացակարգի (P.CP.02.PRC.009) շրջանակներում կատարվող ընդհանուր գործընթացի գործառնությունների ցանկը
|
Ծածկագրային նշագիրը |
Անվանումը |
Նկարագրությունը |
|
1 |
2 |
3 |
|
P.CP.02.OPR.025 |
փաստացի ժամանած ապրանքների հետագծման վերաբերյալ փոփոխված տեղեկությունների ձևավորում և ներկայացում |
բերված է սույն կանոնների 40-րդ աղյուսակում |
|
P.CP.02.OPR.026 |
փաստացի ժամանած ապրանքների հետագծման վերաբերյալ փոփոխված տեղեկությունների ընդունում և մշակում |
բերված է սույն կանոնների 41-րդ աղյուսակում |
|
P.CP.02.OPR.027 |
փաստացի ժամանած ապրանքների հետագծման վերաբերյալ փոփոխված տեղեկությունների մշակման մասին ծանուցման ստացում |
բերված է սույն կանոնների 42-րդ աղյուսակում |
Աղյուսակ 40
«Փաստացի ժամանած ապրանքների հետագծման վերաբերյալ փոփոխված տեղեկությունների ձևավորում և ներկայացում» գործառնության (P.CP.02.OPR.025) նկարագրությունը
|
Համարը՝ |
Տարրի նշագիրը |
Նկարագրությունը |
|
1 |
2 |
3 |
|
1 |
Ծածկագրային նշագիրը |
P.CP.02.OPR.025 |
|
2 |
Գործառնության անվանումը |
փաստացի ժամանած ապրանքների հետագծման վերաբերյալ փոփոխված տեղեկությունների ձևավորում և ներկայացում |
|
3 |
Կատարողը |
ապրանքների հետագծումը ձևակերպող՝ ժամանման վայրի լիազորված մարմին |
|
4 |
Կատարման պայմանները |
կատարվում է փաստացի ժամանած ապրանքների հետագծման վերաբերյալ տեղեկությունների ճշգրտման մասին որոշում ընդունելու դեպքում |
|
5 |
Սահմանափակումները |
ներկայացված տեղեկությունների ձևաչափն ու կառուցվածքը պետք է համապատասխանեն Էլեկտրոնային փաստաթղթերի և տեղեկությունների ձևաչափերի ու կառուցվածքների նկարագրությանը: Ներկայացվող տեղեկությունները պետք է վավերացվեն էլեկտրոնային թվային ստորագրությամբ (էլեկտրոնային ստորագրությամբ) |
|
6 |
Գործառնության նկարագրությունը |
կատարողը ձևավորում է փաստացի ժամանած ապրանքների հետագծման վերաբերյալ փոփոխված տեղեկություններ պարունակող հաղորդագրություն և այն ուղարկում է փաստացի ժամանած ապրանքների հետագծման վերաբերյալ տեղեկություններ ստացող լիազորված մարմին՝ Տեղեկատվական փոխգործակցության կանոնակարգին համապատասխան |
|
7 |
Արդյունքները |
փաստացի ժամանած ապրանքների հետագծման վերաբերյալ փոփոխված տեղեկություններն ուղարկվել են փաստացի ժամանած ապրանքների հետագծման վերաբերյալ տեղեկություններ ստացող լիազորված մարմին |
Աղյուսակ 41
«Փաստացի ժամանած ապրանքների հետագծման վերաբերյալ փոփոխված տեղեկությունների ընդունում և մշակում» գործառնության (P.CP.02.OPR.026) նկարագրությունը
|
Համարը՝ |
Տարրի նշագիրը |
Նկարագրությունը |
|
1 |
2 |
3 |
|
1 |
Ծածկագրային նշագիրը |
P.CP.02.OPR.026 |
|
2 |
Գործառնության անվանումը |
փաստացի ժամանած ապրանքների հետագծման վերաբերյալ փոփոխված տեղեկությունների ընդունում և մշակում |
|
3 |
Կատարողը |
փաստացի ժամանած ապրանքների հետագծման վերաբերյալ տեղեկություններ ստացող լիազորված մարմին |
|
4 |
Կատարման պայմանները |
կատարվում է փաստացի ժամանած ապրանքների հետագծման վերաբերյալ փոփոխված տեղեկությունները կատարողի կողմից ստանալու դեպքում («Փաստացի ժամանած ապրանքների հետագծման վերաբերյալ փոփոխված տեղեկությունների ձևավորում և ներկայացում» գործառնություն (P.CP.02.OPR.025)) |
|
5 |
Սահմանափակումները |
ներկայացված տեղեկությունների ձևաչափն ու կառուցվածքը պետք է համապատասխանեն Էլեկտրոնային փաստաթղթերի և տեղեկությունների ձևաչափերի ու կառուցվածքների նկարագրությանը: Էլեկտրոնային փաստաթղթի (տեղեկությունների) վավերապայմանները պետք է համապատասխանեն Տեղեկատվական փոխգործակցության կանոնակարգով նախատեսված պահանջներին |
|
6 |
Գործառնության նկարագրությունը |
կատարողն ընդունում և մշակում է տեղեկությունները՝ Տեղեկատվական փոխգործակցության կանոնակարգին համապատասխան, ձևավորում և ապրանքների հետագծումը ձևակերպող՝ ժամանման վայրի լիազորված մարմին է ուղարկում փաստացի ժամանած ապրանքների հետագծման վերաբերյալ փոփոխված տեղեկությունների մշակման մասին ծանուցում |
|
7 |
Արդյունքները |
փաստացի ժամանած ապրանքների հետագծման վերաբերյալ փոփոխված տեղեկությունները մշակվել են, փաստացի ժամանած ապրանքների հետագծման վերաբերյալ փոփոխված տեղեկությունների մշակման մասին ծանուցումն ուղարկվել է ապրանքների հետագծումը ձևակերպող՝ ժամանման վայրի լիազորված մարմին |
Աղյուսակ 42
«Փաստացի ժամանած ապրանքների հետագծման վերաբերյալ փոփոխված տեղեկությունների մշակման մասին ծանուցման ստացում» գործառնության (P.CP.02.OPR.027) նկարագրությունը
|
Համարը՝ |
Տարրի նշագիրը |
Նկարագրությունը |
|
1 |
2 |
3 |
|
1 |
Ծածկագրային նշագիրը |
P.CP.02.OPR.027 |
|
2 |
Գործառնության անվանումը |
փաստացի ժամանած ապրանքների հետագծման վերաբերյալ փոփոխված տեղեկությունների մշակման մասին ծանուցման ստացում |
|
3 |
Կատարողը |
ապրանքների հետագծումը ձևակերպող՝ ժամանման վայրի լիազորված մարմին |
|
4 |
Կատարման պայմանները |
կատարվում է փաստացի ժամանած ապրանքների հետագծման վերաբերյալ փոփոխված տեղեկությունների մշակման մասին ծանուցումը կատարողի կողմից ստանալու դեպքում («Փաստացի ժամանած ապրանքների հետագծման վերաբերյալ փոփոխված տեղեկությունների ընդունում և մշակում» գործառնություն (P.CP.02.OPR.026)) |
|
5 |
Սահմանափակումները |
ծանուցման ձևաչափն ու կառուցվածքը պետք է համապատասխանեն Էլեկտրոնային փաստաթղթերի և տեղեկությունների ձևաչափերի ու կառուցվածքների նկարագրությանը |
|
6 |
Գործառնության նկարագրությունը |
կատարողն իրականացնում է ծանուցման ընդունում և մշակում՝ Տեղեկատվական փոխգործակցության կանոնակարգին համապատասխան |
|
7 |
Արդյունքները |
փաստացի ժամանած ապրանքների հետագծման վերաբերյալ փոփոխված տեղեկությունների մշակման մասին ծանուցումը մշակվել է |
«Փաստացի մեկնող ապրանքների հետագծման վերաբերյալ տեղեկությունների ճշգրտում» ընթացակարգը (P.CP.02.PRC.010)
93. «Փաստացի մեկնող ապրանքների հետագծման վերաբերյալ տեղեկությունների ճշգրտում» ընթացակարգի (P.CP.02.PRC.010) կատարման սխեման ներկայացված է 14-րդ նկարում:
Նկ. 14. «Փաստացի մեկնող ապրանքների հետագծման վերաբերյալ տեղեկությունների ճշգրտում» ընթացակարգի (P.CP.02.PRC.010) կատարման սխեման
94. «Փաստացի մեկնող ապրանքների հետագծման վերաբերյալ տեղեկությունների ճշգրտում» ընթացակարգը (P.CP.02.PRC.010) կատարվում է այն դեպքում, երբ Եվրասիական տնտեսական հանձնաժողովի կոլեգիայի 2017 թվականի նոյեմբերի 7-ի թիվ 134 որոշմամբ հաստատված՝ «Արտահանում» մաքսային ընթացակարգով ձևակերպված Եվրասիական տնտեսական միության ապրանքների՝ Եվրասիական տնտեսական միության մաքսային տարածքից մեկնելու հետ կապված մաքսային գործառնությունների կատարման կարգով սահմանված դեպքերում «Փաստացի մեկնող ապրանքների հետագծման մասին ծանուցում» ընթացակարգը (P.CP.02.PRC.007) կատարելուց հետո որոշում է ընդունվել փաստացի մեկնող ապրանքների հետագծման վերաբերյալ տեղեկությունների ճշգրտման մասին։
Եթե Միության մաքսային տարածքից ապրանքների մեկնման վայրը և Միության մաքսային տարածք ապրանքների ժամանման վայրը տեղակայված են տարբեր անդամ պետությունների տարածքներում, որոնք չեն համապատասխանում այն անդամ պետությանը, որտեղ իրականացվել է ապրանքների բացթողումը, ապա փաստացի մեկնող ապրանքների հետագծման վերաբերյալ փոփոխված տեղեկություններն ուղարկվում են նշված տեղեկատվության բոլոր ստացողներին (ապրանքների բացթողում իրականացրած լիազորված մարմին և ապրանքների հետագծումը ձևակերպող՝ ժամանման վայրի լիազորված մարմին): Ընդ որում, «Փաստացի մեկնող ապրանքների հետագծման վերաբերյալ տեղեկությունների ճշգրտում» ընթացակարգը (P.CP.02.PRC.010) յուրաքանչյուր անդամ պետության համար կատարվում է առանձին:
Եթե Միության մաքսային տարածքից ապրանքների մեկնման վայրը և Միության մաքսային տարածք ապրանքների ժամանման վայրը տեղակայված են մեկ անդամ պետության տարածքում, կամ եթե Միության մաքսային տարածքից ապրանքների մեկնման վայրը տեղակայված է այն անդամ պետության տարածքում, որտեղ իրականացվել է ապրանքների բացթողումը, ապա փաստացի մեկնած ապրանքների հետագծման վերաբերյալ փոփոխված տեղեկություններն ուղարկվում են նշված տեղեկատվության միայն մեկ ստացողին՝ ապրանքների բացթողում իրականացրած լիազորված մարմին կամ ապրանքների հետագծումը ձևակերպող՝ ժամանման վայրի լիազորված մարմին:
95. Առաջինը կատարվում է «Փաստացի մեկնող ապրանքների հետագծման վերաբերյալ փոփոխված տեղեկությունների ձևավորում և ներկայացում» գործառնությունը (P.CP.02.OPR.028), որի կատարման արդյունքներով ապրանքների հետագծումը ձևակերպող՝ մեկնման վայրի լիազորված մարմինը ձևավորում և փաստացի մեկնող ապրանքների հետագծման վերաբերյալ տեղեկություններ ստացող լիազորված մարմին է փոխանցում փաստացի մեկնող ապրանքների հետագծման վերաբերյալ փոփոխված տեղեկություններ:
96. Փաստացի մեկնող ապրանքների հետագծման վերաբերյալ տեղեկություններ ստացող լիազորված մարմնի կողմից փաստացի մեկնող ապրանքների հետագծման վերաբերյալ փոփոխված տեղեկություններ ստանալու դեպքում կատարվում է «Փաստացի մեկնող ապրանքների հետագծման վերաբերյալ փոփոխված տեղեկությունների ընդունում և մշակում» գործառնությունը (P.CP.02.OPR.029), որի կատարման արդյունքներով ապրանքների հետագծումը ձևակերպող՝ մեկնման վայրի լիազորված մարմին է ներկայացվում փաստացի մեկնող ապրանքների հետագծման վերաբերյալ փոփոխված տեղեկությունների մշակման մասին ծանուցում:
97. Փաստացի մեկնող ապրանքների հետագծման վերաբերյալ փոփոխված տեղեկությունների մշակման մասին ծանուցումն ապրանքների հետագծումը ձևակերպող՝ մեկնման վայրի լիազորված մարմնի կողմից ստանալու դեպքում կատարվում է «Փաստացի մեկնող ապրանքների հետագծման վերաբերյալ փոփոխված տեղեկությունների մշակման մասին ծանուցման ստացում» գործառնությունը (P.CP.02.OPR.030):
98. «Փաստացի մեկնող ապրանքների հետագծման վերաբերյալ տեղեկությունների ճշգրտում» ընթացակարգի (P.CP.02.PRC.010) կատարման արդյունքը փաստացի մեկնող ապրանքների հետագծման վերաբերյալ տեղեկություններ ստացող լիազորված մարմնի կողմից փաստացի մեկնող ապրանքների հետագծման վերաբերյալ փոփոխված տեղեկությունների ստացումն ու մշակումն է ։
99. «Փաստացի մեկնող ապրանքների հետագծման վերաբերյալ տեղեկությունների ճշգրտում» ընթացակարգի (P.CP.02.PRC.010) շրջանակներում կատարվող ընդհանուր գործընթացի գործառնությունների ցանկը բերված է 43-րդ աղյուսակում։
Աղյուսակ 43
«Փաստացի մեկնող ապրանքների հետագծման վերաբերյալ տեղեկությունների ճշգրտում» ընթացակարգի (P.CP.02.PRC.010) շրջանակներում կատարվող ընդհանուր գործընթացի գործառնությունների ցանկը
|
Ծածկագրային նշագիրը |
Անվանումը |
Նկարագրությունը |
|
1 |
2 |
3 |
|
P.CP.02.OPR.028 |
փաստացի մեկնող ապրանքների հետագծման վերաբերյալ փոփոխված տեղեկությունների ձևավորում և ներկայացում |
բերված է սույն կանոնների 44-րդ աղյուսակում |
|
P.CP.02.OPR.029 |
փաստացի մեկնող ապրանքների հետագծման վերաբերյալ փոփոխված տեղեկությունների ընդունում և մշակում |
բերված է սույն կանոնների 45-րդ աղյուսակում |
|
P.CP.02.OPR.030 |
փաստացի մեկնող ապրանքների հետագծման վերաբերյալ փոփոխված տեղեկությունների մշակման մասին ծանուցման ստացում |
բերված է սույն կանոնների 46-րդ աղյուսակում |
Աղյուսակ 44
«Փաստացի մեկնող ապրանքների հետագծման վերաբերյալ փոփոխված տեղեկությունների ձևավորում և ներկայացում» գործառնության
(P.CP.02.OPR.028) նկարագրությունը
|
Համարը՝ |
Տարրի նշագիրը |
Նկարագրությունը |
|
1 |
2 |
3 |
|
1 |
Ծածկագրային նշագիրը |
P.CP.02.OPR.028 |
|
2 |
Գործառնության անվանումը |
փաստացի մեկնող ապրանքների հետագծման վերաբերյալ փոփոխված տեղեկությունների ձևավորում և ներկայացում |
|
3 |
Կատարողը |
ապրանքների հետագծումը ձևակերպող՝ մեկնման վայրի լիազորված մարմին |
|
4 |
Կատարման պայմանները |
կատարվում է փաստացի մեկնած ապրանքների հետագծման վերաբերյալ տեղեկությունների ճշգրտման մասին որոշում ընդունելու դեպքում |
|
5 |
Սահմանափակումները |
ներկայացված տեղեկությունների ձևաչափն ու կառուցվածքը պետք է համապատասխանեն Էլեկտրոնային փաստաթղթերի և տեղեկությունների ձևաչափերի ու կառուցվածքների նկարագրությանը: Ներկայացվող տեղեկությունները պետք է վավերացվեն էլեկտրոնային թվային ստորագրությամբ (էլեկտրոնային ստորագրությամբ) |
|
6 |
Գործառնության նկարագրությունը |
կատարողը ձևավորում է փաստացի մեկնող ապրանքների հետագծման վերաբերյալ փոփոխված տեղեկություններ պարունակող հաղորդագրություն և այն ուղարկում է փաստացի մեկնող ապրանքների հետագծման վերաբերյալ տեղեկություններ ստացող լիազորված մարմին՝ Տեղեկատվական փոխգործակցության կանոնակարգին համապատասխան |
|
7 |
Արդյունքները |
փաստացի մեկնող ապրանքների հետագծման վերաբերյալ փոփոխված տեղեկություններն ուղարկվել են փաստացի մեկնող ապրանքների հետագծման վերաբերյալ տեղեկություններ ստացող լիազորված մարմին |
Աղյուսակ 45
«Փաստացի մեկնող ապրանքների հետագծման վերաբերյալ փոփոխված տեղեկությունների ընդունում և մշակում» գործառնության (P.CP.02.OPR.029) նկարագրությունը
|
Համարը՝ |
Տարրի նշագիրը |
Նկարագրությունը |
|
1 |
2 |
3 |
|
1 |
Ծածկագրային նշագիրը |
P.CP.02.OPR.029 |
|
2 |
Գործառնության անվանումը |
փաստացի մեկնող ապրանքների հետագծման վերաբերյալ փոփոխված տեղեկությունների ընդունում և մշակում |
|
3 |
Կատարողը |
փաստացի մեկնող ապրանքների հետագծման վերաբերյալ տեղեկություններ ստացող լիազորված մարմին |
|
4 |
Կատարման պայմանները |
կատարվում է փաստացի մեկնող ապրանքների հետագծման վերաբերյալ փոփոխված տեղեկությունները կատարողի կողմից ստանալու դեպքում («Փաստացի մեկնող ապրանքների հետագծման վերաբերյալ փոփոխված տեղեկությունների ձևավորում և ներկայացում» գործառնություն (P.CP.02.OPR.028)) |
|
5 |
Սահմանափակումները |
ներկայացված տեղեկությունների ձևաչափն ու կառուցվածքը պետք է համապատասխանեն Էլեկտրոնային փաստաթղթերի և տեղեկությունների ձևաչափերի ու կառուցվածքների նկարագրությանը: Էլեկտրոնային փաստաթղթի (տեղեկությունների) վավերապայմանները պետք է համապատասխանեն Տեղեկատվական փոխգործակցության կանոնակարգով նախատեսված պահանջներին |
|
6 |
Գործառնության նկարագրությունը |
կատարողն ընդունում և մշակում է տեղեկությունները՝ Տեղեկատվական փոխգործակցության կանոնակարգին համապատասխան, ձևավորում և ապրանքների հետագծումը ձևակերպող՝ մեկնման վայրի լիազորված մարմին է ուղարկում փաստացի մեկնող ապրանքների հետագծման վերաբերյալ փոփոխված տեղեկությունների մշակման մասին ծանուցում |
|
7 |
Արդյունքները |
փաստացի մեկնող ապրանքների հետագծման վերաբերյալ փոփոխված տեղեկությունները մշակվել են, փաստացի մեկնող ապրանքների հետագծման վերաբերյալ փոփոխված տեղեկությունների մշակման մասին ծանուցումն ուղարկվել է ապրանքների հետագծումը ձևակերպող՝ մեկնման վայրի լիազորված մարմին |
Աղյուսակ 46
«Փաստացի մեկնող ապրանքների հետագծման վերաբերյալ փոփոխված տեղեկությունների մշակման մասին ծանուցման ստացում» գործառնության (P.CP.02.OPR.030) նկարագրությունը
|
Համարը՝ |
Տարրի նշագիրը |
Նկարագրությունը |
|
1 |
2 |
3 |
|
1 |
Ծածկագրային նշագիրը |
P.CP.02.OPR.030 |
|
2 |
Գործառնության անվանումը |
փաստացի մեկնող ապրանքների հետագծման վերաբերյալ փոփոխված տեղեկությունների մշակման մասին ծանուցման ստացում |
|
3 |
Կատարողը |
ապրանքների հետագծումը ձևակերպող՝ մեկնման վայրի լիազորված մարմին |
|
4 |
Կատարման պայմանները |
կատարվում է փաստացի մեկնող ապրանքների հետագծման վերաբերյալ փոփոխված տեղեկությունների մշակման մասին ծանուցումը կատարողի կողմից ստանալու դեպքում («Փաստացի մեկնող ապրանքների հետագծման վերաբերյալ փոփոխված տեղեկությունների ընդունում և մշակում» գործառնություն (P.CP.02.OPR.029)) |
|
5 |
Սահմանափակումները |
ծանուցման ձևաչափն ու կառուցվածքը պետք է համապատասխանեն Էլեկտրոնային փաստաթղթերի և տեղեկությունների ձևաչափերի ու կառուցվածքների նկարագրությանը |
|
6 |
Գործառնության նկարագրությունը |
կատարողն իրականացնում է ծանուցման ընդունում և մշակում՝ Տեղեկատվական փոխգործակցության կանոնակարգին համապատասխան |
|
7 |
Արդյունքները |
փաստացի մեկնող ապրանքների հետագծման վերաբերյալ փոփոխված տեղեկությունների մշակման մասին ծանուցումը մշակվել է |
«Փաստացի մեկնող ապրանքների հետագծման վերաբերյալ տեղեկությունների չեղարկում» ընթացակարգը (P.CP.02.PRC.011)
100. «Փաստացի մեկնող ապրանքների հետագծման վերաբերյալ տեղեկությունների չեղարկում» ընթացակարգի (P.CP.02.PRC.011) կատարման սխեման ներկայացված է 15-րդ նկարում:
Նկ. 15. «Փաստացի մեկնող ապրանքների հետագծման վերաբերյալ տեղեկությունների չեղարկում» ընթացակարգի (P.CP.02.PRC.011) կատարման սխեման
101. «Փաստացի մեկնող ապրանքների հետագծման վերաբերյալ տեղեկությունների չեղարկում» ընթացակարգը (P.CP.02.PRC.011) կատարվում է Եվրասիական տնտեսական հանձնաժողովի կոլեգիայի 2017 թվականի նոյեմբերի 7-ի թիվ 134 որոշմամբ հաստատված՝ «Արտահանում» մաքսային ընթացակարգով ձևակերպված Եվրասիական տնտեսական միության ապրանքների՝ Եվրասիական տնտեսական միության մաքսային տարածքից մեկնելու և Եվրասիական տնտեսական միության մաքսային տարածք ժամանելու հետ կապված մաքսային գործառնությունների կատարման կարգի 8-րդ կետով սահմանված դեպքերում՝ «Փաստացի մեկնող ապրանքների հետագծման մասին ծանուցում» ընթացակարգը (P.CP.02.PRC.007) կատարելուց հետո։
Եթե Միության մաքսային տարածքից ապրանքների մեկնման վայրը և Միության մաքսային տարածք ապրանքների ժամանման վայրը տեղակայված են տարբեր անդամ պետությունների տարածքներում, որոնք չեն համապատասխանում այն անդամ պետությանը, որտեղ իրականացվել է ապրանքների բացթողումը, ապա փաստացի մեկնող ապրանքների հետագծման վերաբերյալ տեղեկությունների չեղարկման մասին տեղեկատվությունն ուղարկվում է նշված տեղեկատվության բոլոր ստացողներին (ապրանքների բացթողում իրականացրած լիազորված մարմին և ապրանքների հետագծումը ձևակերպող՝ ժամանման վայրի լիազորված մարմին): Ընդ որում, «Փաստացի մեկնող ապրանքների հետագծման վերաբերյալ տեղեկությունների չեղարկում» ընթացակարգը (P.CP.02.PRC.011) յուրաքանչյուր անդամ պետության համար կատարվում է առանձին:
Եթե Միության մաքսային տարածքից ապրանքների մեկնման վայրը և Միության մաքսային տարածք ապրանքների ժամանման վայրը տեղակայված են մեկ անդամ պետության տարածքում, կամ եթե Միության մաքսային տարածքից ապրանքների մեկնման վայրը տեղակայված է այն անդամ պետության տարածքում, որտեղ իրականացվել է ապրանքների բացթողումը, ապա փաստացի մեկնող ապրանքների հետագծման վերաբերյալ տեղեկությունների չեղարկման մասին տեղեկատվությունն ուղարկվում է նշված տեղեկատվության միայն մեկ ստացողին՝ ապրանքների բացթողում իրականացրած լիազորված մարմին կամ ապրանքների հետագծումը ձևակերպող՝ ժամանման վայրի լիազորված մարմին:
102. Առաջինը կատարվում է «Փաստացի մեկնող ապրանքների հետագծման վերաբերյալ տեղեկությունների չեղարկման մասին տեղեկատվության ձևավորում և ներկայացում» գործառնությունը (P.CP.02.OPR.031), որի կատարման արդյունքներով ապրանքների հետագծումը ձևակերպող՝ մեկնման վայրի լիազորված մարմինը ձևավորում և փաստացի մեկնող ապրանքների հետագծման վերաբերյալ տեղեկություններ ստացող լիազորված մարմին է ներկայացնում փաստացի մեկնող ապրանքների հետագծման վերաբերյալ տեղեկությունների չեղարկման մասին տեղեկատվություն:
103. Փաստացի մեկնող ապրանքների հետագծման վերաբերյալ տեղեկությունների չեղարկման մասին տեղեկատվությունը՝ փաստացի մեկնող ապրանքների հետագծման վերաբերյալ տեղեկություններ ստացող լիազորված մարմնի կողմից ստանալու դեպքում կատարվում է «Փաստացի մեկնող ապրանքների հետագծման վերաբերյալ տեղեկությունների չեղարկման մասին տեղեկատվության ընդունում և մշակում» գործառնությունը (P.CP.02.OPR.032), որի կատարման արդյունքներով իրականացվում են նշված տեղեկատվության ընդունումն ու մշակումը։ Ապրանքների հետագծումը ձևակերպող՝ մեկնման վայրի լիազորված մարմին է ուղարկվում փաստացի մեկնող ապրանքների հետագծման վերաբերյալ տեղեկությունների չեղարկման մասին տեղեկատվության մշակման մասին ծանուցում։
104. Փաստացի մեկնող ապրանքների հետագծման վերաբերյալ տեղեկությունների չեղարկման մասին տեղեկատվության մշակման մասին ծանուցումը՝ ապրանքների հետագծումը ձևակերպող՝ մեկնման վայրի լիազորված մարմնի կողմից ստանալու դեպքում կատարվում է «Փաստացի մեկնող ապրանքների հետագծման վերաբերյալ տեղեկությունների չեղարկման մասին տեղեկատվության մշակման մասին ծանուցման ստացում» գործառնությունը (P.CP.02.OPR.033), որի կատարման արդյունքներով իրականացվում են նշված ծանուցման ընդունումն ու մշակումը։
105. «Փաստացի մեկնող ապրանքների հետագծման վերաբերյալ տեղեկությունների չեղարկում» ընթացակարգի (P.CP.02.PRC.011) կատարման արդյունքը փաստացի մեկնող ապրանքների հետագծման վերաբերյալ տեղեկությունների չեղարկման մասին տեղեկատվության մշակումն է փաստացի մեկնող ապրանքների հետագծման վերաբերյալ տեղեկություններ ստացող լիազորված մարմնի կողմից:
106. «Փաստացի մեկնող ապրանքների հետագծման վերաբերյալ տեղեկությունների չեղարկում» ընթացակարգի (P.CP.02.PRC.011) շրջանակներում կատարվող ընդհանուր գործընթացի գործառնությունների ցանկը բերված է 47-րդ աղյուսակում։
Աղյուսակ 47
«Փաստացի մեկնող ապրանքների հետագծման վերաբերյալ տեղեկությունների չեղարկում» ընթացակարգի (P.CP.02.PRC.011) շրջանակներում կատարվող ընդհանուր գործընթացի գործառնությունների ցանկը
|
Ծածկագրային |
Անվանումը |
Նկարագրությունը |
|
1 |
2 |
3 |
|
P.CP.02.OPR.031 |
փաստացի մեկնող ապրանքների հետագծման վերաբերյալ տեղեկությունների չեղարկման մասին տեղեկատվության ձևավորում և ներկայացում |
բերված է սույն կանոնների 48-րդ աղյուսակում |
|
P.CP.02.OPR.032 |
փաստացի մեկնող ապրանքների հետագծման վերաբերյալ տեղեկությունների չեղարկման մասին տեղեկատվության ընդունում և մշակում |
բերված է սույն կանոնների 49-րդ աղյուսակում |
|
P.CP.02.OPR.033 |
փաստացի մեկնող ապրանքների հետագծման վերաբերյալ տեղեկությունների չեղարկման մասին տեղեկատվության մշակման մասին ծանուցման ստացում |
բերված է սույն կանոնների 50-րդ աղյուսակում |
Աղյուսակ 48
«Փաստացի մեկնող ապրանքների հետագծման վերաբերյալ տեղեկությունների չեղարկման մասին տեղեկատվության ձևավորում և ներկայացում» գործառնության (P.CP.02.OPR.031) նկարագրությունը
|
Համարը՝ |
Տարրի նշագիրը |
Նկարագրությունը |
|
1 |
2 |
3 |
|
1 |
Ծածկագրային նշագիրը |
P.CP.02.OPR.031 |
|
2 |
Գործառնության անվանումը |
փաստացի մեկնող ապրանքների հետագծման վերաբերյալ տեղեկությունների չեղարկման մասին տեղեկատվության ձևավորում և ներկայացում |
|
3 |
Կատարողը |
ապրանքների հետագծումը ձևակերպող՝ մեկնման վայրի լիազորված մարմին |
|
4 |
Կատարման պայմանները |
կատարվում է Եվրասիական տնտեսական հանձնաժողովի կոլեգիայի 2017 թվականի նոյեմբերի 7-ի թիվ 134 որոշմամբ հաստատված՝ «Արտահանում» մաքսային ընթացակարգով ձևակերպված Եվրասիական տնտեսական միության ապրանքների՝ Եվրասիական տնտեսական միության մաքսային տարածքից մեկնելու և Եվրասիական տնտեսական միության մաքսային տարածք ժամանելու հետ կապված մաքսային գործառնությունների կատարման կարգի 8-րդ կետով սահմանված դեպքերում՝ «Փաստացի մեկնող ապրանքների հետագծման մասին ծանուցում» ընթացակարգը (P.CP.02.PRC.007) կատարելուց հետո |
|
5 |
Սահմանափակումները |
տեղեկությունների ձևաչափն ու կառուցվածքը պետք է համապատասխանեն Էլեկտրոնային փաստաթղթերի և տեղեկությունների ձևաչափերի ու կառուցվածքների նկարագրությանը։ Ներկայացվող տեղեկությունները պետք է վավերացվեն էլեկտրոնային թվային ստորագրությամբ (էլեկտրոնային ստորագրությամբ) |
|
6 |
Գործառնության նկարագրությունը |
կատարողը ձևավորում և փաստացի մեկնող ապրանքների հետագծման վերաբերյալ տեղեկություններ ստացող լիազորված մարմին է ուղարկում փաստացի մեկնող ապրանքների հետագծման վերաբերյալ տեղեկությունների չեղարկման մասին տեղեկատվություն՝ Տեղեկատվական փոխգործակցության կանոնակարգին համապատասխան |
|
7 |
Արդյունքները |
փաստացի մեկնող ապրանքների հետագծման վերաբերյալ տեղեկությունների չեղարկման մասին տեղեկատվությունն ուղարկվել է փաստացի մեկնող ապրանքների հետագծման վերաբերյալ տեղեկություններ ստացող լիազորված մարմին |
Աղյուսակ 49
«Փաստացի մեկնող ապրանքների հետագծման վերաբերյալ տեղեկությունների չեղարկման մասին տեղեկատվության ընդունում և մշակում» գործառնության (P.CP.02.OPR.032) նկարագրությունը
|
Համարը՝ |
Տարրի նշագիրը |
Նկարագրությունը |
|
1 |
2 |
3 |
|
1 |
Ծածկագրային նշագիրը |
P.CP.02.OPR.032 |
|
2 |
Գործառնության անվանումը |
փաստացի մեկնող ապրանքների հետագծման վերաբերյալ տեղեկությունների չեղարկման մասին տեղեկատվության ընդունում և մշակում |
|
3 |
Կատարողը |
փաստացի մեկնող ապրանքների հետագծման վերաբերյալ տեղեկություններ ստացող լիազորված մարմին |
|
4 |
Կատարման պայմանները |
կատարվում է փաստացի մեկնող ապրանքների հետագծման վերաբերյալ տեղեկությունների չեղարկման մասին տեղեկատվությունը կատարողի կողմից ստանալու դեպքում («Փաստացի մեկնող ապրանքների հետագծման վերաբերյալ տեղեկությունների չեղարկման մասին տեղեկատվության ձևավորում և ներկայացում» գործառնություն (P.CP.02.OPR.031)) |
|
5 |
Սահմանափակումները |
ներկայացված տեղեկությունների ձևաչափն ու կառուցվածքը պետք է համապատասխանեն Էլեկտրոնային փաստաթղթերի և տեղեկությունների ձևաչափերի ու կառուցվածքների նկարագրությանը: Էլեկտրոնային փաստաթղթի (տեղեկությունների) վավերապայմանները պետք է համապատասխանեն Տեղեկատվական փոխգործակցության կանոնակարգով նախատեսված պահանջներին |
|
6 |
Գործառնության նկարագրությունը |
կատարողն իրականացնում է փաստացի մեկնող ապրանքների հետագծման վերաբերյալ տեղեկությունների չեղարկման մասին տեղեկատվության ընդունում և մշակում, ձևավորում և ապրանքների հետագծումը ձևակերպող՝ մեկնման վայրի լիազորված մարմին է ուղարկում նշված տեղեկատվության մշակման մասին ծանուցում |
|
7 |
Արդյունքները |
փաստացի մեկնող ապրանքների հետագծման վերաբերյալ տեղեկությունների չեղարկման մասին տեղեկատվությունը մշակվել է, փաստացի մեկնող ապրանքների հետագծման վերաբերյալ տեղեկությունների չեղարկման մասին տեղեկատվության մշակման մասին ծանուցումն ուղարկվել է ապրանքների հետագծումը ձևակերպող՝ մեկնման վայրի լիազորված մարմին |
Աղյուսակ 50
«Փաստացի մեկնող ապրանքների հետագծման վերաբերյալ տեղեկությունների չեղարկման մասին տեղեկատվության մշակման մասին ծանուցման ստացում» գործառնության (P.CP.02.OPR.033) նկարագրությունը
|
Համարը՝ |
Տարրի նշագիրը |
Նկարագրությունը |
|
1 |
2 |
3 |
|
1 |
Ծածկագրային նշագիրը |
P.CP.02.OPR.033 |
|
2 |
Գործառնության անվանումը |
փաստացի մեկնող ապրանքների հետագծման վերաբերյալ տեղեկությունների չեղարկման մասին տեղեկատվության մշակման մասին ծանուցման ստացում |
|
3 |
Կատարողը |
ապրանքների հետագծումը ձևակերպող՝ մեկնման վայրի լիազորված մարմին |
|
4 |
Կատարման պայմանները |
կատարվում է փաստացի մեկնող ապրանքների հետագծման վերաբերյալ տեղեկությունների չեղարկման մասին տեղեկատվության մշակման մասին ծանուցումը կատարողի կողմից ստանալու դեպքում («Փաստացի մեկնող ապրանքների հետագծման վերաբերյալ տեղեկությունների չեղարկման մասին տեղեկատվության ընդունում և մշակում» գործառնություն (P.CP.02.OPR.032)) |
|
5 |
Սահմանափակումները |
ծանուցման ձևաչափն ու կառուցվածքը պետք է համապատասխանեն Էլեկտրոնային փաստաթղթերի և տեղեկությունների ձևաչափերի ու կառուցվածքների նկարագրությանը |
|
6 |
Գործառնության նկարագրությունը |
կատարողն իրականացնում է փաստացի մեկնող ապրանքների հետագծման վերաբերյալ տեղեկությունների չեղարկման մասին տեղեկատվության մշակման մասին ծանուցման ընդունում և մշակում՝ Տեղեկատվական փոխգործակցության կանոնակարգին համապատասխան |
|
7 |
Արդյունքները |
փաստացի մեկնող ապրանքների հետագծման վերաբերյալ տեղեկությունների չեղարկման մասին տեղեկատվության մշակման մասին ծանուցումը մշակվել է |
IX. Արտակարգ իրավիճակներում գործողությունների կարգը
107. Ընդհանուր գործընթացի ընթացակարգերը կատարելիս հնարավոր են բացառիկ իրավիճակներ, որոնց ժամանակ տվյալների մշակումը չի կարող կատարվել սովորական ռեժիմով: Դա կարող է տեղի ունենալ տեխնիկական խափանումների, կառուցվածքային և ձևաչափատրամաբանական հսկողության սխալների առաջացման և այլ դեպքերում:
108. Կառուցվածքային և ձևաչափատրամաբանական հսկողության սխալների առաջացման դեպքում անդամ պետության լիազորված մարմինը, Տեղեկատվական փոխգործակցության կանոնակարգին համապատասխան, իրականացնում է այն հաղորդագրության ստուգումն Էլեկտրոնային փաստաթղթերի և տեղեկությունների ձևաչափերի ու կառուցվածքների նկարագրությանը և էլեկտրոնային փաստաթղթերի և տեղեկությունների հսկողությանը ներկայացվող պահանջներին համապատասխանության մասով, որի առնչությամբ ստացվել է սխալի մասին ծանուցումը: Նշված փաստաթղթերի պահանջներին տեղեկությունների անհամապատասխանություն հայտնաբերելու դեպքում անդամ պետության լիազորված մարմինն անհրաժեշտ միջոցներ է ձեռնարկում հայտնաբերված սխալը սահմանված կարգով վերացնելու ուղղությամբ։
109. Արտակարգ իրավիճակների կարգավորման նպատակով անդամ պետությունները միմյանց և Եվրասիական տնտեսական հանձնաժողովին տեղեկացնում են անդամ պետությունների այն լիազորված մարմինների մասին, որոնց իրավասությանն է վերապահված սույն կանոններով նախատեսված պահանջների կատարումը, ինչպես նաև տեղեկություններ են ներկայացնում ընդհանուր գործընթացն իրագործելիս տեխնիկական աջակցություն ապահովելու համար պատասխանատու անձանց մասին»։
2. Նշված որոշմամբ հաստատված՝ «Եվրասիական տնտեսական միության մաքսային տարածքի սահմաններից դուրս ապրանքների փաստացի արտահանման հսկողության և հաստատման ընթացքում Եվրասիական տնտեսական միության անդամ պետությունների մաքսային մարմինների միջև տեղեկությունների փոխանակման ապահովում» ընդհանուր գործընթացը Եվրասիական տնտեսական միության ինտեգրված տեղեկատվական համակարգի միջոցներով իրագործելիս Եվրասիական տնտեսական միության անդամ պետությունների լիազորված մարմինների միջև տեղեկատվական փոխգործակցության կանոնակարգը շարադրել հետևյալ խմբագրությամբ՝
|
«ՀԱՍՏԱՏՎԱԾ Է Եվրասիական տնտեսական հանձնաժողովի կոլեգիայի 2018 թվականի օգոստոսի 21-ի թիվ 128 որոշմամբ (Եվրասիական տնտեսական հանձնաժողովի կոլեգիայի 20 թվականի -ի թիվ որոշման խմբագրությամբ) |
ԿԱՆՈՆԱԿԱՐԳ
«Եվրասիական տնտեսական միության անդամ պետությունների մաքսային մարմինների միջև տեղեկությունների փոխանակման ապահովում Եվրասիական տնտեսական միության մաքսային տարածքի սահմաններից դուրս ապրանքների փաստացի արտահանման հսկողության և հաստատման գործընթացում» ընդհանուր գործընթացը Եվրասիական տնտեսական միության ինտեգրված տեղեկատվական համակարգի միջոցներով իրագործելիս Եվրասիական տնտեսական միության անդամ պետությունների լիազորված մարմինների միջև տեղեկատվական փոխգործակցության
I. Ընդհանուր դրույթներ
1. Սույն կանոնակարգը մշակվել է Եվրասիական տնտեսական միության (այսուհետ՝ Միություն) իրավունքի մաս կազմող հետևյալ ակտերին համապատասխան.
«Եվրասիական տնտեսական միության մասին» 2014 թվականի մայիսի 29-ի պայմանագիր.
Եվրասիական տնտեսական հանձնաժողովի կոլեգիայի 2014 թվականի նոյեմբերի 6-ի «Ընդհանուր գործընթացներն արտաքին և փոխադարձ առևտրի ինտեգրված տեղեկատվական համակարգի միջոցներով իրագործելիս տեղեկատվական փոխգործակցությունը կանոնակարգող տեխնոլոգիական փաստաթղթերի մասին» թիվ 200 որոշում.
Եվրասիական տնտեսական հանձնաժողովի կոլեգիայի 2015 թվականի հունվարի 27-ի «Արտաքին և փոխադարձ առևտրի ինտեգրված տեղեկատվական համակարգում տվյալների էլեկտրոնային փոխանակման կանոնների հաստատման մասին» թիվ 5 որոշում.
Եվրասիական տնտեսական հանձնաժողովի կոլեգիայի 2015 թվականի ապրիլի 14-ի «Եվրասիական տնտեսական միության շրջանակներում ընդհանուր գործընթացների ցանկի և Եվրասիական տնտեսական հանձնաժողովի կոլեգիայի 2014 թվականի օգոստոսի 19-ի թիվ 132 որոշման մեջ փոփոխություն կատարելու մասին» թիվ 29 որոշում.
Եվրասիական տնտեսական հանձնաժողովի կոլեգիայի 2015 թվականի հունիսի 9-ի «Եվրասիական տնտեսական միության շրջանակներում ընդհանուր գործընթացների վերլուծության, օպտիմալացման, ներդաշնակեցման և նկարագրության մեթոդիկայի մասին» թիվ 63 որոշում.
Եվրասիական տնտեսական հանձնաժողովի կոլեգիայի 2015 թվականի սեպտեմբերի 28-ի «Եվրասիական տնտեսական միության անդամ պետությունների պետական իշխանության մարմինների՝ միմյանց միջև, և Եվրասիական տնտեսական հանձնաժողովի հետ անդրսահմանային փոխգործակցության ժամանակ էլեկտրոնային փաստաթղթերի փոխանակման վերաբերյալ հիմնադրույթի հաստատման մասին» թիվ 125 որոշում.
Եվրասիական տնտեսական հանձնաժողովի կոլեգիայի 2017 թվականի նոյեմբերի 7-ի «Առանց «մաքսային տարանցում» մաքսային ընթացակարգով ձևակերպելու Եվրասիական տնտեսական միության անդամ չհանդիսացող պետությունների տարածքներով և (կամ) ծովով փոխադրվող ապրանքների առանձին կատեգորիաների ժամանման և մեկնման ժամանակ մաքսային գործառնությունների իրականացման որոշ հարցերի մասին» թիվ 134 որոշում (Եվրասիական տնտեսական հանձնաժողովի կոլեգիայի 2019 թվականի հոկտեմբերի 14-ի «Եվրասիական տնտեսական հանձնաժողովի կոլեգիայի որոշ որոշումներում փոփոխություններ կատարելու մասին» թիվ 181 որոշման խմբագրությամբ).
Եվրասիական տնտեսական հանձնաժողովի կոլեգիայի 2018 թվականի փետրվարի 7-ի «Եվրասիական տնտեսական միության մաքսային տարածքից ապրանքների փաստացի արտահանումը Միության անդամ պետությունների մաքսային մարմինների կողմից հաստատելու կարգի մասին» թիվ 25 որոշում (Եվրասիական տնտեսական հանձնաժողովի կոլեգիայի 2019 թվականի հոկտեմբերի 14-ի «Եվրասիական տնտեսական հանձնաժողովի կոլեգիայի որոշ որոշումներում փոփոխություններ կատարելու մասին» թիվ 181 որոշման խմբագրությամբ)։
II. Կիրառման ոլորտը
2. Սույն կանոնակարգը մշակվել է ընդհանուր գործընթացի մասնակիցների կողմից «Եվրասիական տնտեսական միության անդամ պետությունների մաքսային մարմինների միջև տեղեկությունների փոխանակման ապահովում Եվրասիական տնտեսական միության մաքսային տարածքի սահմաններից դուրս ապրանքների փաստացի արտահանման հսկողության և հաստատման գործընթացում» ընդհանուր գործընթացի (այսուհետ՝ ընդհանուր գործընթաց) տրանզակցիաների կատարման կարգի և պայմանների, ինչպես նաև դրանց կատարման ժամանակ իրենց դերի միատեսակ ընկալումն ապահովելու նպատակով։
3. Սույն կանոնակարգով սահմանվում են ընդհանուր գործընթացի մասնակիցների միջև տեղեկատվական փոխգործակցության իրագործմանն անմիջականորեն ուղղված՝ ընդհանուր գործընթացի գործառնությունների կատարման կարգին և պայմաններին ներկայացվող պահանջները։
4. Սույն կանոնակարգը կիրառվում է ընդհանուր գործընթացի մասնակիցների կողմից ընդհանուր գործընթացի շրջանակներում ընթացակարգերի և գործառնությունների կատարման կարգը վերահսկելիս, ինչպես նաև այդ ընդհանուր գործընթացի իրագործումն ապահովող տեղեկատվական համակարգերի բաղադրիչները նախագծելիս, մշակելիս և լրամշակելիս։
III. Հիմնական հասկացությունները
5. Սույն կանոնակարգի նպատակներով օգտագործվում են հասկացություններ, որոնք ունեն հետևյալ իմաստը.
իսկորոշում՝ սուբյեկտին իր կողմից ներկայացված նույնականացուցչի հասանելիության պատկանելիության ստուգում, իսկության հաստատում.
ԱՀԿ՝ մաքսային մարմինների պաշտոնատար անձի անձնական համարակալված կնիքը, որի դրոշմվածքը մաքսային փաստաթղթերում դնելով և դրանցում պաշտոնատար անձի ստորագրությամբ հաստատվում է մաքսային գործառնությունն իրականացնելը.
վավերապայման՝ էլեկտրոնային փաստաթղթի (տեղեկությունների) տվյալների միավոր, որը որոշակի համատեքստում համարվում է անբաժանելի.
ԵԱՏՄ ԱՏԳ ԱԱ՝ Եվրասիական տնտեսական միության արտաքին տնտեսական գործունեության միասնական ապրանքային անվանացանկ.
«էլեկտրոնային հետագծում», «փաստացի ժամանած ապրանքների էլեկտրոնային հետագծում», «փաստացի մեկնող ապրանքների էլեկտրոնային հետագծում»՝ Միության անդամ չհանդիսացող պետությունների տարածքներով և (կամ) ծովով ապրանքների՝ Միության մաքսային տարածքի մի մասից մեկնելու կամ Միության մաքսային տարածքի մեկ այլ մաս ժամանելու դեպքում դրանց հետագծման մասին էլեկտրոնային տեսքով տեղեկատվություն պարունակող հաղորդագրություն։
Սույն կանոնակարգում օգտագործվող՝ «նախաձեռնող», «սկզբնավորող գործառնություն», «ընդունող գործառնություն», «ռեսպոնդենտ», «ընդհանուր գործընթացի հաղորդագրություն» և «ընդհանուր գործընթացի տրանզակցիա» հասկացությունները կիրառվում են Եվրասիական տնտեսական հանձնաժողովի կոլեգիայի 2015 թվականի հունիսի 9-ի թիվ 63 որոշմամբ հաստատված՝ Եվրասիական տնտեսական միության շրջանակներում ընդհանուր գործընթացների վերլուծության, օպտիմալացման, ներդաշնակեցման և նկարագրության մեթոդիկայով սահմանված իմաստներով։
Սույն կանոնակարգում օգտագործվող մյուս հասկացությունները կիրառվում են Եվրասիական տնտեսական հանձնաժողովի կոլեգիայի 20 թվականի -ի թիվ որոշմամբ հաստատված՝ «Եվրասիական տնտեսական միության անդամ պետությունների մաքսային մարմինների միջև տեղեկությունների փոխանակման ապահովում Եվրասիական տնտեսական միության մաքսային տարածքի սահմաններից դուրս ապրանքների փաստացի արտահանման հսկողության և հաստատման գործընթացում» ընդհանուր գործընթացը Եվրասիական տնտեսական միության ինտեգրված տեղեկատվական համակարգի միջոցներով իրագործելիս տեղեկատվական փոխգործակցության կանոնների (այսուհետ՝ Տեղեկատվական փոխգործակցության կանոններ) 4-րդ կետով սահմանված իմաստներով:
IV. Ընդհանուր գործընթացի շրջանակներում տեղեկատվական փոխգործակցության մասին հիմնական տեղեկությունները
1. Տեղեկատվական փոխգործակցության մասնակիցները
6. Ընդհանուր գործընթացի շրջանակներում տեղեկատվական փոխգործակցության մասնակիցների դերերի ցանկը բերված է 1-ին աղյուսակում։
Աղյուսակ 1
Տեղեկատվական փոխգործակցության մասնակիցների դերերի ցանկ
|
Դերի անվանումը |
Դերի նկարագրությունը |
Դերը կատարող մասնակիցը |
|
1 |
2 |
3 |
|
Ապրանքների բացթողման ժամանակ մաքսային գործառնություններ իրականացնելու համար լիազորված մարմին |
մեկնման վայրի, ժամանման վայրի՝ ապրանքների հետագծումը ձևակերպող լիազորված մարմնի հարցման հիման վրա ներկայացնում է տեղեկություններ ապրանքների մասին հայտարարագրից, ինչպես նաև մեկնման վայրի լիազորված մարմնից ստանում է, այդ թվում՝ հարցման հիման վրա, ապրանքների փաստացի արտահանման մասին տեղեկություններ |
ապրանքների բացթողում իրականացնող լիազորված մարմին (P.CP.02.ACT.001) |
|
Ապրանքների մեկնման ժամանակ մաքսային գործառնություններ իրականացնելու համար լիազորված մարմին |
ապրանքների բացթողում իրականացնող լիազորված մարմին է ներկայացնում ապրանքների փաստացի արտահանման մասին տեղեկություններ (այդ թվում՝ հարցման հիման վրա), ապրանքների փաստացի արտահանման ճշգրտման և (կամ) չեղարկման մասին տեղեկություններ |
մեկնման վայրի լիազորված մարմին (P.CP.02.ACT.002) |
|
Մաքսային հսկողություն անցկացնելու նպատակով ապրանքների մասին հայտարարագրից տեղեկությունների հարցում կատարող լիազորված մարմին |
ապրանքների բացթողում իրականացնող լիազորված մարմնից ապրանքների մասին հայտարարագրից տեղեկությունների հարցում է կատարում |
ապրանքների մասին հայտարարագրից տեղեկությունների հարցում կատարող լիազորված մարմին (P.CP.02.ACT.005) |
|
Փաստացի ժամանած ապրանքների հետագծման մասին ծանուցող լիազորված մարմին |
փաստացի ժամանած ապրանքների հետագծման մասին տեղեկություններ ստացող լիազորված մարմնին ծանուցում է ապրանքների հետագծման (հետագծման ճշգրտման) մասին, ապրանքների հետագծումը ձևակերպող՝ մեկնման վայրի լիազորված մարմին հարցում է ուղարկում ապրանքների մեկնման մասին |
ապրանքների հետագծումը ձևակերպող՝ ժամանման վայրի լիազորված մարմին (P.CP.02.ACT.003) |
|
Փաստացի մեկնող ապրանքների հետագծման մասին ծանուցող լիազորված մարմին |
փաստացի մեկնող ապրանքների հետագծման մասին տեղեկություններ ստացող լիազորված մարմնին ծանուցում է ապրանքների հետագծման (հետագծման ճշգրտման և (կամ) չեղարկման) մասին, ապրանքների հետագծումը ձևակերպող՝ ժամանման վայրի լիազորված մարմին ապրանքների հետագծման մասին տեղեկություններ է ուղարկում մեկնման մասին հարցման հիման վրա |
ապրանքների հետագծումը ձևակերպող՝ մեկնման վայրի լիազորված մարմին (P.CP.02.ACT.004) |
|
Փաստացի ժամանած ապրանքների էլեկտրոնային հետագծման ստացող |
ստանում է փաստացի ժամանած ապրանքների մասով էլեկտրոնային հետագծումը (այդ թվում՝ փոփոխված տեղեկություններով) |
փաստացի ժամանած ապրանքների հետագծման մասին տեղեկություններ ստացող լիազորված մարմին (P.CP.02.ACT.006) |
|
Փաստացի մեկնող ապրանքների էլեկտրոնային հետագծման ստացող |
ստանում է փաստացի ժամանած ապրանքների մասով էլեկտրոնային հետագծումը (այդ թվում՝ փոփոխված տեղեկություններով) կամ էլեկտրոնային հետագծումը չեղարկելու մասին տեղեկատվություն |
փաստացի մեկնող ապրանքների հետագծման մասին տեղեկություններ ստացող լիազորված մարմին (P.CP.02.ACT.007) |
2. Տեղեկատվական փոխգործակցության կառուցվածքը
7. Ընդհանուր գործընթացի շրջանակներում տեղեկատվական փոխգործակցությունն իրականացվում է Եվրասիական տնտեսական միության անդամ պետությունների լիազորված մարմինների (այսուհետ՝ անդամ պետությունների լիազորված մարմիններ) միջև՝ ընդհանուր գործընթացի ընթացակարգերին համապատասխան՝
տեղեկատվական փոխգործակցություն՝ ապրանքների մասին հայտարարագրից տեղեկությունների հարցում կատարելիս.
տեղեկատվական փոխգործակցություն՝ Միության մաքսային տարածքից ապրանքների մեկնման գործընթացում դրանց փաստացի արտահանման նկատմամբ հսկողություն ապահովելիս.
տեղեկատվական փոխգործակցություն՝ անդամ պետության լիազորված մարմնի հարցման հիման վրա ապրանքների փաստացի արտահանման մասին տեղեկություններ ներկայացնելիս.
տեղեկատվական փոխգործակցություն՝ փաստացի ժամանած ապրանքների հետագծման մասին տեղեկացնելիս.
տեղեկատվական փոխգործակցություն՝ փաստացի մեկնող ապրանքների հետագծման մասին տեղեկացնելիս.
տեղեկատվական փոխգործակցություն՝ Միության մաքսային տարածքից ապրանքների մեկնման մասին տեղեկությունների հարցում կատարելիս։
Անդամ պետությունների լիազորված մարմինների միջև տեղեկատվական փոխգործակցության կառուցվածքը ներկայացված է 1-ին նկարում։
Նկ. 1. Անդամ պետությունների լիազորված մարմինների միջև տեղեկատվական փոխգործակցության կառուցվածք
8. Անդամ պետությունների լիազորված մարմինների միջև տեղեկատվական փոխգործակցությունն իրագործվում է ընդհանուր գործընթացի շրջանակներում: Ընդհանուր գործընթացի կառուցվածքը սահմանված է Տեղեկատվական փոխգործակցության կանոններում:
9. Տեղեկատվական փոխգործակցությամբ սահմանվում է ընդհանուր գործընթացի այն տրանզակցիաների կատարման կարգը, որոնցից յուրաքանչյուրն ընդհանուր գործընթացի մասնակիցների միջև ընդհանուր գործընթացի տեղեկատվական օբյեկտի վիճակների համաժամանակեցման նպատակով հաղորդագրությունների փոխանակում է։ Յուրաքանչյուր տեղեկատվական փոխգործակցության համար սահմանված են ընդհանուր գործընթացի գործառնությունների և այդ գործառնություններին համապատասխանող տրանզակցիաների միջև փոխադարձ կապերը:
10. Ընդհանուր գործընթացի տրանզակցիա կատարելիս նախաձեռնողն իր կողմից իրականացվող գործառնության (սկզբնավորող գործառնության) շրջանակներում ռեսպոնդենտին է ուղարկում հաղորդագրություն-հարցում, որին ի պատասխան՝ ռեսպոնդենտն իր կողմից իրականացվող գործառնության (ընդունող գործառնության) շրջանակներում կարող է ուղարկել կամ չուղարկել հաղորդագրություն-պատասխան՝ կախված ընդհանուր գործընթացի տրանզակցիայի ձևանմուշից։ Հաղորդագրության կազմում տվյալների կառուցվածքը պետք է համապատասխանի Եվրասիական տնտեսական հանձնաժողովի կոլեգիայի 20 թվականի -ի թիվ որոշմամբ հաստատված՝ «Եվրասիական տնտեսական միության անդամ պետությունների մաքսային մարմինների միջև տեղեկությունների փոխանակման ապահովում Եվրասիական տնտեսական միության մաքսային տարածքի սահմաններից դուրս ապրանքների փաստացի արտահանման հսկողության և հաստատման գործընթացում» ընդհանուր գործընթացը Եվրասիական տնտեսական միության ինտեգրված համակարգի միջոցներով իրագործելու համար օգտագործվող էլեկտրոնային փաստաթղթերի և տեղեկությունների ձևաչափերի ու կառուցվածքների նկարագրությանը (այսուհետ՝ Էլեկտրոնային փաստաթղթերի և տեղեկությունների ձևաչափերի ու կառուցվածքների նկարագրություն):
11. Ընդհանուր գործընթացի տրանզակցիաները կատարվում են ընդհանուր գործընթացի տրանզակցիաների տրված պարամետրերին համապատասխան, ինչպես սահմանված է սույն կանոնակարգով։
V. Տեղեկատվական փոխգործակցությունն ընթացակարգերի խմբերի շրջանակներում
1. Տեղեկատվական փոխգործակցություն՝ ապրանքների մասին հայտարարագրից տեղեկությունների հարցում կատարելիս
12. Ապրանքների մասին հայտարարագրից տեղեկությունների հարցում կատարելիս ընդհանուր գործընթացի տրանզակցիաների կատարման սխեման ներկայացված է 2-րդ նկարում։ Ընդհանուր գործընթացի յուրաքանչյուր ընթացակարգի համար 2-րդ աղյուսակում բերված է ընդհանուր գործընթացի գործառնությունների, տեղեկատվական օբյեկտների միջանկյալ և վերջնական վիճակների ու ընդհանուր գործընթացի տրանզակցիաների միջև կապը։
Նկ. 2. Ապրանքների մասին հայտարարագրից տեղեկությունների հարցում կատարելիս ընդհանուր գործընթացի տրանզակցիաների կատարման սխեմա
Աղյուսակ 2
Ապրանքների մասին հայտարարագրից տեղեկությունների հարցում կատարելիս ընդհանուր գործընթացի տրանզակցիաների ցանկ
|
Թիվ՝ ը/կ |
Նախաձեռնողի կողմից կատարվող գործառնությունը |
Ընդհանուր գործընթացի տեղեկատվական օբյեկտի միջանկյալ վիճակը |
Ռեսպոնդենտի կողմից կատարվող գործառնությունը |
Ընդհանուր գործընթացի տեղեկատվական օբյեկտի վերջնական վիճակը |
Ընդհանուր գործընթացի տրանզակցիան |
|
1 |
2 |
3 |
4 |
5 |
6 |
|
1 |
Ապրանքների մասին հայտարարագրից տեղեկությունների հարցում (P.CP.02.PRC.001) | ||||
|
1.1 |
Ապրանքների մասին հայտարարագրից տեղեկությունների հարցում (P.CP.02.OPR.001)։ Ապրանքների մասին հայտարարագրից տեղեկությունների ընդունում և մշակում (P.CP.02.OPR.003) |
ապրանքների մասին հայտարարագրից տեղեկությունները (P.CP.02.BEN.001). հարցվել են |
ապրանքների մասին հայտարարագրից տեղեկությունների ներկայացում (P.CP.02.OPR.002) |
ապրանքների մասին հայտարարագրից տեղեկությունները (P.CP.02.BEN.001). բացակայում են։ Ապրանքների մասին հայտարարագրից տեղեկությունները (P.CP.02.BEN.001). ներկայացվել են |
ապրանքների մասին հայտարարագրից տեղեկությունների ստացում (Р.СР.02.ТRN.001) |
2. Տեղեկատվական փոխգործակցությունը Միության մաքսային տարածքից ապրանքների մեկնման գործընթացում դրանց փաստացի արտահանման նկատմամբ հսկողություն ապահովելիս
13. Ընդհանուր գործընթացի տրանզակցիաների կատարման սխեման Միության մաքսային տարածքից ապրանքների մեկնման գործընթացում դրանց փաստացի արտահանման նկատմամբ հսկողություն ապահովելիս ներկայացված է 3-րդ նկարում։ Ընդհանուր գործընթացի յուրաքանչյուր ընթացակարգի համար 3-րդ աղյուսակում բերված է ընդհանուր գործընթացի գործառնությունների, տեղեկատվական օբյեկտների միջանկյալ և վերջնական վիճակների ու ընդհանուր գործընթացի տրանզակցիաների միջև կապը։
Նկ. 3. Ընդհանուր գործընթացի տրանզակցիաների կատարման սխեման Միության մաքսային տարածքից ապրանքների մեկնման գործընթացում դրանց փաստացի արտահանման մասով հսկողություն ապահովելիս
Աղյուսակ 3
Ընդհանուր գործընթացի տրանզակցիաների ցանկ՝ Միության մաքսային տարածքից ապրանքների մեկնման գործընթացում դրանց փաստացի արտահանման մասով հսկողություն ապահովելիս
|
Թիվ՝ |
Նախաձեռնողի կողմից կատարվող գործառնությունը |
Ընդհանուր գործընթացի տեղեկատվական օբյեկտի միջանկյալ վիճակը |
Ռեսպոնդենտի կողմից կատարվող գործառնությունը |
Ընդհանուր գործընթացի տեղեկատվական օբյեկտի վերջնական վիճակը |
Ընդհանուր գործընթացի տրանզակցիան |
|
1 |
2 |
3 |
4 |
5 |
6 |
|
1 |
Ապրանքների փաստացի արտահանման հաստատում (P.CP.02.PRC.002) | ||||
|
1.1 |
Ապրանքների փաստացի արտահանման մասին տեղեկությունների ներկայացում (P.CP.02.OPR.004)։ Ապրանքների փաստացի արտահանման մասին տեղեկությունների մշակման մասին ծանուցման ստացում (P.CP.02.OPR.006) |
ապրանքների փաստացի արտահանման մասին տեղեկությունները (P.CP.02.BEN.002). ներկայացվել են |
ապրանքների փաստացի արտահանման մասին տեղեկությունների ընդունում և մշակում (P.CP.02.OPR.005) |
ապրանքների փաստացի արտահանման մասին տեղեկությունները (P.CP.02.BEN.002). մշակվել են |
ապրանքների փաստացի արտահանման հաստատում (P.CP.02.TRN.002) |
|
2 |
Ապրանքների փաստացի արտահանման մասին տեղեկությունների չեղարկում (P.CP.02.PRC.003) | ||||
|
2.1 |
Ապրանքների փաստացի արտահանման հաստատումը չեղարկելու մասին տեղեկությունների ներկայացում (P.CP.02.OPR.007)։ Ապրանքների փաստացի արտահանման հաստատումը չեղարկելու մասին տեղեկությունների մշակման մասին ծանուցման ստացում (P.CP.02.OPR.009) |
ապրանքների փաստացի արտահանման մասին տեղեկությունները (P.CP.02.BEN.002). ներկայացվել են չեղարկելու մասին տեղեկություններ |
ապրանքների փաստացի արտահանման հաստատումը չեղարկելու մասին տեղեկությունների ընդունում և մշակում (P.CP.02.OPR.008) |
ապրանքների փաստացի արտահանման մասին տեղեկությունները (P.CP.02.BEN.002). չեղարկվել են |
ապրանքների փաստացի արտահանման մասին տեղեկությունները չեղարկելը (P.CP.02.TRN.003) |
|
3 |
Ապրանքների փաստացի արտահանման մասին տեղեկությունների ճշգրտում (P.CP.02.PRC.005) | ||||
|
3.1 |
Ապրանքների փաստացի արտահանման հաստատումը ճշգրտելու մասին տեղեկությունների ներկայացում (P.CP.02.OPR.013): Ապրանքների փաստացի արտահանման հաստատումը ճշգրտելու մասին տեղեկությունների մշակման մասին ծանուցման ստացում (P.CP.02.OPR.015) |
ապրանքների փաստացի արտահանման մասին տեղեկությունները (P.CP.02.BEN.002). ներկայացվել են ճշգրտելու մասին տեղեկություններ |
ապրանքների փաստացի արտահանման հաստատումը ճշգրտելու մասին տեղեկությունների ընդունում և մշակում (P.CP.02.OPR.0014) |
ապրանքների փաստացի արտահանման մասին տեղեկությունները (P.CP.02.BEN.002). ճշգրտվել են |
ապրանքների փաստացի արտահանման մասին տեղեկությունների ճշգրտում (P.CP.02.TRN.005) |
3. Տեղեկատվական փոխգործակցություն՝ անդամ պետության լիազորված մարմնի հարցման հիման վրա ապրանքների փաստացի արտահանման մասին տեղեկություններ ներկայացնելիս
14. Անդամ պետության լիազորված մարմնի հարցման հիման վրա ապրանքների փաստացի արտահանման մասին տեղեկություններ ներկայացնելիս ընդհանուր գործընթացի տրանզակցիաների կատարման սխեման ներկայացված է 4-րդ նկարում: Ընդհանուր գործընթացի յուրաքանչյուր ընթացակարգի համար 4-րդ աղյուսակում բերված է ընդհանուր գործընթացի գործառնությունների, տեղեկատվական օբյեկտների միջանկյալ և վերջնական վիճակների ու ընդհանուր գործընթացի տրանզակցիաների միջև կապը։
Նկ. 4. Ընդհանուր գործընթացի տրանզակցիաների կատարման սխեմա՝ անդամ պետության լիազորված մարմնի հարցման հիման վրա ապրանքների փաստացի արտահանման մասին տեղեկություններ ներկայացնելիս
Աղյուսակ 4
Ընդհանուր գործընթացի տրանզակցիաների ցանկ՝ անդամ պետության լիազորված մարմնի հարցման հիման վրա ապրանքների փաստացի արտահանման մասին տեղեկություններ ներկայացնելիս
|
Թիվ՝ |
Նախաձեռնողի կողմից կատարվող գործառնությունը |
Ընդհանուր գործընթացի տեղեկատվական օբյեկտի միջանկյալ վիճակը |
Ռեսպոնդենտի կողմից կատարվող գործառնությունը |
Ընդհանուր գործընթացի տեղեկատվական օբյեկտի վերջնական վիճակը |
Ընդհանուր գործընթացի տրանզակցիան |
|
1 |
2 |
3 |
4 |
5 |
6 |
|
1 |
Ապրանքների փաստացի արտահանման մասին տեղեկությունների հարցում (P.CP.02.PRC.004) | ||||
|
1.1 |
Ապրանքների փաստացի արտահանման մասին տեղեկությունների հարցում (P.CP.02.OPR.010)։ Ապրանքների փաստացի արտահանման մասին հարցված տեղեկությունների ընդունում և մշակում (P.CP.02.OPR.012) |
ապրանքների փաստացի արտահանման մասին տեղեկությունները (P.CP.02.BEN.002). հարցվել են |
ապրանքների փաստացի արտահանման մասին տեղեկությունների ներկայացում (P.CP.02.OPR.011) |
ապրանքների փաստացի արտահանման մասին տեղեկությունները (P.CP.02.BEN.002). ներկայացվել են։ Ապրանքների փաստացի արտահանման մասին տեղեկությունները (P.CP.02.BEN.002). բացակայում են |
ապրանքների փաստացի արտահանման մասին տեղեկությունների հարցում (P.CP.02.TRN.004) |
4. Տեղեկատվական փոխգործակցություն՝ փաստացի ժամանած ապրանքների հետագծման մասին տեղեկացնելիս
15. Փաստացի ժամանած ապրանքների հետագծման մասին տեղեկացնելիս ընդհանուր գործընթացի տրանզակցիաների կատարման սխեման ներկայացված է 5-րդ նկարում։ Ընդհանուր գործընթացի յուրաքանչյուր ընթացակարգի համար 5-րդ աղյուսակում բերված է ընդհանուր գործընթացի գործառնությունների, տեղեկատվական օբյեկտների միջանկյալ և վերջնական վիճակների ու ընդհանուր գործընթացի տրանզակցիաների միջև կապը։
Նկ. 5. Միության անդամ չհանդիսացող պետությունների տարածքներով ապրանքների հետագծման մասին տեղեկացնելիս ընդհանուր գործընթացի տրանզակցիաների կատարման սխեմա
Աղյուսակ 5
Ընդհանուր գործընթացի տրանզակցիաների ցանկ՝ փաստացի ժամանած ապրանքների հետագծման մասին տեղեկացնելիս
|
Թիվ՝ |
Նախաձեռնողի կողմից կատարվող գործառնությունը |
Ընդհանուր գործընթացի տեղեկատվական օբյեկտի միջանկյալ վիճակը |
Ռեսպոնդենտի կողմից կատարվող գործառնությունը |
Ընդհանուր գործընթացի տեղեկատվական օբյեկտի վերջնական վիճակը |
Ընդհանուր գործընթացի տրանզակցիան |
|
1 |
2 |
3 |
4 |
5 |
6 |
|
1 |
Փաստացի ժամանած ապրանքների հետագծման մասին տեղեկացնելը (P.CP.02.PRC.006) | ||||
|
1.1 |
Փաստացի ժամանած ապրանքների հետագծման մասին տեղեկությունների ներկայացում (P.CP.02.OPR.016): Փաստացի ժամանած ապրանքների հետագծման մասին տեղեկությունների մշակման մասին ծանուցման ստացում (P.CP.02.OPR.018) |
ապրանքների հետագծման մասին տեղեկությունները (P.CP.02.BEN.003). ներկայացվել են։ |
Փաստացի ժամանած ապրանքների հետագծման մասին տեղեկությունների ընդունում և մշակում (P.CP.02.OPR.017) |
ապրանքների հետագծման մասին տեղեկությունները (P.CP.02.BEN.003). մշակվել են |
ապրանքների հետագծման մասին տեղեկացնելը (P.CP.02.TRN.006) |
|
2 |
Փաստացի ժամանած ապրանքների հետագծման մասին տեղեկությունների ճշգրտում (P.CP.02.PRC.009) | ||||
|
2.1 |
Փաստացի ժամանած ապրանքների հետագծման մասին փոփոխված տեղեկությունների ձևավորում և ներկայացում (P.CP.02.OPR.025)։ Փաստացի ժամանած ապրանքների հետագծման մասին փոփոխված տեղեկությունների մշակման մասին ծանուցման ստացում (P.CP.02.OPR.027) |
ապրանքների հետագծման մասին տեղեկությունները (P.CP.02.BEN.003). ներկայացվել են |
փաստացի ժամանած ապրանքների հետագծման մասին փոփոխված տեղեկությունների ընդունում և մշակում (P.CP 02.OPR.026) |
ապրանքների հետագծման մասին տեղեկությունները (P.CP.02.BEN.003). մշակվել են |
ապրանքների հետագծման մասին տեղեկությունների ճշգրտում (P.CP.02.TRN.007) |
5. Տեղեկատվական փոխգործակցություն՝ փաստացի մեկնող ապրանքների հետագծման մասին տեղեկացնելիս
16. Փաստացի մեկնող ապրանքների հետագծման մասին տեղեկացնելիս ընդհանուր գործընթացի տրանզակցիաների կատարման սխեման ներկայացված է 6-րդ նկարում։ Ընդհանուր գործընթացի յուրաքանչյուր ընթացակարգի համար 6-րդ աղյուսակում բերված է ընդհանուր գործընթացի գործառնությունների, տեղեկատվական օբյեկտների միջանկյալ և վերջնական վիճակների ու ընդհանուր գործընթացի տրանզակցիաների միջև կապը։
Նկ. 6. Ընդհանուր գործընթացի տրանզակցիաների կատարման սխեմա փաստացի մեկնող ապրանքների հետագծման մասին տեղեկացնելիս
Աղյուսակ 6
Ընդհանուր գործընթացի տրանզակցիաների ցանկ՝ փաստացի մեկնող ապրանքների հետագծման մասին տեղեկացնելիս
|
Թիվ՝ |
Նախաձեռնողի կողմից կատարվող գործառնությունը |
Ընդհանուր գործընթացի տեղեկատվական օբյեկտի միջանկյալ վիճակը |
Ռեսպոնդենտի կողմից կատարվող գործառնությունը |
Ընդհանուր գործընթացի տեղեկատվական օբյեկտի վերջնական վիճակը |
Ընդհանուր գործընթացի տրանզակցիան |
|
1 |
2 |
3 |
4 |
5 |
6 |
|
1 |
Փաստացի մեկնող ապրանքների հետագծման մասին տեղեկացնելը (P.CP.02.PRC.007) | ||||
|
1.1 |
Փաստացի մեկնող ապրանքների հետագծման մասին տեղեկությունների ներկայացում (P.CP.02.OPR.019) Փաստացի մեկնող ապրանքների հետագծման մասին տեղեկությունների մշակման մասին ծանուցման ստացում (P.CP.02.OPR.021) |
ապրանքների հետագծման մասին տեղեկությունները (P.CP.02.BEN.003). ներկայացվել են |
փաստացի մեկնող ապրանքների հետագծման մասին տեղեկությունների ընդունում և մշակում (P.CP.02.OPR.020) |
ապրանքների հետագծման մասին տեղեկությունները (P.CP.02.BEN.003). մշակվել են |
ապրանքների հետագծման մասին տեղեկացնելը (P.CP.02.TRN.006) |
|
2 |
Փաստացի մեկնող ապրանքների հետագծման մասին տեղեկությունների ճշգրտում (P.CP.02.PRC.010) | ||||
|
2.1 |
Փաստացի մեկնող ապրանքների հետագծման մասին փոփոխված տեղեկությունների ձևավորում և ներկայացում (P.CP.02.OPR.028)։ Փաստացի մեկնող ապրանքների հետագծման մասին փոփոխված տեղեկությունների մշակման մասին ծանուցման ստացում (P.CP.02.OPR.030) |
ապրանքների հետագծման մասին տեղեկությունները (P.CP.02.BEN.003). ներկայացվել են |
փաստացի մեկնող ապրանքների հետագծման մասին փոփոխված տեղեկությունների ընդունում և մշակում (P.CP 02.OPR.029) |
ապրանքների հետագծման մասին տեղեկությունները (P.CP.02.BEN.003). մշակվել են |
ապրանքների հետագծման մասին տեղեկությունների ճշգրտում (P.CP.02.TRN.007) |
|
3 |
Փաստացի մեկնող ապրանքների հետագծման մասին տեղեկությունների չեղարկում (P.CP.02.PRC.011) | ||||
|
3.1 |
Փաստացի մեկնող ապրանքների հետագծման մասին տեղեկությունների չեղարկման մասին տեղեկատվության ձևավորում և ներկայացում (P.CP.02.OPR.031)։ Փաստացի մեկնող ապրանքների հետագծման մասին տեղեկությունների չեղարկման մասին տեղեկատվության մշակման մասին ծանուցման ստացում (P.CP.02.OPR.033) |
ապրանքների հետագծման մասին տեղեկությունները (P.CP.02.BEN.003). ներկայացվել են |
փաստացի մեկնող ապրանքների հետագծման մասին տեղեկությունների չեղարկման մասին տեղեկատվության ընդունում և մշակում (P.CP 02.OPR.032) |
ապրանքների հետագծման մասին տեղեկությունները (P.CP.02.BEN.003). մշակվել են |
Ապրանքների հետագծման մասին տեղեկությունների չեղարկում (P.CP.02.TRN.008) |
6. Տեղեկատվական փոխգործակցություն՝ Միության մաքսային տարածքից ապրանքների մեկնման մասին տեղեկությունների հարցում կատարելիս
17. Միության մաքսային տարածքից ապրանքների մեկնման մասին տեղեկությունների հարցում կատարելիս ընդհանուր գործընթացի տրանզակցիաների կատարման սխեման ներկայացված է 7-րդ նկարում: Ընդհանուր գործընթացի յուրաքանչյուր ընթացակարգի համար 7-րդ աղյուսակում բերված է ընդհանուր գործընթացի գործառնությունների, տեղեկատվական օբյեկտների միջանկյալ և վերջնական վիճակների ու ընդհանուր գործընթացի տրանզակցիաների միջև կապը։
Նկ. 7.
Նկ. 7. Միության մաքսային տարածքից ապրանքների մեկնման մասին տեղեկությունների հարցում կատարելիս ընդհանուր գործընթացի տրանզակցիաների կատարման սխեմա
Աղյուսակ 7
Միության մաքսային տարածքից ապրանքների մեկնման մասին տեղեկությունների հարցում կատարելիս ընդհանուր գործընթացի տրանզակցիաների ցանկ
|
Թիվ՝ |
Նախաձեռնողի կողմից կատարվող գործառնությունը |
Ընդհանուր գործընթացի տեղեկատվական օբյեկտի միջանկյալ վիճակը |
Ռեսպոնդենտի կողմից կատարվող գործառնությունը |
Ընդհանուր գործընթացի տեղեկատվական օբյեկտի վերջնական վիճակը |
Ընդհանուր գործընթացի տրանզակցիան |
|
1 |
2 |
3 |
4 |
5 |
6 |
|
1 |
Եվրասիական տնտեսական միության մաքսային տարածքից ապրանքների մեկնման մասին տեղեկությունների հարցում (P.CP.02.PRC.008) | ||||
|
1.1 |
Եվրասիական տնտեսական միության մաքսային տարածքից ապրանքների մեկնման մասին տեղեկությունների հարցման ձևավորում և ուղարկում (P.CP.02.OPR.022): Ապրանքների մեկնման մասին հարցված տեղեկությունների ընդունում և մշակում (P.CP.02.OPR.024) |
ապրանքների հետագծման մասին տեղեկությունները (P.CP.02.BEN.003). հարցվել են |
Եվրասիական տնտեսական միության մաքսային տարածքից ապրանքների մեկնման մասին տեղեկությունների ներկայացում (P.CP.02.OPR.023) |
ապրանքների հետագծման մասին տեղեկությունները (P.CP.02.BEN.003). ներկայացվել են։ ապրանքների հետագծման մասին տեղեկությունները (P.CP.02.BEN.003). բացակայում են։ |
ապրանքների մեկնման մասին տեղեկությունների հարցում (P.CP.02.TRN.009) |
VI. Ընդհանուր գործընթացի հաղորդագրությունների նկարագրությունը
18. Ընդհանուր գործընթացն իրագործելիս տեղեկատվական փոխգործակցության շրջանակներում փոխանցվող՝ ընդհանուր գործընթացի հաղորդագրությունների ցանկը բերված է 8-րդ աղյուսակում։ Հաղորդագրության կազմում տվյալների կառուցվածքը պետք է համապատասխանի Էլեկտրոնային փաստաթղթերի և տեղեկությունների ձևաչափերի ու կառուցվածքների նկարագրությանը։ Էլեկտրոնային փաստաթղթերի և տեղեկությունների ձևաչափերի ու կառուցվածքների նկարագրության մեջ համապատասխան կառուցվածքին հղումը սահմանվում է ըստ 8-րդ աղյուսակի 3-րդ սյունակի արժեքի:
Աղյուսակ 8
Ընդհանուր գործընթացի հաղորդագրությունների ցանկ
|
Ծածկագրային նշագիրը |
Անվանումը |
Էլեկտրոնային փաստաթղթի (տեղեկությունների) կառուցվածքը |
|
1 |
2 |
3 |
|
P.CP.02.MSG.001 |
էլեկտրոնային հարցում |
արտահանվող ապրանքների մասին տեղեկությունների հարցում (R.CA.CP.02.001) |
|
P.CP.02.MSG.002 |
էլեկտրոնային պատասխան |
բաց թողնված ապրանքների մասին տեղեկություններ (R.CA.CP.02.004) |
|
P.CP.02.MSG.003 |
էլեկտրոնային հաստատում |
ապրանքների փաստացի արտահանման (հետագծման) մասին տեղեկություններ (R.CA.CP.02.003) |
|
P.CP.02.MSG.004 |
տեղեկությունների հաջող մշակման մասին ծանուցում |
մշակման արդյունքի մասին ծանուցում (R.006) |
|
P.CP.02.MSG.005 |
տեղեկությունների բացակայության մասին ծանուցում |
մշակման արդյունքի մասին ծանուցում (R.006) |
|
P.CP.02.MSG.006 |
ապրանքների փաստացի արտահանման հաստատման էլեկտրոնային չեղարկում |
ապրանքների փաստացի արտահանման (հետագծման) հաստատումը չեղարկելու մասին տեղեկություններ (R.CA.CP.02.002) |
|
P.CP.02.MSG.007 |
ապրանքների փաստացի արտահանման մասին տեղեկությունների հարցում |
ապրանքների փաստացի արտահանման (մեկնման) մասին տեղեկությունների հարցում (R.CA.CP.02.005) |
|
P.CP.02.MSG.008 |
ապրանքների փաստացի արտահանման մասին տեղեկություններ |
ապրանքների փաստացի արտահանման (հետագծման) մասին տեղեկություններ (R.CA.CP.02.003) |
|
P.CP.02.MSG.009 |
ապրանքների փաստացի արտահանման մասին տեղեկությունների էլեկտրոնային փոփոխում |
ապրանքների փաստացի արտահանման (հետագծման) մասին տեղեկություններ (R.CA.CP.02.003) |
|
P.CP.02.MSG.010 |
էլեկտրոնային հետագծում |
ապրանքների փաստացի արտահանման (հետագծման) մասին տեղեկություններ (R.CA.CP.02.003) |
|
P.CP.02.MSG.011 |
ապրանքների հետագծման մասին տեղեկությունների էլեկտրոնային փոփոխում |
ապրանքների փաստացի արտահանման (հետագծման) մասին տեղեկություններ (R.CA.CP.02.003) |
|
P.CP.02.MSG.012 |
ապրանքների հետագծման մասին տեղեկությունների էլեկտրոնային չեղարկում |
ապրանքների փաստացի արտահանման (հետագծման) հաստատումը չեղարկելու մասին տեղեկություններ (R.CA.CP.02.002) |
|
P.CP.02.MSG.013 |
ապրանքների մեկնման մասին տեղեկությունների հարցում |
ապրանքների փաստացի արտահանման (մեկնման) մասին տեղեկությունների հարցում (R.CA.CP.02.005) |
|
P.CP.02.MSG.014 |
ապրանքների մեկնման (հետագծման) մասին տեղեկություններ |
ապրանքների փաստացի արտահանման (հետագծման) մասին տեղեկություններ (R.CA.CP.02.003) |
VII. Ընդհանուր գործընթացի տրանզակցիաների նկարագրությունը
1. «Ապրանքների մասին հայտարարագրից տեղեկությունների ստացում» ընդհանուր գործընթացի տրանզակցիա (P.CP.02.TRN.001)
19. «Ապրանքների մասին հայտարարագրից տեղեկությունների ստացում» ընդհանուր գործընթացի տրանզակցիան (Р.СР.02.ТRN.001) կատարվում է ռեսպոնդենտի կողմից նախաձեռնողին վերջինիս հարցման հիման վրա ապրանքների մասին հայտարարագրերից տեղեկություններ ներկայացնելու համար։ Ընդհանուր գործընթացի նշված տրանզակցիայի կատարման սխեման ներկայացված է 8-րդ նկարում։ Ընդհանուր գործընթացի տրանզակցիայի պարամետրերը բերված են 9-րդ աղյուսակում։
Նկ. 8. «Ապրանքների մասին հայտարարագրից տեղեկությունների ստացում» ընդհանուր գործընթացի տրանզակցիայի (P.CP.02.TRN.001) կատարման սխեմա
Աղյուսակ 9
«Ապրանքների մասին հայտարարագրից տեղեկությունների ստացում» ընդհանուր գործընթացի տրանզակցիայի (P.CP.02.TRN.001) նկարագրություն
|
Թիվ՝ |
Պարտադիր տարրը |
Նկարագրությունը |
|
1 |
2 |
3 |
|
1 |
Ծածկագրային նշագիրը |
P.CP.02.TRN.001 |
|
2 |
Ընդհանուր գործընթացի տրանզակցիայի անվանումը |
ապրանքների մասին հայտարարագրից տեղեկությունների ստացում |
|
3 |
Ընդհանուր գործընթացի տրանզակցիայի ձևանմուշը |
փոխադարձ պարտավորություններ |
|
4 |
Սկզբնավորող դերը |
նախաձեռնող |
|
5 |
Սկզբնավորող գործառնությունը |
ապրանքների մասին հայտարարագրից տեղեկությունների հարցում |
|
6 |
Արձագանքող դերը |
ռեսպոնդենտ |
|
7 |
Ընդունող գործառնությունը |
ապրանքների մասին հայտարարագրից տեղեկությունների մշակում և ներկայացում |
|
8 |
Ընդհանուր գործընթացի տրանզակցիայի կատարման արդյունքը |
ապրանքների մասին հայտարարագրից տեղեկությունները (P.CP.02.BEN.001). բացակայում են ապրանքների մասին հայտարարագրից տեղեկությունները (P.CP.02.BEN.001). ներկայացվել են |
|
9 |
Ընդհանուր գործընթացի տրանզակցիայի պարամետրերը՝ ստացումը հաստատելու համար ժամանակը մշակման համար ընդունումը հաստատելու ժամանակը պատասխանին սպասելու ժամանակը ավտորիզացման հատկանիշը կրկնությունների քանակը |
1 |
|
10 |
Ընդհանուր գործընթացի տրանզակցիայի հաղորդագրությունները՝ սկզբնավորող հաղորդագրությունը պատասխան հաղորդագրությունը |
տեղեկությունների բացակայության մասին ծանուցում (P.CP.02.MSG.005) |
|
11 |
Ընդհանուր գործընթացի տրանզակցիայի հաղորդագրությունների պարամետրերը՝ ԷԹՍ-ի հատկանիշը
|
ոչ |
2. «Ապրանքների փաստացի արտահանման հաստատում» ընդհանուր գործընթացի տրանզակցիա (P.CP.02.TRN.002)
20. «Ապրանքների փաստացի արտահանման հաստատում» ընդհանուր գործընթացի տրանզակցիան (P.CP.02.TRN.002) կատարվում է նախաձեռնողի կողմից ռեսպոնդենտին ապրանքների փաստացի արտահանման մասին տեղեկություններ փոխանցելու համար։ Ընդհանուր գործընթացի նշված տրանզակցիայի կատարման սխեման ներկայացված է 9-րդ նկարում։ Ընդհանուր գործընթացի տրանզակցիայի պարամետրերը բերված են 10-րդ աղյուսակում։
Նկ. 9. «Ապրանքների փաստացի արտահանման հաստատում» ընդհանուր գործընթացի տրանզակցիայի (P.CP.02.TRN.002) կատարման սխեմա
Աղյուսակ 10
«Ապրանքների փաստացի արտահանման հաստատում» ընդհանուր գործընթացի տրանզակցիայի (P.CP.02.TRN.002) նկարագրություն
|
Թիվ՝ ը/կ |
Պարտադիր տարրը |
Նկարագրությունը |
|
1 |
2 |
3 |
|
1 |
Ծածկագրային նշագիրը |
P.CP.02.TRN.002 |
|
2 |
Ընդհանուր գործընթացի տրանզակցիայի անվանումը |
ապրանքների փաստացի արտահանման հաստատում |
|
3 |
Ընդհանուր գործընթացի տրանզակցիայի ձևանմուշը |
փոխադարձ պարտավորություններ |
|
4 |
Սկզբնավորող դերը |
նախաձեռնող |
|
5 |
Սկզբնավորող գործառնությունը |
ապրանքների փաստացի արտահանման մասին տեղեկությունների ներկայացում |
|
6 |
Արձագանքող դերը |
ռեսպոնդենտ |
|
7 |
Ընդունող գործառնությունը |
ապրանքների փաստացի արտահանման մասին տեղեկությունների ընդունում և մշակում |
|
8 |
Ընդհանուր գործընթացի տրանզակցիայի կատարման արդյունքը |
ապրանքների փաստացի արտահանման մասին տեղեկությունները (P.CP.02.BEN.002). մշակվել են |
|
9 |
Ընդհանուր գործընթացի տրանզակցիայի պարամետրերը՝ ստացումը հաստատելու համար ժամանակը մշակման համար ընդունումը հաստատելու ժամանակը պատասխանին սպասելու ժամանակը ավտորիզացման հատկանիշը կրկնությունների քանակը |
5 րոպե
այո 3 |
|
10 |
Ընդհանուր գործընթացի տրանզակցիայի հաղորդագրությունները՝ սկզբնավորող հաղորդագրությունը պատասխան հաղորդագրությունը |
տեղեկությունների հաջող մշակման մասին ծանուցում (P.CP.02.MSG.004) |
|
11 |
Ընդհանուր գործընթացի տրանզակցիայի հաղորդագրությունների պարամետրերը՝ ԷԹՍ-ի հատկանիշը
|
ոչ |
3. «Ապրանքների փաստացի արտահանման մասին տեղեկությունների չեղարկում» ընդհանուր գործընթացի տրանզակցիա (P.CP.02.TRN.003)
21. «Ապրանքների փաստացի արտահանման մասին տեղեկությունների չեղարկում» ընդհանուր գործընթացի տրանզակցիան (P.CP.02.TRN.003) կատարվում է նախաձեռնողի կողմից ռեսպոնդենտին ապրանքների փաստացի արտահանման հաստատումը չեղարկելու մասին տեղեկություններ ներկայացնելու համար։ Ընդհանուր գործընթացի նշված տրանզակցիայի կատարման սխեման ներկայացված է 10-րդ նկարում։ Ընդհանուր գործընթացի տրանզակցիայի պարամետրերը բերված են 11-րդ աղյուսակում։
Նկ. 10. «Ապրանքների փաստացի արտահանման մասին տեղեկությունների չեղարկում» ընդհանուր գործընթացի տրանզակցիայի (P.CP.02.TRN.003) կատարման սխեմա
Աղյուսակ 11
«Ապրանքների փաստացի արտահանման մասին տեղեկությունների չեղարկում» ընդհանուր գործընթացի տրանզակցիայի (P.CP.02.TRN.003) նկարագրությունը
|
Թիվ՝ |
Պարտադիր տարրը |
Նկարագրությունը |
|
1 |
2 |
3 |
|
1 |
Ծածկագրային նշագիրը |
P.CP.02.TRN.003 |
|
2 |
Ընդհանուր գործընթացի տրանզակցիայի անվանումը |
ապրանքների փաստացի արտահանման մասին տեղեկությունների չեղարկում |
|
3 |
Ընդհանուր գործընթացի տրանզակցիայի ձևանմուշը |
փոխադարձ պարտավորություններ |
|
4 |
Սկզբնավորող դերը |
նախաձեռնող |
|
5 |
Սկզբնավորող գործառնությունը |
ապրանքների փաստացի արտահանման հաստատումը չեղարկելու մասին տեղեկությունների ներկայացում |
|
6 |
Արձագանքող դերը |
ռեսպոնդենտ |
|
7 |
Ընդունող գործառնությունը |
ապրանքների փաստացի արտահանման հաստատումը չեղարկելու մասին տեղեկությունների ընդունում և մշակում |
|
8 |
Ընդհանուր գործընթացի տրանզակցիայի կատարման արդյունքը |
ապրանքների փաստացի արտահանման մասին տեղեկությունները (P.CP.02.BEN.002). չեղարկվել են |
|
9 |
Ընդհանուր գործընթացի տրանզակցիայի պարամետրերը՝ ստացումը հաստատելու համար ժամանակը մշակման համար ընդունումը հաստատելու ժամանակը պատասխանին սպասելու ժամանակը ավտորիզացման հատկանիշը կրկնությունների քանակը |
3 |
|
10 |
Ընդհանուր գործընթացի տրանզակցիայի հաղորդագրությունները՝ սկզբնավորող հաղորդագրությունը
|
տեղեկությունների հաջող մշակման մասին ծանուցում (P.CP.02.MSG.004) |
|
11 |
Ընդհանուր գործընթացի տրանզակցիայի հաղորդագրությունների պարամետրերը՝ ԷԹՍ-ի հատկանիշը
|
ոչ |
4.«Ապրանքների փաստացի արտահանման մասին տեղեկությունների հարցում» ընդհանուր գործընթացի տրանզակցիա (P.CP.02.TRN.004)
22. «Ապրանքների փաստացի արտահանման մասին տեղեկությունների հարցում» ընդհանուր գործընթացի տրանզակցիան (P.CP.02.TRN.004) կատարվում է ռեսպոնդենտի կողմից նախաձեռնողին ապրանքների փաստացի արտահանման մասին տեղեկություններ կամ դրանց բացակայության մասին ծանուցում ներկայացնելու համար։ Ընդհանուր գործընթացի նշված տրանզակցիայի կատարման սխեման ներկայացված է 11-րդ նկարում։ Ընդհանուր գործընթացի տրանզակցիայի պարամետրերը բերված են 12-րդ աղյուսակում։
Նկ. 11. «Ապրանքների փաստացի արտահանման մասին տեղեկությունների հարցում» ընդհանուր գործընթացի տրանզակցիայի (P.CP.02.TRN.004) կատարման սխեմա
Աղյուսակ 12
«Ապրանքների փաստացի արտահանման մասին տեղեկությունների հարցում» ընդհանուր գործընթացի տրանզակցիայի (P.CP.02.TRN.004) նկարագրություն
|
Թիվ՝ |
Պարտադիր տարրը |
Նկարագրությունը |
|
1 |
2 |
3 |
|
1 |
Ծածկագրային նշագիրը |
P.CP.02.TRN.004 |
|
2 |
Ընդհանուր գործընթացի տրանզակցիայի անվանումը |
ապրանքների փաստացի արտահանման մասին տեղեկությունների հարցում |
|
3 |
Ընդհանուր գործընթացի տրանզակցիայի ձևանմուշը |
փոխադարձ պարտավորություններ |
|
4 |
Սկզբնավորող դերը |
նախաձեռնող |
|
5 |
Սկզբնավորող գործառնությունը |
ապրանքների փաստացի արտահանման մասին տեղեկությունների հարցում |
|
6 |
Արձագանքող դերը |
ռեսպոնդենտ |
|
7 |
Ընդունող գործառնությունը |
ապրանքների փաստացի արտահանման մասին տեղեկությունների մշակում և ներկայացում |
|
8 |
Ընդհանուր գործընթացի տրանզակցիայի կատարման արդյունքը |
ապրանքների փաստացի արտահանման մասին տեղեկությունները (P.CP.02.BEN.002). ներկայացվել են ապրանքների փաստացի արտահանման մասին տեղեկությունները (P.CP.02.BEN.002). բացակայում են |
|
9 |
Ընդհանուր գործընթացի տրանզակցիայի պարամետրերը՝ ստացումը հաստատելու համար ժամանակը մշակման համար ընդունումը հաստատելու ժամանակը պատասխանին սպասելու ժամանակը ավտորիզացման հատկանիշը կրկնությունների քանակը |
3 |
|
10 |
Ընդհանուր գործընթացի տրանզակցիայի հաղորդագրությունները՝ սկզբնավորող հաղորդագրությունը պատասխան հաղորդագրությունը |
ապրանքների փաստացի արտահանման մասին տեղեկություններ (P.CP.02.MSG.008) տեղեկությունների բացակայության մասին ծանուցում (P.CP.02.MSG.005) |
|
11 |
Ընդհանուր գործընթացի տրանզակցիայի հաղորդագրությունների պարամետրերը՝ ԷԹՍ-ի հատկանիշը
|
ոչ |
5. «Ապրանքների փաստացի արտահանման մասին տեղեկությունների ճշգրտում» ընդհանուր գործընթացի տրանզակցիա (P.CP.02.TRN.005)
23. «Ապրանքների փաստացի արտահանման մասին տեղեկությունների ճշգրտում» ընդհանուր գործընթացի տրանզակցիան (P.CP.02.TRN.005) կատարվում է նախաձեռնողի կողմից ռեսպոնդենտին փաստացի արտահանման հաստատումը ճշգրտելու մասին տեղեկություններ ներկայացնելու համար։ Ընդհանուր գործընթացի նշված տրանզակցիայի կատարման սխեման ներկայացված է 12-րդ նկարում։ Ընդհանուր գործընթացի տրանզակցիայի պարամետրերը բերված են 13-րդ աղյուսակում։
Նկ. 12. «Ապրանքների փաստացի արտահանման մասին տեղեկությունների ճշգրտում» ընդհանուր գործընթացի տրանզակցիայի (P.CP.02.TRN.005) կատարման սխեմա
Աղյուսակ 13
«Ապրանքների փաստացի արտահանման մասին տեղեկությունների ճշգրտում» ընդհանուր գործընթացի տրանզակցիայի (P.CP.02.TRN.005) նկարագրություն
|
Թիվ՝ |
Պարտադիր տարրը |
Նկարագրությունը |
|
1 |
2 |
3 |
|
1 |
Ծածկագրային նշագիրը |
P.CP.02.TRN.005 |
|
2 |
Ընդհանուր գործընթացի տրանզակցիայի անվանումը |
ապրանքների փաստացի արտահանման մասին տեղեկությունների ճշգրտում |
|
3 |
Ընդհանուր գործընթացի տրանզակցիայի ձևանմուշը |
փոխադարձ պարտավորություններ |
|
4 |
Սկզբնավորող դերը |
նախաձեռնող |
|
5 |
Սկզբնավորող գործառնությունը |
ապրանքների փաստացի արտահանման հաստատումը ճշգրտելու մասին տեղեկությունների ներկայացում |
|
6 |
Արձագանքող դերը |
ռեսպոնդենտ |
|
7 |
Ընդունող գործառնությունը |
ապրանքների փաստացի արտահանման հաստատումը ճշգրտելու մասին տեղեկությունների ընդունում և մշակում |
|
8 |
Ընդհանուր գործընթացի տրանզակցիայի կատարման արդյունքը |
ապրանքների փաստացի արտահանման մասին տեղեկությունները (P.CP.02.BEN.002). ճշգրտվել են |
|
9 |
Ընդհանուր գործընթացի տրանզակցիայի պարամետրերը՝ ստացումը հաստատելու համար ժամանակը մշակման համար ընդունումը հաստատելու ժամանակը պատասխանին սպասելու ժամանակը ավտորիզացման հատկանիշը կրկնությունների քանակը |
3 |
|
10 |
Ընդհանուր գործընթացի տրանզակցիայի հաղորդագրությունները՝ սկզբնավորող հաղորդագրությունը
|
տեղեկությունների հաջող մշակման մասին ծանուցում (P.CP.02.MSG.004) |
|
11 |
Ընդհանուր գործընթացի տրանզակցիայի հաղորդագրությունների պարամետրերը՝ ԷԹՍ-ի հատկանիշը
|
ոչ |
6. «Ապրանքների հետագծման մասին ծանուցում» ընդհանուր գործընթացի տրանզակցիա
(P.CP.02.TRN.006)
24. «Ապրանքների հետագծման մասին ծանուցում» ընդհանուր գործընթացի տրանզակցիան (P.CP.02.TRN.006) կատարվում է նախաձեռնողի կողմից ռեսպոնդենտին փաստացի ժամանած ապրանքների հետագծման մասին տեղեկություններ կամ փաստացի մեկնող ապրանքների հետագծման մասին տեղեկություններ ներկայացնելու համար։ Ընդհանուր գործընթացի նշված տրանզակցիայի կատարման սխեման ներկայացված է 13-րդ նկարում։ Ընդհանուր գործընթացի տրանզակցիայի պարամետրերը բերված են 14-րդ աղյուսակում։
Նկ. 13. «Ապրանքների հետագծման մասին ծանուցում» ընդհանուր գործընթացի տրանզակցիայի (P.CP.02.TRN.006) կատարման սխեմա
Աղյուսակ 14
«Ապրանքների հետագծման մասին ծանուցում» ընդհանուր գործընթացի տրանզակցիայի (P.CP.02.TRN.006) նկարագրություն
|
Թիվ՝ |
Պարտադիր տարրը |
Նկարագրությունը |
|
1 |
2 |
3 |
|
1 |
Ծածկագրային նշագիրը |
P.CP.02.TRN.006 |
|
2 |
Ընդհանուր գործընթացի տրանզակցիայի անվանումը |
ապրանքների հետագծման մասին ծանուցում |
|
3 |
Ընդհանուր գործընթացի տրանզակցիայի ձևանմուշը |
փոխադարձ պարտավորություններ |
|
4 |
Սկզբնավորող դերը |
նախաձեռնող |
|
5 |
Սկզբնավորող գործառնությունը |
փաստացի ժամանած ապրանքների հետագծման մասին տեղեկությունների ներկայացում կամ փաստացի մեկնող ապրանքների հետագծման մասին տեղեկությունների ներկայացում |
|
6 |
Արձագանքող դերը |
ռեսպոնդենտ |
|
7 |
Ընդունող գործառնությունը |
փաստացի ժամանած ապրանքների հետագծման մասին տեղեկությունների ընդունում և մշակում կամ փաստացի մեկնող ապրանքների հետագծման մասին տեղեկությունների ընդունում և մշակում |
|
8 |
Ընդհանուր գործընթացի տրանզակցիայի կատարման արդյունքը |
ապրանքների հետագծման մասին տեղեկությունները (P.CP.02.BEN.003). ներկայացվել են ապրանքների հետագծման մասին տեղեկությունները (P.CP.02.BEN.003). մշակվել են |
|
9 |
Ընդհանուր գործընթացի տրանզակցիայի պարամետրերը՝ ստացումը հաստատելու համար ժամանակը մշակման համար ընդունումը հաստատելու ժամանակը պատասխանին սպասելու ժամանակը ավտորիզացման հատկանիշը կրկնությունների քանակը |
5 րոպե
3 |
|
10 |
Ընդհանուր գործընթացի տրանզակցիայի հաղորդագրությունները՝ սկզբնավորող հաղորդագրությունը պատասխան հաղորդագրությունը |
տեղեկությունների հաջող մշակման մասին ծանուցում (P.CP.02.MSG.004) |
|
11 |
Ընդհանուր գործընթացի տրանզակցիայի հաղորդագրությունների պարամետրերը՝ ԷԹՍ-ի հատկանիշը
|
ոչ |
7. «Ապրանքների հետագծման մասին տեղեկությունների ճշգրտում» ընդհանուր գործընթացի տրանզակցիա (P.CP.02.TRN.007)
25. «Ապրանքների հետագծման մասին տեղեկությունների ճշգրտում» ընդհանուր գործընթացի տրանզակցիան (P.CP.02.TRN.007) կատարվում է նախաձեռնողի կողմից ռեսպոնդենտին փաստացի ժամանած ապրանքների հետագծման մասին փոփոխված տեղեկություններ կամ փաստացի մեկնող ապրանքների հետագծման մասին փոփոխված տեղեկություններ ներկայացնելու համար։ Ընդհանուր գործընթացի նշված տրանզակցիայի կատարման սխեման ներկայացված է 14-րդ նկարում։ Ընդհանուր գործընթացի տրանզակցիայի պարամետրերը բերված են 15-րդ աղյուսակում։
Նկ. 14. «Ապրանքների հետագծման մասին տեղեկությունների ճշգրտում» ընդհանուր գործընթացի տրանզակցիայի (P.CP.02.TRN.007) կատարման սխեմա
Աղյուսակ 15
«Ապրանքների հետագծման մասին տեղեկությունների ճշգրտում» ընդհանուր գործընթացի տրանզակցիայի (P.CP.02.TRN.007) նկարագրություն
|
Թիվ՝ ը/կ |
Պարտադիր տարրը |
Նկարագրությունը |
|
1 |
2 |
3 |
|
1 |
Ծածկագրային նշագիրը |
P.CP.02.TRN.007 |
|
2 |
Ընդհանուր գործընթացի տրանզակցիայի անվանումը |
ապրանքների հետագծման մասին տեղեկությունների ճշգրտում |
|
3 |
Ընդհանուր գործընթացի տրանզակցիայի ձևանմուշը |
փոխադարձ պարտավորություններ |
|
4 |
Սկզբնավորող դերը |
նախաձեռնող |
|
5 |
Սկզբնավորող գործառնությունը |
փաստացի ժամանած ապրանքների հետագծման մասին փոփոխված տեղեկությունների ձևավորում և ներկայացում կամ փաստացի մեկնող ապրանքների հետագծման մասին փոփոխված տեղեկությունների ձևավորում և ներկայացում |
|
6 |
Արձագանքող դերը |
ռեսպոնդենտ |
|
7 |
Ընդունող գործառնությունը |
փաստացի ժամանած ապրանքների հետագծման մասին փոփոխված տեղեկությունների ընդունում և մշակում կամ փաստացի մեկնող ապրանքների հետագծման մասին փոփոխված տեղեկությունների ընդունում և մշակում |
|
8 |
Ընդհանուր գործընթացի տրանզակցիայի կատարման արդյունքը |
ապրանքների հետագծման մասին տեղեկությունները (P.CP.02.BEN.003). մշակվել են |
|
9 |
Ընդհանուր գործընթացի տրանզակցիայի պարամետրերը՝ ստացումը հաստատելու համար ժամանակը մշակման համար ընդունումը հաստատելու ժամանակը պատասխանին սպասելու ժամանակը ավտորիզացման հատկանիշը կրկնությունների քանակը |
5 րոպե
3 |
|
10 |
Ընդհանուր գործընթացի տրանզակցիայի հաղորդագրությունները՝ սկզբնավորող հաղորդագրությունը
|
տեղեկությունների հաջող մշակման մասին ծանուցում (P.CP.02.MSG.004) |
|
11 |
Ընդհանուր գործընթացի տրանզակցիայի հաղորդագրությունների պարամետրերը՝ ԷԹՍ-ի հատկանիշը
|
ոչ |
8. «Ապրանքների հետագծման մասին տեղեկությունների չեղարկում» ընդհանուր գործընթացի տրանզակցիա (P.CP.02.TRN.008)
26. «Ապրանքների հետագծման մասին տեղեկությունների չեղարկում» ընդհանուր գործընթացի տրանզակցիան (P.CP.02.TRN.008) կատարվում է նախաձեռնողի կողմից ռեսպոնդենտին փաստացի մեկնող ապրանքների հետագծման մասին տեղեկությունների չեղարկման մասին տեղեկատվություն ներկայացնելու համար։ Ընդհանուր գործընթացի նշված տրանզակցիայի կատարման սխեման ներկայացված է 15-րդ նկարում։ Ընդհանուր գործընթացի տրանզակցիայի պարամետրերը բերված են 16-րդ աղյուսակում։
Նկ. 15. «Ապրանքների հետագծման մասին տեղեկությունների չեղարկում» ընդհանուր գործընթացի տրանզակցիայի (P.CP.02.TRN.008) կատարման սխեմա
Աղյուսակ 16
«Ապրանքների հետագծման մասին տեղեկությունների չեղարկում» ընդհանուր գործընթացի տրանզակցիայի (P.CP.02.TRN.008) նկարագրություն
|
Թիվ՝ |
Պարտադիր տարրը |
Նկարագրությունը |
|
1 |
2 |
3 |
|
1 |
Ծածկագրային նշագիրը |
P.CP.02.TRN.008 |
|
2 |
Ընդհանուր գործընթացի տրանզակցիայի անվանումը |
ապրանքների հետագծման մասին տեղեկությունների չեղարկում |
|
3 |
Ընդհանուր գործընթացի տրանզակցիայի ձևանմուշը |
փոխադարձ պարտավորություններ |
|
4 |
Սկզբնավորող դերը |
նախաձեռնող |
|
5 |
Սկզբնավորող գործառնությունը |
փաստացի մեկնող ապրանքների հետագծման մասին տեղեկությունների չեղարկման մասին տեղեկատվության ձևավորում և ներկայացում |
|
6 |
Արձագանքող դերը |
ռեսպոնդենտ |
|
7 |
Ընդունող գործառնությունը |
փաստացի մեկնող ապրանքների հետագծման մասին տեղեկությունների չեղարկման մասին տեղեկատվության ընդունում և մշակում |
|
8 |
Ընդհանուր գործընթացի տրանզակցիայի կատարման արդյունքը |
ապրանքների հետագծման մասին տեղեկությունները (P.CP.02.BEN.003). մշակվել են |
|
9 |
Ընդհանուր գործընթացի տրանզակցիայի պարամետրերը՝ ստացումը հաստատելու համար ժամանակը մշակման համար ընդունումը հաստատելու ժամանակը պատասխանին սպասելու ժամանակը ավտորիզացման հատկանիշը կրկնությունների քանակը |
3 |
|
10 |
Ընդհանուր գործընթացի տրանզակցիայի հաղորդագրությունները՝ սկզբնավորող հաղորդագրությունը
|
տեղեկությունների հաջող մշակման մասին ծանուցում (P.CP.02.MSG.004) |
|
11 |
Ընդհանուր գործընթացի տրանզակցիայի հաղորդագրությունների պարամետրերը՝ ԷԹՍ-ի հատկանիշը
|
ոչ |
9. «Ապրանքների մեկնման մասին տեղեկությունների հարցում» ընդհանուր գործընթացի տրանզակցիա (P.CP.02.TRN.009)
27. «Ապրանքների մեկնման մասին տեղեկությունների հարցում» ընդհանուր գործընթացի տրանզակցիան (P.CP.02.TRN.009) կատարվում է ռեսպոնդենտի կողմից նախաձեռնողին փաստացի մեկնող ապրանքների հետագծման մասին տեղեկություններ կամ դրանց բացակայության մասին տեղեկատվություն ներկայացնելու համար։ Ընդհանուր գործընթացի նշված տրանզակցիայի կատարման սխեման ներկայացված է 16-րդ նկարում։ Ընդհանուր գործընթացի տրանզակցիայի պարամետրերը բերված են 17-րդ աղյուսակում։
Նկ. 16. «Ապրանքների մեկնման մասին տեղեկությունների հարցում» ընդհանուր գործընթացի տրանզակցիայի (P.CP.02.TRN.009) կատարման սխեմա
Աղյուսակ 17
«Ապրանքների մեկնման մասին տեղեկությունների հարցում» ընդհանուր գործընթացի տրանզակցիայի (P.CP.02.TRN.009) նկարագրություն
|
Թիվ՝ ը/կ |
Պարտադիր տարրը |
Նկարագրությունը |
|
1 |
2 |
3 |
|
1 |
Ծածկագրային նշագիրը |
P.CP.02.TRN.009 |
|
2 |
Ընդհանուր գործընթացի տրանզակցիայի անվանումը |
ապրանքների մեկնման մասին տեղեկությունների հարցում |
|
3 |
Ընդհանուր գործընթացի տրանզակցիայի ձևանմուշը |
փոխադարձ պարտավորություններ |
|
4 |
Սկզբնավորող դերը |
նախաձեռնող |
|
5 |
Սկզբնավորող գործառնությունը |
ապրանքների մեկնման մասին տեղեկությունների հարցում |
|
6 |
Արձագանքող դերը |
ռեսպոնդենտ |
|
7 |
Ընդունող գործառնությունը |
ապրանքների մեկնման մասին տեղեկությունների ներկայացում |
|
8 |
Ընդհանուր գործընթացի տրանզակցիայի կատարման արդյունքը |
ապրանքների հետագծման մասին տեղեկությունները (P.CP.02.BEN.003). ներկայացվել են ապրանքների հետագծման մասին տեղեկությունները (P.CP.02.BEN.003). բացակայում են |
|
9 |
Ընդհանուր գործընթացի տրանզակցիայի պարամետրերը՝ ստացումը հաստատելու համար ժամանակը մշակման համար ընդունումը հաստատելու ժամանակը պատասխանին սպասելու ժամանակը ավտորիզացման հատկանիշը կրկնությունների քանակը |
1 |
|
10 |
Ընդհանուր գործընթացի տրանզակցիայի հաղորդագրությունները՝ սկզբնավորող հաղորդագրությունը
|
ապրանքների մեկնման (հետագծման) մասին տեղեկություններ (P.CP.02.MSG.014) տեղեկությունների բացակայության մասին ծանուցում (P.CP.02.MSG.005) |
|
11 |
Ընդհանուր գործընթացի տրանզակցիայի հաղորդագրությունների պարամետրերը՝ ԷԹՍ-ի հատկանիշը
|
ոչ |
VIII. Արտակարգ իրավիճակներում գործողությունների կարգը
28. Ընդհանուր գործընթացի շրջանակներում տեղեկատվական փոխգործակցության ժամանակ հնարավոր են այնպիսի արտակարգ իրավիճակներ, երբ տվյալների մշակումը չի կարող կատարվել սովորական ռեժիմով։ Արտակարգ իրավիճակներն առաջանում են տեխնիկական խափանումների, սպասման ժամանակը լրանալու և այլ դեպքերում: Ընդհանուր գործընթացի մասնակցի կողմից արտակարգ իրավիճակի առաջացման պատճառների մասին մեկնաբանություններ և այն կարգավորելու վերաբերյալ առաջարկություններ ստանալու համար նախատեսված է ինտեգրված տեղեկատվական համակարգի աջակցության ծառայություն համապատասխան հարցում ուղարկելու հնարավորությունը: Արտակարգ իրավիճակի կարգավորման վերաբերյալ ընդհանուր հանձնարարականները բերված են 18-րդ աղյուսակում:
29. Անդամ պետության լիազորված մարմինն անցկացնում է Էլեկտրոնային փաստաթղթերի և տեղեկությունների ձևաչափերի ու կառուցվածքների նկարագրությանը և սույն կանոնակարգի IX բաժնում նշված՝ էլեկտրոնային փաստաթղթերի և տեղեկությունների լրացմանը ներկայացվող պահանջներին համապատասխանության մասով այն հաղորդագրության ստուգում, որի կապակցությամբ ստացվել է սխալի մասին ծանուցումը: Նշված պահանջներին անհամապատասխանություն հայտնաբերելու դեպքում անդամ պետության լիազորված մարմինը ձեռնարկում է բոլոր անհրաժեշտ միջոցները հայտնաբերված սխալը վերացնելու համար։ Անհամապատասխանություն չհայտնաբերելու դեպքում անդամ պետության լիազորված մարմինն այդ արտակարգ իրավիճակի նկարագրությամբ հաղորդագրություն է ուղարկում ինտեգրված տեղեկատվական համակարգի աջակցության ծառայություն։
Աղյուսակ 18
Գործողություններն արտակարգ իրավիճակներում
|
Արտակարգ իրավիճակի ծածկագիրը |
Արտակարգ իրավիճակի նկարագրությունը |
Արտակարգ իրավիճակի պատճառները |
Արտակարգ իրավիճակի առաջացման դեպքում գործողությունների նկարագրությունը |
|
1 |
2 |
3 |
4 |
|
P.EXC.002 |
ընդհանուր գործընթացի երկկողմ տրանզակցիայի նախաձեռնողը կրկնությունների համաձայնեցված քանակը լրանալուց հետո պատասխան հաղորդագրություն չի ստացել |
տրանսպորտային համակարգում տեխնիկական խափանումները կամ ծրագրային ապահովման համակարգային սխալը |
անհրաժեշտ է հարցում ուղարկել ազգային հատվածի տեխնիկական աջակցության այն ծառայություն, որտեղ ձևավորվել է հաղորդագրությունը |
|
P.EXC.004 |
ընդհանուր գործընթացի տրանզակցիան նախաձեռնողը սխալի մասին ծանուցում է ստացել |
տեղեկագրքերն ու դասակարգիչները չեն համաժամանակեցվել, կամ էլեկտրոնային փաստաթղթերի (տեղեկությունների) XML սխեմաները չեն թարմացվել |
ընդհանուր գործընթացի տրանզակցիայի նախաձեռնողին անհրաժեշտ է համաժամանակեցնել օգտագործվող տեղեկագրքերն ու դասակարգիչները, կամ թարմացնել էլեկտրոնային փաստաթղթերի (տեղեկությունների) XML սխեմաները։ Եթե տեղեկագրքերն ու դասակարգիչները համաժամանակեցվել են, էլեկտրոնային փաստաթղթերի (տեղեկությունների) XML սխեմաները՝ թարմացվել, ապա անհրաժեշտ է հարցում ուղարկել ընդունող մասնակցի աջակցության ծառայություն |
IX. Էլեկտրոնային փաստաթղթերի և տեղեկությունների լրացմանը ներկայացվող պահանջները
30. «Էլեկտրոնային հարցում» հաղորդագրությամբ (P.CP.02.MSG.001) փոխանցվող «Արտահանվող ապրանքների մասին տեղեկությունների հարցում» էլեկտրոնային փաստաթղթերի (տեղեկությունների) վավերապայմանների (R.CA.CP.02.001) լրացմանը ներկայացվող պահանջները բերված են 19-րդ աղյուսակում:
Աղյուսակ 19
«Էլեկտրոնային հարցում» հաղորդագրությամբ (P.CP.02.MSG.001) փոխանցվող «Արտահանվող ապրանքների մասին տեղեկությունների հարցում» էլեկտրոնային փաստաթղթերի (տեղեկությունների) վավերապայմանների (R.CA.CP.02.001) լրացմանը ներկայացվող պահանջներ
|
Պահանջի ծածկագիրը |
Պահանջի ձևակերպումը |
|
1 |
«Մաքսային մարմինը» բարդ վավերապայմանի (ccdo:CustomsOfficeDetails) կազմում «Երկրի ծածկագիրը» վավերապայմանը (csdo:UnifiedCountryCode) պետք է լրացվի, և դրա արժեքը պետք է համապատասխանի երկրի ծածկագրին՝ աշխարհի երկրների դասակարգչից, որը պարունակում է աշխարհի երկրների ծածկագրերի ու անվանումների ցանկը, իսկ «Տեղեկագրքի (դասակարգչի) նույնականացուցիչը» ատրիբուտի (codeListId ատրիբուտ) արժեքը դրա կազմում պետք է համապատասխանի Միության նորմատիվ-տեղեկատու տեղեկատվության ռեեստրում նշված դասակարգչի ծածկագրի արժեքին |
|
2 |
«Մաքսային մարմինը» բարդ վավերապայմանի (ccdo:CustomsOfficeDetails) կազմում «Մաքսային մարմնի ծածկագիրը» վավերապայմանը (csdo:CustomsOfficeCode) պետք է լրացվի, և դրա արժեքը պետք է համապատասխանի Եվրասիական տնտեսական միության անդամ պետությունների մաքսային մարմինների դասակարգչին համապատասխան ծածկագրին |
|
3 |
եթե «Մաքսային մարմինը» բարդ վավերապայմանի (ccdo:CustomsOfficeDetails) կազմում «Երկրի ծածկագիրը» վավերապայմանի (csdo:UnifiedCountryCode) արժեքը չի պարունակում «AM» արժեքը, «Մաքսային մարմնի պաշտոնատար անձը» բարդ վավերապայմանի (cacdo:CustomsPersonDetails) կազմում «Մաքսային մարմնի պաշտոնատար անձի ԱՀԿ-ի համարը» վավերապայմանը (casdo:LNPId) պետք է լրացվի |
|
4 |
եթե «Մաքսային մարմինը» բարդ վավերապայմանի (ccdo:CustomsOfficeDetails) կազմում «Երկրի ծածկագիրը» վավերապայմանի (csdo:UnifiedCountryCode) արժեքը պարունակում է «AM» արժեքը, «ԱԱՀ» բարդ վավերապայմանի (ccdo:FullNameDetails) կազմում «Անունը» վավերապայմանը (csdo:FirstName), «ԱԱՀ» բարդ վավերապայմանի (ccdo:FullNameDetails) կազմում «Ազգանունը» վավերապայմանը (csdo:LastName) և «Մաքսային մարմնի պաշտոնատար անձը» բարդ վավերապայմանի (cacdo:CustomsPersonDetails) կազմում «Պաշտոնի անվանումը» վավերապայմանը (csdo:PositionName) պետք է լրացվեն |
31. «Էլեկտրոնային պատասխան» հաղորդագրությամբ (P.CP.02.MSG.002) փոխանցվող «Բաց թողնված ապրանքների մասին տեղեկություններ» էլեկտրոնային փաստաթղթերի (տեղեկությունների) վավերապայմանների (R.CA.CP.02.004) լրացմանը ներկայացվող պահանջները բերված են 20-րդ աղյուսակում:
Աղյուսակ 20
«Էլեկտրոնային պատասխան» հաղորդագրությամբ (P.CP.02.MSG.002) փոխանցվող «Բաց թողնված ապրանքների մասին տեղեկություններ» էլեկտրոնային փաստաթղթերի (տեղեկությունների) վավերապայմանների (R.CA.CP.02.004) լրացմանը ներկայացվող պահանջներ
|
Պահանջի ծածկագիրը |
Պահանջի ձևակերպումը |
|
1 |
«Մաքսային մարմինը» բարդ վավերապայմանի (ccdo:CustomsOfficeDetails) կազմում «Մաքսային մարմնի ծածկագիրը» վավերապայմանը (csdo:CustomsOfficeCode) պետք է լրացված լինի |
|
2 |
«Մաքսային մարմինը» բարդ վավերապայմանի (ccdo:CustomsOfficeDetails) կազմում «Մաքսային մարմնի ծածկագիրը» վավերապայմանը (csdo:CustomsOfficeCode) պետք է պարունակի արժեք՝ Եվրասիական տնտեսական միության անդամ պետությունների մաքսային մարմինների դասակարգչին համապատասխան |
|
3 |
«Ապրանքը» բարդ վավերապայմանի կազմում «Մաքսային մարմինների կողմից ընդունվող որոշման ծածկագիրը» վավերապայմանը (casdo:CustomsDecisionModeCode) պետք է պարունակի մաքսային մարմինների կողմից ընդունվող որոշումների այն դասակարգչին համապատասխան արժեք, որը պարունակում է մաքսային մարմինների կողմից ընդունվող որոշումների ծածկագրերի և անվանումների ցանկը, իսկ «Տեղեկագրքի (դասակարգչի) նույնականացուցիչը» ատրիբուտի (codeListId ատրիբուտ) արժեքը դրա կազմում պետք է համապատասխանի Միության նորմատիվ-տեղեկատու տեղեկատվության ռեեստրում նշված դասակարգչի ծածկագրի արժեքին |
|
4 |
եթե «Ապրանքը» բարդ վավերապայմանի կազմում «Մաքսային մարմինների կողմից ընդունվող որոշման ծածկագիրը» վավերապայմանը (casdo:CustomsDecisionModeCode) պարունակում է հետևյալ արժեքներից մեկը՝ «10», «11», «12», «13», «14», «Ուղարկողը» բարդ վավերապայմանի (cacdo:ConsignorDetails) կազմում «Երկրի ծածկագիրը» վավերապայմանը (csdo:UnifiedCountryCode) պետք է լրացվի, հակառակ դեպքում նշված վավերապայմանը չի լրացվում |
|
5 |
եթե «Ապրանքը» բարդ վավերապայմանի կազմում «Մաքսային մարմինների կողմից ընդունվող որոշման ծածկագիրը» վավերապայմանը (casdo:CustomsDecisionModeCode) պարունակում է հետևյալ արժեքներից մեկը՝ «10», «11», «12», «13», «14», «Ուղարկողը» բարդ վավերապայմանի (cacdo:ConsignorDetails) կազմում «Սուբյեկտի անվանումը» վավերապայմանը (csdo:SubjectName) պետք է լրացվի, հակառակ դեպքում նշված վավերապայմանը չի լրացվում |
|
6 |
եթե «Ապրանքը» բարդ վավերապայմանի կազմում «Մաքսային մարմինների կողմից ընդունվող որոշման ծածկագիրը» վավերապայմանը (casdo:CustomsDecisionModeCode) պարունակում է հետևյալ արժեքներից մեկը՝ «10», «11», «12», «13», «14», «Ուղարկողը» բարդ վավերապայմանի (cacdo:ConsignorDetails) կազմում «Հասցեն» վավերապայմանը (ccdo:SubjectAddressDetails) պետք է լրացվի, հակառակ դեպքում նշված վավերապայմանը չի լրացվում |
|
7 |
«Ապրանքը» բարդ վավերապայմանի (cacdo:FEGoodsInfoDetails) կազմում «Ապրանքի հերթական համարը» վավերապայմանը (casdo:ConsignmentItemOrdinal) պետք է լրացվի և պետք է պարունակի ապրանքի հերթական համարն ապրանքների մասին հայտարարագրում |
|
8 |
«Ապրանքը» բարդ վավերապայմանի (cacdo:FEGoodsInfoDetails) կազմում «Ապրանքի ծածկագիրն՝ ըստ ԵԱՏՄ ԱՏԳ ԱԱ-ի» վավերապայմանը (csdo:CommodityCode) պետք է լրացվի |
|
9 |
«Համաքաշը» վավերապայմանի (csdo:UnifiedGrossMassMeasure) կազմում «Չափման միավորը» ատրիբուտի (measurementUnitCode ատրիբուտ) արժեքը պետք է համապատասխանի չափման միավորների այն դասակարգչին համապատասխան ծածկագրին, որը պարունակում է չափման միավորների ծածկագրերի, պայմանական նշագրերի և անվանումների ցանկը, իսկ «Տեղեկագրքի (դասակարգչի) նույնականացուցիչը» ատրիբուտի (codeListId ատրիբուտ) արժեքը դրա կազմում պետք է համապատասխանի Միության նորմատիվ-տեղեկատու տեղեկատվության ռեեստրում նշված դասակարգչի ծածկագրի արժեքին |
|
10 |
եթե «Ապրանքը» բարդ վավերապայմանի կազմում «Մաքսային մարմինների կողմից ընդունվող որոշման ծածկագիրը» վավերապայմանը (casdo:CustomsDecisionModeCode) պարունակում է հետևյալ արժեքներից մեկը՝ «10», «11», «12», «13», «14», «Համաքաշը» վավերապայմանը (csdo:UnifiedGrossMassMeasure) պետք է լրացվի, հակառակ դեպքում նշված վավերապայմանը չի լրացվում։ |
|
11 |
եթե «Ապրանքը» բարդ վավերապայմանի կազմում «Մաքսային մարմինների կողմից ընդունվող որոշման ծածկագիրը» վավերապայմանը (casdo:CustomsDecisionModeCode) պարունակում է հետևյալ արժեքներից մեկը՝ «10», «11», «12», «13», «14», «Ապրանքը» բարդ վավերապայմանի (cacdo:FEGoodsInfoDetails) կազմում «Ապրանքի մնացորդը» վավերապայմանը (casdo:RemainGrossWeightMeasure) պետք է լրացվի, հակառակ դեպքում նշված վավերապայմանը չի լրացվում |
|
12 |
եթե «Ապրանքը» բարդ վավերապայմանի կազմում «Մաքսային մարմինների կողմից ընդունվող որոշման ծածկագիրը» վավերապայմանը (casdo:CustomsDecisionModeCode) պարունակում է հետևյալ արժեքներից մեկը՝ «10», «11», «12», «13», «14», «Ապրանքը» բարդ վավերապայմանի (cacdo:FEGoodsInfoDetails) կազմում «Զտաքաշը» վավերապայմանը (csdo:UnifiedNetMassMeasure) պետք է լրացվի, հակառակ դեպքում նշված վավերապայմանը չի լրացվում |
|
13 |
«Փաստաթղթի մասին տեղեկություններ» բարդ վավերապայմանի (cacdo:CADocDetails) լրացման դեպքում «Փաստաթղթի տեսակի ծածկագիրը» վավերապայմանը (csdo:DocKindCode) դրա կազմում պետք է լրացվի, և դրա արժեքը պետք է համապատասխանի փաստաթղթերի և տեղեկությունների տեսակների նշված դասակարգչին համապատասխան ծածկագրին, իսկ «Տեղեկագրքի (դասակարգչի) նույնականացուցիչը» ատրիբուտի (codeListId ատրիբուտ) արժեքը դրա կազմում պետք է համապատասխանի Միության նորմատիվ-տեղեկատու տեղեկատվության ռեեստրում նշված դասակարգչի ծածկագրի արժեքին |
|
14 |
«Փաստաթղթի մասին տեղեկություններ» բարդ վավերապայմանը (cacdo:CADocDetails) լրացնելիս «Փաստաթղթի համարը» վավերապայմանը (csdo:DocId) դրա կազմում պետք է լրացվի |
|
15 |
եթե «Ապրանքը» բարդ վավերապայմանի կազմում «Մաքսային մարմինների կողմից ընդունվող որոշման ծածկագիրը» վավերապայմանը (casdo:CustomsDecisionModeCode) պարունակում է հետևյալ արժեքներից մեկը՝ «10», «11», «12», «13», «14», «Տրանսպորտային միջոցը սահմանին» բարդ վավերապայմանի (cacdo:BorderTransports Details) կազմում «Տրանսպորտի տեսակի ծածկագիրը» վավերապայմանը (csdo:UnifiedTransportModeCode) պետք է լրացվի, հակառակ դեպքում նշված վավերապայմանը չի լրացվում |
|
16 |
«Տրանսպորտային միջոցը սահմանին» բարդ վավերապայմանի (cacdo:BorderTransports Details) կազմում «Տրանսպորտի տեսակի ծածկագիրը» վավերապայմանի (csdo:UnifiedTransportModeCode) արժեքը պետք է համապատասխանի տրանսպորտի և ապրանքների տրանսպորտային փոխադրման տեսակների դասակարգչին համապատասխան ծածկագրին, իսկ «Տեղեկագրքի (դասակարգչի) նույնականացուցիչը» ատրիբուտի (codeListId ատրիբուտ) արժեքը դրա կազմում պետք է համապատասխանի Միության նորմատիվ-տեղեկատու տեղեկատվության ռեեստրում նշված դասակարգչի ծածկագրի արժեքին |
|
17 |
«Ապրանքի փաստացի արտահանումը։ Արտահանման ենթակա ապրանքների խմբաքանակի մասին տեղեկություններ» բարդ վավերապայմանի (cacdo:FEConsignmentDetails) կազմում «Մաքսային մարմնի ծածկագիրը» վավերապայմանը (csdo:CustomsOfficeCode) պետք է լրացվի, և դրա արժեքը պետք է համապատասխանի Եվրասիական տնտեսական միության անդամ պետությունների մաքսային մարմինների դասակարգչին համապատասխան ծածկագրին |
|
18 |
«Ապրանքը» բարդ վավերապայմանի (cacdo:FEGoodsInfoDetails) կազմում «Ապրանքի անվանումը» վավերապայմանը (casdo:GoodsDescriptionText) պետք է լրացվի |
|
19 |
«Ապրանքը» բարդ վավերապայմանի (cacdo:FEGoodsInfoDetails) կազմում «Մաքսային մարմինների կողմից ընդունվող որոշման ծածկագիրը» վավերապայմանը (casdo:CustomsDecisionModeCode) պետք է լրացվի |
|
20 |
եթե «Ապրանքը» բարդ վավերապայմանի կազմում «Մաքսային մարմինների կողմից ընդունվող որոշման ծածկագիրը» վավերապայմանը (casdo:CustomsDecisionModeCode) պարունակում է հետևյալ արժեքներից մեկը՝ «10», «11», «12», «13», «14», «Ապրանքը» բարդ վավերապայմանի (cacdo:FEGoodsInfoDetails) կազմում «Մաքսային ընթացակարգի ծածկագիրը» վավերապայմանը (casdo:CustomsProcedureCode) պետք է լրացվի |
|
21 |
«Ապրանքը» բարդ վավերապայմանի (cacdo:FEGoodsInfoDetails) կազմում «Մաքսային ընթացակարգի ծածկագիրը» վավերապայմանի (casdo:CustomsProcedureCode) արժեքը պետք է համապատասխանի կա՛մ մաքսային ընթացակարգերի տեսակների դասակարգչին համապատասխան ծածկագրին, կա՛մ «00» ծածկագրին այն դեպքում, երբ ապրանքները բաց են թողնվել որպես պաշար, իսկ «Տեղեկագրքի (դասակարգչի) նույնականացուցիչը» ատրիբուտի (measurementUnitCodeListId ատրիբուտ) արժեքը դրա կազմում պետք է համապատասխանի Միության նորմատիվ-տեղեկատու տեղեկատվության ռեեստրում նշված դասակարգչի ծածկագրի արժեքին |
|
22 |
եթե «Ապրանքը» բարդ վավերապայմանի կազմում «Մաքսային մարմինների կողմից ընդունվող որոշման ծածկագիրը» վավերապայմանը (casdo:CustomsDecisionModeCode) պարունակում է հետևյալ արժեքներից մեկը՝ «10», «11», «12», «13», «14», «Ապրանքը» բարդ վավերապայմանի (cacdo:FEGoodsInfoDetails) կազմում «Ապրանքի լիակատար արտահանման հատկանիշը» վավերապայմանը (casdo:GoodsFullyExportedIndicator) պետք է լրացվի |
|
23 |
եթե «Ապրանքը» բարդ վավերապայմանի կազմում «Մաքսային մարմինների կողմից ընդունվող որոշման ծածկագիրը» վավերապայմանը (casdo:CustomsDecisionModeCode) պարունակում է հետևյալ արժեքներից մեկը՝ «10», «11», «12», «13», «14», «Նշանակման երկիրը» բարդ վավերապայմանի (cacdo:DestinationCountryDetails) կազմում «Երկրի կրճատ անվանումը» վավերապայմանը (casdo:ShortCountryName) պետք է լրացվի |
32. «Էլեկտրոնային հաստատումը» հաղորդագրությամբ (P.CP.02.MSG.003) փոխանցվող «Ապրանքների փաստացի արտահանման (հետագծման) մասին տեղեկություններ» էլեկտրոնային փաստաթղթերի (տեղեկությունների) վավերապայմանների (R.CA.CP.02.003) լրացմանը ներկայացվող պահանջները բերված են 21-րդ աղյուսակում:
Աղյուսակ 21
«Էլեկտրոնային հաստատումը» հաղորդագրությամբ (P.CP.02.MSG.003) փոխանցվող «Ապրանքների փաստացի արտահանման (հետագծման) մասին տեղեկություններ» էլեկտրոնային փաստաթղթերի (տեղեկությունների) վավերապայմանների (R.CA.CP.02.003) լրացմանը ներկայացվող պահանջներ
|
Պահանջի ծածկագիրը |
Պահանջի ձևակերպումը |
|
1 |
էլեկտրոնային փաստաթուղթը (տեղեկությունները) պետք է պարունակի «Ապրանքների փաստացի արտահանումը։ Ապրանքների արտահանման (հետագծման) մասին տեղեկություններ» վավերապայմանի (cacdo:FEFactDetails) միայն 1 օրինակ |
|
2 |
էլեկտրոնային փաստաթուղթը (տեղեկությունները) պետք է պարունակի «Մաքսային մարմինը» վավերապայմանի (cacdo:CustomsOfficeFunctionalDetails) միայն 1 օրինակ |
|
3 |
«Մաքսային մարմինը» բարդ վավերապայմանի (cacdo:CustomsOfficeFunctionalDetails) կազմում «Մաքսային մարմնի ծածկագիրը» վավերապայմանը (csdo:CustomsOfficeCode) պետք է լրացվի |
|
4 |
«Մաքսային մարմինը» բարդ վավերապայմանի (cacdo:CustomsOfficeFunctionalDetails) կազմում «Երկրի ծածկագիրը» վավերապայմանը (csdo:UnifiedCountryCode) պետք է լրացվի, և դրա արժեքը պետք է համապատասխանի երկրի ծածկագրին՝ աշխարհի երկրների դասակարգչից, իսկ «Տեղեկագրքի (դասակարգչի) նույնականացուցիչը» ատրիբուտի (codeListId ատրիբուտ) արժեքը դրա կազմում պետք է համապատասխանի Միության նորմատիվ-տեղեկատու տեղեկատվության ռեեստրում նշված դասակարգչի ծածկագրի արժեքին |
|
5 |
«Մաքսային մարմինը» բարդ վավերապայմանի (cacdo:CustomsOfficeFunctionalDetails) կազմում «Դերի ծածկագիրը» վավերապայմանը (casdo:RoleCode) պետք է լրացվի, և դրա արժեքը պետք է համապատասխանի «01»-ին՝ «մեկնման վայրի մաքսային մարմին» |
|
6 |
եթե «Տրանսպորտային միջոցը սահմանին» վավերապայմանը (cacdo:BorderTransportDetails) լրացվել է, ապա «Տրանսպորտային միջոցի մասին տեղեկատվություն» վավերապայմանը (cacdo:TransportMeansRegistrationIdDetails) դրա կազմում պետք է լրացվի |
|
7 |
եթե «Մաքսային մարմինը» բարդ վավերապայմանի (cacdo:CustomsOfficeFunctionalDetails) կազմում «Երկրի ծածկագիրը» վավերապայմանի (csdo:UnifiedCountryCode) արժեքը չի պարունակում «AM» արժեքը, «Մաքսային մարմնի պաշտոնատար անձը» բարդ վավերապայմանի (cacdo:CustomsPersonDetails) կազմում «Մաքսային մարմնի պաշտոնատար անձի ԱՀԿ-ի համարը» վավերապայմանը (casdo:LNPId) պետք է լրացվի |
|
8 |
եթե «Մաքսային մարմինը» բարդ վավերապայմանի (cacdo:CustomsOfficeFunctionalDetails) կազմում «Երկրի ծածկագիրը» վավերապայմանի (csdo:UnifiedCountryCode) արժեքը պարունակում է «AM» արժեքը, «ԱԱՀ» բարդ վավերապայմանի (ccdo:FullNameDetails) կազմում «Անունը» վավերապայմանը (csdo:FirstName), «ԱԱՀ» բարդ վավերապայմանի (ccdo:FullNameDetails) կազմում «Ազգանունը» վավերապայմանը (csdo:LastName) և «Մաքսային մարմնի պաշտոնատար անձը» բարդ վավերապայմանի (cacdo:CustomsPersonDetails) կազմում «Պաշտոնի անվանումը» վավերապայմանը (csdo:PositionName) պետք է լրացվեն |
|
9 |
«Ապրանքը» բարդ վավերապայմանի (cacdo:FEGoodsInfoDetails) կազմում «Ապրանքների մնացորդը լրացուցիչ չափման միավորով» վավերապայմանը (cacdo:RemainGoodsMeasureDetails) չի լրացվում |
|
10 |
«Ապրանքը» բարդ վավերապայմանի (cacdo:FEGoodsInfoDetails) կազմում «Ապրանքի մնացորդը» վավերապայմանը (casdo:RemainGrossWeightMeasure) չի լրացվում |
|
11 |
եթե «Փաստաթղթի մասին տեղեկություններ» վավերապայմանը (cacdo:CADocDetails) լրացվել է, ապա «Փաստաթղթի տեսակի ծածկագիրը» վավերապայմանը (csdo:DocKindCode) դրա կազմում պետք է լրացվի, և դրա արժեքը պետք է համապատասխանի փաստաթղթերի և տեղեկությունների տեսակների դասակարգչին համապատասխան ծածկագրին, իսկ «Տեղեկագրքի (դասակարգչի) նույնականացուցիչը» ատրիբուտի (codeListId ատրիբուտ) արժեքը դրա կազմում պետք է համապատասխանի Միության նորմատիվ-տեղեկատու տեղեկատվության ռեեստրում նշված դասակարգչի ծածկագրի արժեքին |
|
12 |
եթե «Փաստաթղթի մասին տեղեկություններ» վավերապայմանը (cacdo:CADocDetails) լրացվել է, ապա «Փաստաթղթի համարը» վավերապայմանը (csdo:DocId) դրա կազմում պետք է լրացվի։ Եթե տրանսպորտային (փոխադրման) փաստաթուղթը չունի համար, կատարվում է «ա/հ» նշումը |
|
13 |
եթե «Մաքսային մարմինը» բարդ վավերապայմանի (cacdo:CustomsOfficeFunctionalDetails) կազմում «Մաքսային մարմնի ծածկագիրը» վավերապայմանը (csdo:CustomsOfficeCode) լրացվել է, ապա դրա արժեքը պետք է համապատասխանի ծածկագրին՝ Եվրասիական տնտեսական միության անդամ պետությունների մաքսային մարմինների դասակարգչին համապատասխան, որը պարունակում է Միության անդամ պետությունների մաքսային մարմինների ծածկագրերի և անվանումների ցանկը |
|
14 |
եթե «Տրանսպորտային միջոցը սահմանին» վավերապայմանը (cacdo:BorderTransportsDetails) լրացվել է, ապա «Տրանսպորտի տեսակի ծածկագիրը» վավերապայմանը (csdo:UnifiedTransportModeCode) դրա կազմում պետք է լրացվի, և դրա արժեքը պետք է համապատասխանի տրանսպորտի և ապրանքների տրանսպորտային փոխադրման տեսակների դասակարգչին համապատասխան ծածկագրին, իսկ «Տեղեկագրքի (դասակարգչի) նույնականացուցիչը» ատրիբուտի (codeListId ատրիբուտ) արժեքը դրա կազմում պետք է համապատասխանի Միության նորմատիվ-տեղեկատու տեղեկատվության ռեեստրում նշված դասակարգչի ծածկագրի արժեքին |
|
15 |
«Ապրանքը» բարդ վավերապայմանի (cacdo:FEGoodsInfoDetails) կազմում «Բազմաշրջանառու տարայի հատկանիշը» վավերապայմանը (casdo:ReusableContainerIndicator) պետք է լրացվի յուրաքանչյուր ապրանքի համար, կարող է պարունակել հետևյալ արժեքները՝ «true»՝ ապրանքը բազմաշրջանառու տարա է, «false»՝ ապրանքը բազմաշրջանառու տարա չէ |
|
16 |
«Ապրանքը» բարդ վավերապայմանի (cacdo:FEGoodsInfoDetails) կազմում «Ապրանքի լիակատար արտահանման հատկանիշը» վավերապայմանը (casdo:GoodsFullyExportedIndicator) պետք է լրացվի և կարող է պարունակել հետևյալ արժեքները՝ «true»՝ մաքսային ընթացակարգով ձևակերպված ապրանքն արտահանվել է ամբողջությամբ, «false»՝ մաքսային ընթացակարգով ձևակերպված ապրանքն արտահանվել է ոչ ամբողջությամբ |
|
17 |
եթե «Բազմաշրջանառու տարայի հատկանիշը» վավերապայմանը (casdo:ReusableContainerIndicator) «Արտահանվող ապրանքի մասին տեղեկատվություն» վավերապայմանում (cacdo:FEGoodsDetails) սահմանված թեկուզ մեկ ապրանքի համար ունի «false» արժեքը, ապա «Մաքսային մարմինը» վավերապայմանի (ccdo:CustomsOfficeDetails) կազմում «Տրանսպորտային միջոցը սահմանին» վավերապայմանը (cacdo:BorderTransportsDetails) և «Մաքսային մարմնի ծածկագիրը» վավերապայմանը (csdo:CustomsOfficeCode) պետք է լրացվեն |
|
18 |
եթե «Ապրանքը» բարդ վավերապայմանի (cacdo:FEGoodsInfoDetails) որոշակի օրինակի կազմում «Բազմաշրջանառու տարայի հատկանիշը» վավերապայմանը (casdo:ReusableContainerIndicator) ունի «true» արժեքը, և «Ապրանքի լիակատար արտահանման հատկանիշը» վավերապայմանը (casdo:GoodsFullyExportedIndicator) ունի «false» արժեքը, ապա՝ «Ապրանքի հերթական համարը» (casdo:ConsignmentItemOrdinal), «Ապրանքի ծածկագիրը՝ ըստ ԵԱՏՄ ԱՏԳ ԱԱ-ի» (csdo:CommodityCode), «Ապրանքի անվանումը» (casdo:GoodsDescriptionText), «Համաքաշը» (csdo:UnifiedGrossMassMeasure), «Ապրանքի քանակը» (cacdo:GoodsMeasureDetails) վավերապայմանները «Ապրանքը» բարդ վավերապայմանի (cacdo:FEGoodsInfoDetails) նշված օրինակի կազմում պետք է լրացվեն |
|
19 |
եթե «Ապրանքը» բարդ վավերապայմանի (cacdo:FEGoodsInfoDetails) որոշակի օրինակի կազմում «Բազմաշրջանառու տարայի հատկանիշը» վավերապայմանը (casdo:ReusableContainerIndicator) ունի «true» արժեքը, և «Ապրանքի լիակատար արտահանման հատկանիշը» վավերապայմանը (casdo:GoodsFullyExportedIndicator) ունի «false» արժեքը, ապա՝ «Փաստաթղթի տեսակի ծածկագիրը» (csdo:DocKindCode), «Փաստաթղթի համարը» (csdo:DocId) վավերապայմանները «Արտահանվող ապրանքի մասին տեղեկատվություն» բարդ վավերապայմանի (cacdo:FEGoodsDetails) շրջանակներում «Ապրանքը» բարդ վավերապայմանի (cacdo:FEGoodsInfoDetails) նշված օրինակի հետ կապված «Փաստաթղթի մասին տեղեկություններ» բարդ վավերապայմանի (cacdo:CADocDetails) կազմում պետք է լրացվեն |
|
20 |
եթե «Ապրանքը» բարդ վավերապայմանի (cacdo:FEGoodsInfoDetails) որոշակի օրինակի կազմում «Բազմաշրջանառու տարայի հատկանիշը» վավերապայմանը (casdo:ReusableContainerIndicator) ունի «true» արժեքը, և «Ապրանքի լիակատար արտահանման հատկանիշը» վավերապայմանը (casdo:GoodsFullyExportedIndicator) ունի «true» արժեքը, ապա «Ապրանքը» բարդ վավերապայմանի (cacdo:FEGoodsInfoDetails) նշված օրինակի կազմում «Մաքսային փաստաթղթի գրանցման համարը» վավերապայմանը (cacdo:CustomsDeclarationIdDetails) պետք է լրացվի |
|
21 |
եթե «Ապրանքը» բարդ վավերապայմանի (cacdo:FEGoodsInfoDetails) որոշակի օրինակի կազմում «Բազմաշրջանառու տարայի հատկանիշը» վավերապայմանը (casdo:ReusableContainerIndicator) ունի «true» արժեքը, և «Ապրանքի լիակատար արտահանման հատկանիշը» վավերապայմանը (casdo:GoodsFullyExportedIndicator) ունի «true» արժեքը, ապա՝ «Ապրանքի հերթական համարը» (casdo:ConsignmentItemOrdinal), «Ապրանքի ծածկագիրը՝ ըստ ԵԱՏՄ ԱՏԳ ԱԱ-ի» (csdo:CommodityCode), «Ապրանքի անվանումը» (casdo:GoodsDescriptionText), «Համաքաշը» (csdo:UnifiedGrossMassMeasure), «Ապրանքի քանակը» (cacdo:GoodsMeasureDetails) վավերապայմանները «Ապրանքը» բարդ վավերապայմանի (cacdo:FEGoodsInfoDetails) նշված օրինակի կազմում չեն լրացվում |
|
22 |
եթե «Ապրանքը» բարդ վավերապայմանի (cacdo:FEGoodsInfoDetails) որոշակի օրինակի կազմում «Բազմաշրջանառու տարայի հատկանիշը» վավերապայմանը (casdo:ReusableContainerIndicator) ունի «true» արժեքը, և «Ապրանքի լիակատար արտահանման հատկանիշը» վավերապայմանը (casdo:GoodsFullyExportedIndicator) ունի «true» արժեքը, ապա՝ «Փաստաթղթի տեսակի ծածկագիրը» (csdo:DocKindCode), «Փաստաթղթի համարը» (csdo:DocId) վավերապայմանները «Արտահանվող ապրանքի մասին տեղեկատվություն» բարդ վավերապայմանի (cacdo:FEGoodsDetails) շրջանակներում «Ապրանքը» բարդ վավերապայմանի (cacdo:FEGoodsInfoDetails) նշված օրինակի հետ կապված «Փաստաթղթի մասին տեղեկություններ» բարդ վավերապայմանի (cacdo:CADocDetails) կազմում չեն լրացվում |
|
23 |
եթե «Ապրանքը» բարդ վավերապայմանի (cacdo:FEGoodsInfoDetails) որոշակի օրինակի կազմում «Բազմաշրջանառու տարայի հատկանիշը» վավերապայմանը (casdo:ReusableContainerIndicator) ունի «false» արժեքը, ապա՝ «Ապրանքի հերթական համարը» (casdo:ConsignmentItemOrdinal), «Ապրանքի ծածկագիրը՝ ըստ ԵԱՏՄ ԱՏԳ ԱԱ-ի» (csdo:CommodityCode), «Ապրանքի անվանումը» (casdo:GoodsDescriptionText), «Համաքաշը» (csdo:UnifiedGrossMassMeasure) վավերապայմանները «Ապրանքը» (cacdo:FEGoodsInfoDetails) բարդ վավերապայմանի նշված օրինակի կազմում պետք է լրացվեն |
|
24 |
եթե «Ապրանքը» բարդ վավերապայմանի (cacdo:FEGoodsInfoDetails) որոշակի օրինակի կազմում «Բազմաշրջանառու տարայի հատկանիշը» վավերապայմանը (casdo:ReusableContainerIndicator) ունի «false» արժեքը, ապա՝ «Փաստաթղթի տեսակի ծածկագիրը» (csdo:DocKindCode), «Փաստաթղթի համարը» (csdo:DocId) վավերապայմանները «Արտահանվող ապրանքի մասին տեղեկատվություն» բարդ վավերապայմանի (cacdo:FEGoodsDetails) շրջանակներում «Ապրանքը» բարդ վավերապայմանի (cacdo:FEGoodsInfoDetails) նշված օրինակի հետ կապված «Փաստաթղթի մասին տեղեկություններ» բարդ վավերապայմանի (cacdo:CADocDetails) կազմում պետք է լրացվեն |
|
25 |
եթե «Ապրանքը» բարդ վավերապայմանի (cacdo:FEGoodsInfoDetails) որոշակի օրինակի կազմում «Բազմաշրջանառու տարայի հատկանիշը» վավերապայմանը (casdo:ReusableContainerIndicator) ունի «false» արժեքը, ապա «Ապրանքը» բարդ վավերապայմանի (cacdo:FEGoodsInfoDetails) նշված օրինակի կազմում «Մաքսային փաստաթղթի գրանցման համարը» վավերապայմանը (cacdo:CustomsDeclarationIdDetails) չի լրացվում |
33. «Տեղեկությունների հաջող մշակման մասին ծանուցումը» հաղորդագրությամբ (P.CP.02.MSG.004) փոխանցվող «Մշակման արդյունքի մասին ծանուցումը» էլեկտրոնային փաստաթղթերի (տեղեկությունների) վավերապայմանների (R.006) լրացմանը ներկայացվող պահանջները բերված են 22-րդ աղյուսակում:
Աղյուսակ 22
«Տեղեկությունների հաջող մշակման մասին ծանուցումը» հաղորդագրությամբ (P.CP.02.MSG.004) փոխանցվող «Մշակման արդյունքի մասին ծանուցումը» էլեկտրոնային փաստաթղթերի (տեղեկությունների) վավերապայմանների (R.006) լրացմանը ներկայացվող պահանջներ
|
Պահանջի ծածկագիրը |
Պահանջի ձևակերպումը |
|
1 |
«Մշակման արդյունքի ծածկագիրը» վավերապայմանը (csdo:ProcessingResultV2Code) պետք է պարունակի «2» արժեքը |
34. «Տեղեկությունների բացակայության մասին ծանուցումը» հաղորդագրությամբ (P.CP.02.MSG.005) փոխանցվող «Մշակման արդյունքի մասին ծանուցումը» էլեկտրոնային փաստաթղթերի (տեղեկությունների) վավերապայմանների (R.006) լրացմանը ներկայացվող պահանջները բերված են 23-րդ աղյուսակում:
Աղյուսակ 23
«Տեղեկությունների բացակայության մասին ծանուցումը» հաղորդագրությամբ (P.CP.02.MSG.005) փոխանցվող «Մշակման արդյունքի մասին ծանուցումը» էլեկտրոնային փաստաթղթերի (տեղեկությունների) վավերապայմանների (R.006) լրացմանը ներկայացվող պահանջներ
|
Պահանջի ծածկագիրը |
Պահանջի ձևակերպումը |
|
1 |
«Մշակման արդյունքի ծածկագիրը» վավերապայմանը (csdo:ProcessingResultV2Code) պետք է պարունակի «1» արժեքը |
35. «Ապրանքների փաստացի արտահանման հաստատման էլեկտրոնային չեղարկումը» հաղորդագրությամբ (P.CP.02.MSG.006) փոխանցվող «Ապրանքների փաստացի արտահանման (հետագծման) հաստատումը չեղարկելու մասին տեղեկություններ» էլեկտրոնային փաստաթղթերի (տեղեկությունների) վավերապայմանների (R.CA.CP.02.002) լրացմանը ներկայացվող պահանջները բերված են 24-րդ աղյուսակում:
Աղյուսակ 24
«Ապրանքների փաստացի արտահանման հաստատման էլեկտրոնային չեղարկումը» հաղորդագրությամբ (P.CP.02.MSG.006) փոխանցվող «Ապրանքների փաստացի արտահանման (հետագծման) հաստատումը չեղարկելու մասին տեղեկություններ» էլեկտրոնային փաստաթղթերի (տեղեկությունների) վավերապայմանների (R.CA.CP.02.002) լրացմանը ներկայացվող պահանջներ
|
Պահանջի ծածկագիրը |
Պահանջի ձևակերպումը |
|
1 |
«Մաքսային մարմինը» բարդ վավերապայմանի (ccdo:CustomsOfficeDetails) օրինակի կազմում «Մաքսային մարմինը» վավերապայմանը (cacdo:CustomsOfficeFunctionalDetails) պետք է լրացվի |
|
2 |
«Մաքսային մարմինը» բարդ վավերապայմանի (cacdo:CustomsOfficeFunctionalDetails) օրինակի կազմում «Դերի ծածկագիրը» վավերապայմանը (casdo:RoleCode) պետք է լրացվի, և դրա արժեքը պետք է համապատասխանի «01»-ին՝ «մեկնման վայրի մաքսային մարմին», կամ «02»-ին՝ «այն անդամ պետության լիազորված մաքսային մարմին, որի տարածքում գտնվում է ապրանքների մեկնման վայրը» |
|
3 |
«Մաքսային մարմինը» բարդ վավերապայմանի (cacdo:CustomsOfficeFunctionalDetails) կազմում «Երկրի ծածկագիրը» վավերապայմանը (csdo:UnifiedCountryCode) պետք է լրացվի, և դրա արժեքը պետք է համապատասխանի երկրի ծածկագրին՝ աշխարհի երկրների դասակարգչից, իսկ «Տեղեկագրքի (դասակարգչի) նույնականացուցիչը» ատրիբուտի (codeListId ատրիբուտ) արժեքը դրա կազմում պետք է համապատասխանի Միության նորմատիվ-տեղեկատու տեղեկատվության ռեեստրում նշված դասակարգչի ծածկագրի արժեքին |
|
4 |
եթե «Մաքսային մարմինը» բարդ վավերապայմանի (cacdo:CustomsOfficeFunctionalDetails) կազմում «Երկրի ծածկագիրը» վավերապայմանի (csdo:UnifiedCountryCode) արժեքը չի պարունակում «AM» արժեքը, «Մաքսային մարմնի պաշտոնատար անձը» բարդ վավերապայմանի (cacdo:CustomsPersonDetails) կազմում «Մաքսային մարմնի պաշտոնատար անձի ԱՀԿ-ի համարը» վավերապայմանը (casdo:LNPId) պետք է լրացվի |
|
5 |
եթե «Մաքսային մարմինը» բարդ վավերապայմանի (cacdo:CustomsOfficeFunctionalDetails) կազմում «Երկրի ծածկագիրը» վավերապայմանի (csdo:UnifiedCountryCode) արժեքը պարունակում է «AM» արժեքը, «ԱԱՀ» բարդ վավերապայմանի (ccdo:FullNameDetails) կազմում «Անունը» վավերապայմանը (csdo:FirstName), «ԱԱՀ» բարդ վավերապայմանի (ccdo:FullNameDetails) կազմում «Ազգանունը» վավերապայմանը (csdo:LastName) և «Մաքսային մարմնի պաշտոնատար անձը» բարդ վավերապայմանի (cacdo:CustomsPersonDetails) կազմում «Պաշտոնի անվանումը» վավերապայմանը (csdo:PositionName) պետք է լրացվեն |
|
6 |
«Ապրանքների փաստացի արտահանման չեղարկման պատճառի ծածկագիրը» վավերապայմանը (casdo:ExportCancellationReasonCode) կարող է պարունակել հետևյալ արժեքները՝ «01»՝ ապրանքների մասին հայտարարագրի գրանցման համարի սխալ նշում, «02»՝ Միության ապրանքների մասով ապրանքների մասին հայտարարագրի հետկանչ, «03»՝ Միության մաքսային տարածք ապրանքի վերադարձ, «04»՝ օտարերկրյա ապրանքի՝ ժամանակավոր պահպանման հանձնում, «05»՝ տրանսպորտային միջոցի տեխնիկական անսարքություն, «06»՝ ապրանքի (ապրանքի մի մասի) կորուստ, «07»՝ վթար, «08»՝ անհաղթահարելի ուժի ազդեցություն, «09»՝ ապրանքները Միության մաքսային տարածքը չեն լքել |
|
7 |
եթե «Ապրանքների փաստացի արտահանման չեղարկման պատճառի ծածկագիրը» վավերապայմանը (casdo:ExportCancellationReasonCode) պարունակում է «08» արժեքը, ապա «Այլ տեղեկություններ» վավերապայմանը (csdo:AdditionalInfoText) պետք է լրացվի |
|
8 |
եթե «Ապրանքների փաստացի արտահանման չեղարկման պատճառի ծածկագիրը» վավերապայմանը (casdo:ExportCancellationReasonCode) չի պարունակում «08» արժեքը, ապա «Այլ տեղեկություններ» վավերապայմանը (csdo:AdditionalInfoText) չի լրացվում |
|
9 |
«Մաքսային փաստաթղթի գրանցման համարը» (cacdo:CustomsDeclarationIdDetails) և «Ապրանքի մեկնման (հետագծման) թույլտվության գրանցման համարը, որը ձևավորվել է անդամ պետության օրենսդրությանը համապատասխան» (cacdo:FERegistrationIdDetails) վավերապայմաններում նշված արժեքները պետք է համապատասխանեն «Մաքսային փաստաթղթի գրանցման համարը» (cacdo:CustomsDeclarationIdDetails) և «Ապրանքի մեկնման (հետագծման) թույլտվության գրանցման համարը, որը ձևավորվել է անդամ պետության օրենսդրությանը համապատասխան» (cacdo:FERegistrationIdDetails) վավերապայմանների արժեքներին, որոնք նշված են «Էլեկտրոնային հաստատումը» հաղորդագրության (P.CP.02.MSG.003) կազմում «Ապրանքների փաստացի արտահանման հաստատումը» տրանզակցիայի (P.CP.02.TRN.002) շրջանակներում նախաձեռնողի կողմից փոխանցված և ռեսպոնդենտի կողմից հաջող մշակված էլեկտրոնային փաստաթղթում (տեղեկություններում) |
36. «Ապրանքների փաստացի արտահանման մասին տեղեկությունների հարցում» հաղորդագրությամբ (P.CP.02.MSG.007) փոխանցվող «Ապրանքների փաստացի արտահանման (մեկնման) մասին տեղեկությունների հարցում» էլեկտրոնային փաստաթղթերի (տեղեկությունների) վավերապայմանների (R.CA.CP.02.005) լրացմանը ներկայացվող պահանջները բերված են 25-րդ աղյուսակում:
Աղյուսակ 25
«Ապրանքների փաստացի արտահանման մասին տեղեկությունների հարցում» հաղորդագրությամբ (P.CP.02.MSG.007) փոխանցվող «Ապրանքների փաստացի արտահանման (մեկնման) մասին տեղեկությունների հարցում» էլեկտրոնային փաստաթղթերի (տեղեկությունների) վավերապայմանների (R.CA.CP.02.005) լրացմանը ներկայացվող պահանջներ
|
Պահանջի ծածկագիրը |
Պահանջի ձևակերպումը |
|
1 |
«Մաքսային մարմինը» բարդ վավերապայմանի (ccdo:CustomsOfficeDetails) կազմում «Երկրի ծածկագիրը» վավերապայմանը (csdo:UnifiedCountryCode) պետք է լրացվի, և դրա արժեքը պետք է համապատասխանի երկրի ծածկագրին՝ աշխարհի երկրների դասակարգչից, իսկ «Տեղեկագրքի (դասակարգչի) նույնականացուցիչը» ատրիբուտի (codeListId ատրիբուտ) արժեքը դրա կազմում պետք է համապատասխանի Միության նորմատիվ-տեղեկատու տեղեկատվության ռեեստրում նշված դասակարգչի ծածկագրի արժեքին |
|
2 |
«Գործողության ժամանակահատվածը» բարդ վավերապայմանի (cacdo:PeriodDetails) կազմում (եթե վավերապայմանը լրացվել է) «Սկզբնական ամսաթիվը և ժամը» վավերապայմանի (csdo:StartDateTime) արժեքը պետք է «Մաքսային փաստաթղթի գրանցման համարը» բարդ վավերապայմանի (cacdo:CustomsDeclarationIdDetails) կազմում «Փաստաթղթի ամսաթիվը» վավերապայմանի (csdo:DocCreationDate) արժեքից մեծ լինի կամ դրան հավասար |
|
3 |
եթե «Մաքսային մարմինը» բարդ վավերապայմանի (ccdo:CustomsOfficeDetails) կազմում «Երկրի ծածկագիրը» վավերապայմանի (csdo:UnifiedCountryCode) արժեքը չի պարունակում «AM» արժեքը, «Մաքսային մարմնի պաշտոնատար անձը» բարդ վավերապայմանի (cacdo:CustomsPersonDetails) կազմում «Մաքսային մարմնի պաշտոնատար անձի ԱՀԿ-ի համարը» վավերապայմանը (casdo:LNPId) պետք է լրացվի |
|
4 |
եթե «Մաքսային մարմինը» բարդ վավերապայմանի (ccdo:CustomsOfficeDetails) կազմում «Երկրի ծածկագիրը» վավերապայմանի (csdo:UnifiedCountryCode) արժեքը պարունակում է «AM» արժեքը, «ԱԱՀ» բարդ վավերապայմանի (ccdo:FullNameDetails) կազմում «Անունը» վավերապայմանը (csdo:FirstName), «ԱԱՀ» բարդ վավերապայմանի (ccdo:FullNameDetails) կազմում «Ազգանունը» վավերապայմանը (csdo:LastName) և «Մաքսային մարմնի պաշտոնատար անձը» բարդ վավերապայմանի (cacdo:CustomsPersonDetails) կազմում «Պաշտոնի անվանումը» վավերապայմանը (csdo:PositionName) պետք է լրացվեն |
37. «Ապրանքների փաստացի արտահանման մասին տեղեկություններ» հաղորդագրությամբ (P.CP.02.MSG.008) փոխանցվող «Ապրանքների փաստացի արտահանման (հետագծման) մասին տեղեկություններ» էլեկտրոնային փաստաթղթերի (տեղեկությունների) վավերապայմանների (R.CA.CP.02.003) լրացմանը ներկայացվող պահանջները բերված են 26-րդ աղյուսակում:
Աղյուսակ 26
«Ապրանքների փաստացի արտահանման մասին տեղեկություններ» հաղորդագրությամբ (P.CP.02.MSG.008) փոխանցվող «Ապրանքների փաստացի արտահանման (հետագծման) մասին տեղեկություններ» էլեկտրոնային փաստաթղթերի (տեղեկությունների) վավերապայմանների (R.CA.CP.02.003) լրացմանը ներկայացվող պահանջներ
|
Պահանջի ծածկագիրը |
Պահանջի ձևակերպումը |
|
1 |
էլեկտրոնային փաստաթուղթը (տեղեկությունները) պետք է պարունակի «Մաքսային մարմինը» վավերապայմանի (cacdo:CustomsOfficeFunctionalDetails) 1 օրինակ |
|
2 |
«Մաքսային մարմինը» բարդ վավերապայմանի (cacdo:CustomsOfficeFunctionalDetails) օրինակի կազմում «Երկրի ծածկագիրը» վավերապայմանը (csdo:UnifiedCountryCode) պետք է լրացվի, և դրա արժեքը պետք է համապատասխանի երկրի ծածկագրին՝ աշխարհի երկրների դասակարգչից, իսկ «Տեղեկագրքի (դասակարգչի) նույնականացուցիչը» ատրիբուտի (codeListId ատրիբուտ) արժեքը դրա կազմում պետք է համապատասխանի Միության նորմատիվ-տեղեկատու տեղեկատվության ռեեստրում նշված դասակարգչի ծածկագրի արժեքին |
|
3 |
«Մաքսային մարմինը» բարդ վավերապայմանի (cacdo:CustomsOfficeFunctionalDetails) օրինակի կազմում «Մաքսային մարմնի ծածկագիրը» վավերապայմանը (csdo:CustomsOfficeCode) պետք է լրացվի |
|
4 |
«Մաքսային մարմինը» բարդ վավերապայմանի (cacdo:CustomsOfficeFunctionalDetails) օրինակի կազմում «Դերի ծածկագիրը» վավերապայմանը (casdo:RoleCode) պետք է լրացվի, և դրա արժեքը պետք է համապատասխանի «01»-ին՝ «մեկնման վայրի մաքսային մարմին» |
|
5 |
եթե «Մաքսային մարմինը» բարդ վավերապայմանի (cacdo:CustomsOfficeFunctionalDetails) օրինակի կազմում «Երկրի ծածկագիրը» վավերապայմանի (csdo:UnifiedCountryCode) արժեքը չի պարունակում «AM» արժեքը, «Մաքսային մարմնի պաշտոնատար անձը» բարդ վավերապայմանի (cacdo:CustomsPersonDetails) կազմում «Մաքսային մարմնի պաշտոնատար անձի ԱՀԿ-ի համարը» վավերապայմանը (casdo:LNPId) պետք է լրացվի |
|
6 |
եթե «Մաքսային մարմինը» բարդ վավերապայմանի (cacdo:CustomsOfficeFunctionalDetails) կազմում «Երկրի ծածկագիրը» վավերապայմանի (csdo:UnifiedCountryCode) արժեքը պարունակում է «AM» արժեքը, «ԱԱՀ» բարդ վավերապայմանի (ccdo:FullNameDetails) կազմում «Անունը» վավերապայմանը (csdo:FirstName), «ԱԱՀ» բարդ վավերապայմանի (ccdo:FullNameDetails) կազմում «Ազգանունը» վավերապայմանը (csdo:LastName) և «Մաքսային մարմնի պաշտոնատար անձը» բարդ վավերապայմանի (cacdo:CustomsPersonDetails) կազմում «Պաշտոնի անվանումը» վավերապայմանը (csdo:PositionName) պետք է լրացվեն |
|
7 |
«Բազմաշրջանառու տարայի հատկանիշը» վավերապայմանը (casdo:ReusableContainerIndicator) չի լրացվում |
|
8 |
«Ապրանքը» բարդ վավերապայմանի (cacdo:FEGoodsInfoDetails) կազմում «Ապրանքի ծածկագիրն՝ ըստ ԵԱՏՄ ԱՏԳ ԱԱ-ի» վավերապայմանը (csdo:CommodityCode) պետք է լրացվի |
|
9 |
«Ապրանքը» բարդ վավերապայմանի կազմում «Համաքաշը» վավերապայմանը (csdo:UnifiedGrossMassMeasure) պետք է լրացվի, և դրա կազմում «Չափման միավորը» ատրիբուտի (measurementUnitCode ատրիբուտ) արժեքը պետք է համապատասխանի չափման միավորների այն դասակարգչին համապատասխան ծածկագրին, որը պարունակում է չափման միավորների ծածկագրերի, պայմանական նշագրերի և անվանումների ցանկը, իսկ «Տեղեկագրքի (դասակարգչի) նույնականացուցիչը» ատրիբուտի (codeListId ատրիբուտ) արժեքը դրա կազմում պետք է համապատասխանի Միության նորմատիվ-տեղեկատու տեղեկատվության ռեեստրում նշված դասակարգչի ծածկագրի արժեքին |
|
10 |
«Ապրանքը» բարդ վավերապայմանի (cacdo:FEGoodsInfoDetails) կազմում «Ապրանքների մնացորդը լրացուցիչ չափման միավորով» վավերապայմանը (cacdo:RemainGoodsMeasureDetails) չի լրացվում |
|
11 |
«Ապրանքը» բարդ վավերապայմանի (cacdo:FEGoodsInfoDetails) կազմում «Ապրանքի մնացորդը» վավերապայմանը (casdo:RemainGrossWeightMeasure) չի լրացվում |
|
12 |
«Արտահանվող ապրանքի մասին տեղեկատվություն» բարդ վավերապայմանի (cacdo:FEGoodsDetails) կազմում «Փաստաթղթի մասին տեղեկություններ» վավերապայմանը (cacdo:CADocDetails) պետք է լրացվի և պետք է պարունակի տրանսպորտային (փոխադրման) փաստաթղթի մասին տեղեկություններ |
|
13 |
«Փաստաթղթի մասին տեղեկություններ» բարդ վավերապայմանի (cacdo:CADocDetails) կազմում «Փաստաթղթի տեսակի ծածկագիրը» վավերապայմանը (csdo:DocKindCode) պետք է լրացվի, և դրա արժեքը պետք է համապատասխանի փաստաթղթերի և տեղեկությունների տեսակների դասակարգչին համապատասխան ծածկագրին, իսկ «Տեղեկագրքի (դասակարգչի) նույնականացուցիչը» ատրիբուտի (codeListId ատրիբուտ) արժեքը դրա կազմում պետք է համապատասխանի Միության նորմատիվ-տեղեկատու տեղեկատվության ռեեստրում նշված դասակարգչի ծածկագրի արժեքին |
|
14 |
«Փաստաթղթի մասին տեղեկություններ» բարդ վավերապայմանի (cacdo:CADocDetails) կազմում «Փաստաթղթի համարը» վավերապայմանը (csdo:DocId) պետք է լրացվի։ Եթե տրանսպորտային (փոխադրման) փաստաթուղթը չունի համար, կատարվում է «ա/հ» նշումը |
|
15 |
«Մաքսային մարմինը» բարդ վավերապայմանի (cacdo:CustomsOfficeFunctionalDetails) կազմում «Մաքսային մարմնի ծածկագիրը» վավերապայմանի (csdo:CustomsOfficeCode) արժեքը պետք է համապատասխանի Եվրասիական տնտեսական միության անդամ պետությունների մաքսային մարմինների այն դասակարգչին համապատասխան ծածկագրին, որը պարունակում է Միության անդամ պետությունների մաքսային մարմինների ծածկագրերի և անվանումների ցանկը |
|
16 |
«Տրանսպորտային միջոցը սահմանին» բարդ վավերապայմանի (cacdo:BorderTransportsDetails) կազմում «Տրանսպորտի տեսակի ծածկագիրը» վավերապայմանը (csdo:UnifiedTransportModeCode) պետք է լրացվի, և դրա արժեքը պետք է համապատասխանի տրանսպորտի և ապրանքների տրանսպորտային փոխադրման տեսակների դասակարգչին համապատասխան ծածկագրին, իսկ «Տեղեկագրքի (դասակարգչի) նույնականացուցիչը» ատրիբուտի (codeListId ատրիբուտ) արժեքը դրա կազմում պետք է համապատասխանի Միության նորմատիվ-տեղեկատու տեղեկատվության ռեեստրում նշված դասակարգչի ծածկագրի արժեքին |
|
17 |
«Ապրանքը» բարդ վավերապայմանի (cacdo:FEGoodsInfoDetails) կազմում «Ապրանքի լիակատար արտահանման հատկանիշը» վավերապայմանը (casdo:GoodsFullyExportedIndicator) կարող է պարունակել հետևյալ արժեքները՝ «true»՝ մաքսային ընթացակարգով ձևակերպված ապրանքն արտահանվել է ամբողջությամբ, «false»՝ մաքսային ընթացակարգով ձևակերպված ապրանքն արտահանվել է ոչ ամբողջությամբ |
|
18 |
«Տրանսպորտային միջոցը սահմանին» (cacdo:BorderTransportsDetails) և «Մաքսային մարմինը» (ccdo:CustomsOfficeDetails) վավերապայմանները պետք է լրացվեն |
38. «Ապրանքների փաստացի արտահանման մասին տեղեկությունների էլեկտրոնային փոփոխում» հաղորդագրությամբ (P.CP.02.MSG.009) փոխանցվող «Ապրանքների փաստացի արտահանման (հետագծման) մասին տեղեկություններ» էլեկտրոնային փաստաթղթերի (տեղեկությունների) վավերապայմանների (R.CA.CP.02.003) լրացմանը ներկայացվող պահանջները բերված են 27-րդ աղյուսակում:
Աղյուսակ 27
«Ապրանքների փաստացի արտահանման մասին տեղեկությունների էլեկտրոնային փոփոխում» հաղորդագրությամբ (P.CP.02.MSG.009) փոխանցվող «Ապրանքների փաստացի արտահանման (հետագծման) մասին տեղեկություններ» էլեկտրոնային փաստաթղթերի (տեղեկությունների) վավերապայմանների (R.CA.CP.02.003) լրացմանը ներկայացվող պահանջներ
|
Պահանջի ծածկագիրը |
Պահանջի ձևակերպումը |
|
1 |
էլեկտրոնային փաստաթուղթը (տեղեկությունները) պետք է պարունակի միայն 1 «Ապրանքների փաստացի արտահանումը։ Ապրանքների արտահանման (հետագծման) մասին տեղեկություններ» վավերապայման (cacdo:FEFactDetails) |
|
2 |
էլեկտրոնային փաստաթուղթը (տեղեկությունները) պետք է պարունակի «Մաքսային մարմինը» վավերապայմանի (cacdo:CustomsOfficeFunctionalDetails) 2 օրինակ |
|
3 |
«Մաքսային մարմինը» բարդ վավերապայմանի (cacdo:CustomsOfficeFunctionalDetails) օրինակներից մեկի վավերապայմաններում, ինչպես նաև «Ապրանքների փաստացի արտահանումը։ Ապրանքների արտահանման (հետագծման) մասին տեղեկություններ» բարդ վավերապայմանի (cacdo:FEFactDetails) կազմում «Մաքսային փաստաթղթի գրանցման համարը» (cacdo:CustomsDeclarationIdDetails), «Ապրանքի մեկնման (հետագծման) թույլտվության գրանցման համարը, որը ձևավորվել է անդամ պետության օրենսդրությանը համապատասխան» (cacdo:FERegistrationIdDetails), «Ամսաթիվը և ժամը» (csdo:EventDateTime) վավերապայմաններում նշված արժեքները պետք է համապատասխանեն «Ապրանքների փաստացի արտահանումը։ Ապրանքների արտահանման (հետագծման) մասին տեղեկություններ» բարդ վավերապայմանի (cacdo:FEFactDetails) կազմում «Մաքսային մարմինը» (cacdo:CustomsOfficeFunctionalDetails), «Մաքսային փաստաթղթի գրանցման համարը» (cacdo:CustomsDeclarationIdDetails) և «Ապրանքի մեկնման (հետագծման) թույլտվության գրանցման համարը, որը ձևավորվել է անդամ պետության օրենսդրությանը համապատասխան» (cacdo:FERegistrationIdDetails), «Ամսաթիվը և ժամը» (csdo:EventDateTime) վավերապայմանների արժեքներին, որոնք նշված են «Էլեկտրոնային հաստատումը» հաղորդագրության (P.CP.02.MSG.003) կազմում «Ապրանքների փաստացի արտահանման հաստատումը» տրանզակցիայի (P.CP.02.TRN.002) շրջանակներում նախաձեռնողի կողմից ավելի վաղ ուղարկված և ռեսպոնդենտի կողմից հաջող մշակված սկզբնական էլեկտրոնային փաստաթղթում (տեղեկություններում) |
|
4 |
«Մաքսային մարմինը» բարդ վավերապայմանի (cacdo:CustomsOfficeFunctionalDetails) օրինակի կազմում «Մաքսային մարմնի ծածկագիրը» վավերապայմանը (csdo:CustomsOfficeCode) պետք է լրացվի |
|
5 |
«Մաքսային մարմինը» բարդ վավերապայմանի (cacdo:CustomsOfficeFunctionalDetails) օրինակի կազմում «Երկրի ծածկագիրը» վավերապայմանը (csdo:UnifiedCountryCode) պետք է լրացվի, և դրա արժեքը պետք է համապատասխանի երկրի ծածկագրին՝ աշխարհի երկրների դասակարգչից, իսկ «Տեղեկագրքի (դասակարգչի) նույնականացուցիչը» ատրիբուտի (codeListId ատրիբուտ) արժեքը դրա կազմում պետք է համապատասխանի Միության նորմատիվ-տեղեկատու տեղեկատվության ռեեստրում նշված դասակարգչի ծածկագրի արժեքին |
|
6 |
«Մաքսային մարմինը» բարդ վավերապայմանի (cacdo:CustomsOfficeFunctionalDetails) առաջին օրինակի կազմում «Երկրի ծածկագիրը» վավերապայմանի (csdo:UnifiedCountryCode) արժեքը պետք է համապատասխանի «Մաքսային մարմինը» բարդ վավերապայմանի (cacdo:CustomsOfficeFunctionalDetails) երկրորդ օրինակի կազմում «Երկրի ծածկագիրը» վավերապայմանի (csdo:UnifiedCountryCode) արժեքին |
|
7 |
«Մաքսային մարմինը» բարդ վավերապայմանի (cacdo:CustomsOfficeFunctionalDetails) օրինակի կազմում «Դերի ծածկագիրը» վավերապայմանը (casdo:RoleCode) պետք է լրացվի, և դրա արժեքը պետք է համապատասխանի «01»-ին՝ «մեկնման վայրի մաքսային մարմին», կամ «02»-ին՝ «այն անդամ պետության լիազորված մաքսային մարմին, որի տարածքում գտնվում է ապրանքների մեկնման վայրը» |
|
8 |
«Մաքսային մարմինը» բարդ վավերապայմանի (cacdo:CustomsOfficeFunctionalDetails) առաջին օրինակի կազմում «Դերի ծածկագիրը» վավերապայմանի (casdo:RoleCode) արժեքը չպետք է համապատասխանի «Մաքսային մարմինը» բարդ վավերապայմանի (cacdo:CustomsOfficeFunctionalDetails) երկրորդ օրինակի կազմում «Դերի ծածկագիրը» վավերապայմանի (casdo:RoleCode) արժեքին |
|
9 |
եթե «Տրանսպորտային միջոցը սահմանին» վավերապայմանը (cacdo:BorderTransportDetails) լրացվել է, ապա «Տրանսպորտային միջոցի մասին տեղեկատվություն» վավերապայմանը (cacdo:TransportMeansRegistrationIdDetails) դրա կազմում պետք է լրացվի |
|
10 |
եթե «Մաքսային մարմինը» բարդ վավերապայմանի (cacdo:CustomsOfficeFunctionalDetails) կազմում «Երկրի ծածկագիրը» վավերապայմանի (csdo:UnifiedCountryCode) արժեքը չի պարունակում «AM» արժեքը, «Մաքսային մարմնի պաշտոնատար անձը» բարդ վավերապայմանի (cacdo:CustomsPersonDetails) կազմում «Մաքսային մարմնի պաշտոնատար անձի ԱՀԿ-ի համարը» վավերապայմանը (casdo:LNPId) պետք է լրացվի |
|
11 |
եթե «Մաքսային մարմինը» բարդ վավերապայմանի (cacdo:CustomsOfficeFunctionalDetails) կազմում «Երկրի ծածկագիրը» վավերապայմանի (csdo:UnifiedCountryCode) արժեքը պարունակում է «AM» արժեքը, «ԱԱՀ» բարդ վավերապայմանի (ccdo:FullNameDetails) կազմում «Անունը» վավերապայմանը (csdo:FirstName), «ԱԱՀ» բարդ վավերապայմանի (ccdo:FullNameDetails) կազմում «Ազգանունը» վավերապայմանը (csdo:LastName) և «Մաքսային մարմնի պաշտոնատար անձը» բարդ վավերապայմանի (cacdo:CustomsPersonDetails) կազմում «Պաշտոնի անվանումը» վավերապայմանը (csdo:PositionName) պետք է լրացվեն |
|
12 |
«Ապրանքը» բարդ վավերապայմանի (cacdo:FEGoodsInfoDetails) կազմում «Ապրանքների մնացորդը լրացուցիչ չափման միավորով» վավերապայմանը (cacdo:RemainGoodsMeasureDetails) չի լրացվում |
|
13 |
«Ապրանքը» բարդ վավերապայմանի (cacdo:FEGoodsInfoDetails) կազմում «Ապրանքի մնացորդը» վավերապայմանը (casdo:RemainGrossWeightMeasure) չի լրացվում |
|
14 |
եթե «Փաստաթղթի մասին տեղեկություններ» վավերապայմանը (cacdo:CADocDetails) լրացվել է, ապա «Փաստաթղթի տեսակի ծածկագիրը» վավերապայմանը (csdo:DocKindCode) դրա կազմում պետք է լրացվի, և դրա արժեքը պետք է համապատասխանի փաստաթղթերի և տեղեկությունների տեսակների դասակարգչին համապատասխան ծածկագրին, իսկ «Տեղեկագրքի (դասակարգչի) նույնականացուցիչը» ատրիբուտի (codeListId ատրիբուտ) արժեքը դրա կազմում պետք է համապատասխանի Միության նորմատիվ-տեղեկատու տեղեկատվության ռեեստրում նշված դասակարգչի ծածկագրի արժեքին |
|
15 |
եթե «Փաստաթղթի մասին տեղեկություններ» վավերապայմանը (cacdo:CADocDetails) լրացվել է, ապա «Փաստաթղթի համարը» վավերապայմանը (csdo:DocId) դրա կազմում պետք է լրացվի։ Եթե տրանսպորտային (փոխադրման) փաստաթուղթը չունի համար, կատարվում է «ա/հ» նշումը |
|
16 |
եթե «Մաքսային մարմինը» բարդ վավերապայմանի (cacdo:CustomsOfficeFunctionalDetails) կազմում «Մաքսային մարմնի ծածկագիրը» վավերապայմանը (csdo:CustomsOfficeCode) լրացվել է, ապա դրա արժեքը պետք է համապատասխանի Եվրասիական տնտեսական միության անդամ պետությունների մաքսային մարմինների այն դասակարգչին համապատասխան ծածկագրին, որը պարունակում է Միության անդամ պետությունների մաքսային մարմինների ծածկագրերի և անվանումների ցանկը |
|
18 |
եթե «Տրանսպորտային միջոցը սահմանին» վավերապայմանը (cacdo:BorderTransportsDetails) լրացվել է, ապա «Տրանսպորտի տեսակի ծածկագիրը» վավերապայմանը (csdo:UnifiedTransportModeCode) դրա կազմում պետք է լրացվի, և դրա արժեքը պետք է համապատասխանի տրանսպորտի և ապրանքների տրանսպորտային փոխադրման տեսակների դասակարգչին համապատասխան ծածկագրին, իսկ «Տեղեկագրքի (դասակարգչի) նույնականացուցիչը» ատրիբուտի (codeListId ատրիբուտ) արժեքը դրա կազմում պետք է համապատասխանի Միության նորմատիվ-տեղեկատու տեղեկատվության ռեեստրում նշված դասակարգչի ծածկագրի արժեքին |
|
19 |
«Ապրանքը» բարդ վավերապայմանի (cacdo:FEGoodsInfoDetails) կազմում «Բազմաշրջանառու տարայի հատկանիշը» վավերապայմանը (casdo:ReusableContainerIndicator) պետք է լրացվի յուրաքանչյուր ապրանքի համար, կարող է պարունակել հետևյալ արժեքները՝ «true»՝ ապրանքը բազմաշրջանառու տարա է, «false»՝ ապրանքը բազմաշրջանառու տարա չէ |
|
20 |
«Ապրանքը» բարդ վավերապայմանի (cacdo:FEGoodsInfoDetails) կազմում «Ապրանքի լիակատար արտահանման հատկանիշը» վավերապայմանը (casdo:GoodsFullyExported Indicator) պետք է լրացվի և կարող է պարունակել հետևյալ արժեքները՝ «true»՝ մաքսային ընթացակարգով ձևակերպված ապրանքն արտահանվել է ամբողջությամբ, «false»՝ մաքսային ընթացակարգով ձևակերպված ապրանքն արտահանվել է ոչ ամբողջությամբ |
|
21 |
եթե «Բազմաշրջանառու տարայի հատկանիշը» վավերապայմանը (casdo:ReusableContainerIndicator) «Արտահանվող ապրանքի մասին տեղեկատվություն» վավերապայմանում (cacdo:FEGoodsDetails) սահմանված թեկուզ մեկ ապրանքի համար ունի «false» արժեքը, ապա «Մաքսային մարմինը» վավերապայմանի (ccdo:CustomsOfficeDetails) կազմում «Տրանսպորտային միջոցը սահմանին» վավերապայմանը (cacdo:BorderTransportsDetails) և «Մաքսային մարմնի ծածկագիրը» վավերապայմանը (csdo:CustomsOfficeCode) պետք է լրացվեն |
|
22 |
եթե «Ապրանքը» բարդ վավերապայմանի (cacdo:FEGoodsInfoDetails) որոշակի օրինակի կազմում «Բազմաշրջանառու տարայի հատկանիշը» վավերապայմանը (casdo:ReusableContainerIndicator) ունի «true» արժեքը, և «Ապրանքի լիակատար արտահանման հատկանիշը» վավերապայմանը (casdo:GoodsFullyExportedIndicator) ունի «false» արժեքը, ապա՝ «Ապրանքի հերթական համարը» (casdo:ConsignmentItemOrdinal), «Ապրանքի ծածկագիրը՝ ըստ ԵԱՏՄ ԱՏԳ ԱԱ-ի» (csdo:CommodityCode), «Ապրանքի անվանումը» (casdo:GoodsDescriptionText), «Համաքաշը» (csdo:UnifiedGrossMassMeasure), «Ապրանքի քանակը» (cacdo:GoodsMeasureDetails) վավերապայմանները «Ապրանքը» բարդ վավերապայմանի (cacdo:FEGoodsInfoDetails) նշված օրինակի կազմում պետք է լրացվեն |
|
23 |
եթե «Ապրանքը» բարդ վավերապայմանի (cacdo:FEGoodsInfoDetails) որոշակի օրինակի կազմում «Բազմաշրջանառու տարայի հատկանիշը» վավերապայմանը (casdo:ReusableContainerIndicator) ունի «true» արժեքը, և «Ապրանքի լիակատար արտահանման հատկանիշը» վավերապայմանը (casdo:GoodsFullyExportedIndicator) ունի «false» արժեքը, ապա՝ «Փաստաթղթի տեսակի ծածկագիրը» (csdo:DocKindCode), «Փաստաթղթի համարը» (csdo:DocId) վավերապայմանները «Արտահանվող ապրանքի մասին տեղեկատվություն» բարդ վավերապայմանի (cacdo:FEGoodsDetails) շրջանակներում «Ապրանքը» բարդ վավերապայմանի (cacdo:FEGoodsInfoDetails) նշված օրինակի հետ կապված «Փաստաթղթի մասին տեղեկություններ» բարդ վավերապայմանի (cacdo:CADocDetails) կազմում պետք է լրացվեն |
|
24 |
եթե «Ապրանքը» բարդ վավերապայմանի (cacdo:FEGoodsInfoDetails) որոշակի օրինակի կազմում «Բազմաշրջանառու տարայի հատկանիշը» վավերապայմանը (casdo:ReusableContainerIndicator) ունի «true» արժեքը, և «Ապրանքի լիակատար արտահանման հատկանիշը» վավերապայմանը (casdo:GoodsFullyExportedIndicator) ունի «true» արժեքը, ապա՝ «Ապրանքի հերթական համարը» (casdo:ConsignmentItemOrdinal), «Ապրանքի ծածկագիրը՝ ըստ ԵԱՏՄ ԱՏԳ ԱԱ-ի» (csdo:CommodityCode), «Ապրանքի անվանումը» (casdo:GoodsDescriptionText), «Համաքաշը» (csdo:UnifiedGrossMassMeasure), «Ապրանքի քանակը» (cacdo:GoodsMeasureDetails) վավերապայմանները «Ապրանքը» բարդ վավերապայմանի (cacdo:FEGoodsInfoDetails) նշված օրինակի կազմում չեն լրացվում |
|
25 |
եթե «Ապրանքը» բարդ վավերապայմանի (cacdo:FEGoodsInfoDetails) որոշակի օրինակի կազմում «Բազմաշրջանառու տարայի հատկանիշը» վավերապայմանը (casdo:ReusableContainerIndicator) ունի «true» արժեքը, և «Ապրանքի լիակատար արտահանման հատկանիշը» վավերապայմանը (casdo:GoodsFullyExportedIndicator) ունի «true» արժեքը, ապա՝ «Փաստաթղթի տեսակի ծածկագիրը» (csdo:DocKindCode), «Փաստաթղթի համարը» (csdo:DocId) վավերապայմանները «Արտահանվող ապրանքի մասին տեղեկատվություն» բարդ վավերապայմանի (cacdo:FEGoodsDetails) շրջանակներում «Ապրանքը» բարդ վավերապայմանի (cacdo:FEGoodsInfoDetails) նշված օրինակի հետ կապված «Փաստաթղթի մասին տեղեկություններ» բարդ վավերապայմանի (cacdo:CADocDetails) կազմում չեն լրացվում |
|
26 |
եթե «Ապրանքը» բարդ վավերապայմանի (cacdo:FEGoodsInfoDetails) որոշակի օրինակի կազմում «Բազմաշրջանառու տարայի հատկանիշը» վավերապայմանը (casdo:ReusableContainerIndicator) ունի «true» արժեքը, և «Ապրանքի լիակատար արտահանման հատկանիշը» վավերապայմանը (casdo:GoodsFullyExportedIndicator) ունի «true» արժեքը, ապա «Ապրանքը» բարդ վավերապայմանի (cacdo:FEGoodsInfoDetails) նշված օրինակի կազմում «Մաքսային փաստաթղթի գրանցման համարը» վավերապայմանը (cacdo:CustomsDeclarationIdDetails) պետք է լրացվի |
|
27 |
եթե «Ապրանքը» բարդ վավերապայմանի (cacdo:FEGoodsInfoDetails) որոշակի օրինակի կազմում «Բազմաշրջանառու տարայի հատկանիշը» վավերապայմանը (casdo:ReusableContainerIndicator) ունի «false» արժեքը, ապա՝ «Ապրանքի հերթական համարը» (casdo:ConsignmentItemOrdinal), «Ապրանքի ծածկագիրը՝ ըստ ԵԱՏՄ ԱՏԳ ԱԱ-ի» (csdo:CommodityCode), «Ապրանքի անվանումը» (casdo:GoodsDescriptionText), «Համաքաշը» (csdo:UnifiedGrossMassMeasure) վավերապայմանները «Ապրանքը» (cacdo:FEGoodsInfoDetails) բարդ վավերապայմանի նշված օրինակի կազմում պետք է լրացվեն |
|
28 |
եթե «Ապրանքը» բարդ վավերապայմանի (cacdo:FEGoodsInfoDetails) որոշակի օրինակի կազմում «Բազմաշրջանառու տարայի հատկանիշը» վավերապայմանը (casdo:ReusableContainerIndicator) ունի «false» արժեքը, ապա՝ «Փաստաթղթի տեսակի ծածկագիրը» (csdo:DocKindCode), «Փաստաթղթի համարը» (csdo:DocId) վավերապայմանները «Արտահանվող ապրանքի մասին տեղեկատվություն» բարդ վավերապայմանի (cacdo:FEGoodsDetails) շրջանակներում «Ապրանքը» բարդ վավերապայմանի (cacdo:FEGoodsInfoDetails) նշված օրինակի հետ կապված «Փաստաթղթի մասին տեղեկություններ» բարդ վավերապայմանի (cacdo:CADocDetails) կազմում պետք է լրացվեն |
|
29 |
եթե «Ապրանքը» բարդ վավերապայմանի (cacdo:FEGoodsInfoDetails) որոշակի օրինակի կազմում «Բազմաշրջանառու տարայի հատկանիշը» վավերապայմանը (casdo:ReusableContainerIndicator) ունի «false» արժեքը, ապա «Ապրանքը» բարդ վավերապայմանի (cacdo:FEGoodsInfoDetails) նշված օրինակի կազմում «Մաքսային փաստաթղթի գրանցման համարը» վավերապայմանը (cacdo:CustomsDeclarationIdDetails) չի լրացվում |
39. «Էլեկտրոնային հետագծումը» հաղորդագրությամբ (P.CP.02.MSG.010) փոխանցվող «Ապրանքների փաստացի արտահանման (հետագծման) մասին տեղեկություններ» էլեկտրոնային փաստաթղթերի (տեղեկությունների) վավերապայմանների (R.CA.CP.02.003) լրացմանը ներկայացվող պահանջները բերված են 28-րդ աղյուսակում:
Աղյուսակ 28
«Էլեկտրոնային հետագծումը» հաղորդագրությամբ (P.CP.02.MSG.010) փոխանցվող «Ապրանքների փաստացի արտահանման (հետագծման) մասին տեղեկություններ» էլեկտրոնային փաստաթղթերի (տեղեկությունների) վավերապայմանների (R.CA.CP.02.003) լրացմանը ներկայացվող պահանջներ
|
Պահանջի ծածկագիրը |
Պահանջի ձևակերպումը |
|
1 |
էլեկտրոնային փաստաթուղթը (տեղեկությունները) պետք է պարունակի միայն 1 «Ապրանքների փաստացի արտահանումը։ Ապրանքների արտահանման (հետագծման) մասին տեղեկություններ» վավերապայման (cacdo:FEFactDetails) |
|
2 |
էլեկտրոնային փաստաթուղթը (տեղեկությունները) պետք է պարունակի միայն 1 «Մաքսային մարմինը» վավերապայման (cacdo:CustomsOfficeFunctionalDetails) |
|
3 |
«Մաքսային մարմինը» բարդ վավերապայմանի (cacdo:CustomsOfficeFunctionalDetails) կազմում «Մաքսային մարմնի ծածկագիրը» վավերապայմանը (csdo:CustomsOfficeCode) պետք է լրացվի |
|
4 |
«Երկրի ծածկագիրը» վավերապայմանի (csdo:UnifiedCountryCode) արժեքը պետք է համապատասխանի երկրի ծածկագրին՝ աշխարհի երկրների դասակարգչից, իսկ «Տեղեկագրքի (դասակարգչի) նույնականացուցիչը» ատրիբուտի (codeListId ատրիբուտ) արժեքը դրա կազմում պետք է համապատասխանի Միության նորմատիվ-տեղեկատու տեղեկատվության ռեեստրում նշված դասակարգչի ծածկագրի արժեքին |
|
5 |
«Մաքսային մարմինը» բարդ վավերապայմանի (cacdo:CustomsOfficeFunctionalDetails) կազմում «Դերի ծածկագիրը» վավերապայմանը (casdo:RoleCode) պետք է լրացվի, և դրա արժեքը պետք է համապատասխանի «01»-ին՝ «մեկնման վայրի մաքսային մարմին», կամ «03»-ին՝ «ժամանման վայրի մաքսային մարմին» |
|
6 |
«Բազմաշրջանառու տարայի հատկանիշը» վավերապայմանը(casdo:ReusableContainerIndicator) չի լրացվում |
|
7 |
«Ապրանքը» բարդ վավերապայմանի (cacdo:FEGoodsInfoDetails) կազմում «Ապրանքի ծածկագիրն՝ ըստ ԵԱՏՄ ԱՏԳ ԱԱ-ի» վավերապայմանը (csdo:CommodityCode) չի լրացվում |
|
8 |
«Ապրանքը» բարդ վավերապայմանի կազմում «Համաքաշը» վավերապայմանը (csdo:UnifiedGrossMassMeasure) պետք է լրացվի, և դրա կազմում «Չափման միավորը» ատրիբուտի (measurementUnitCode ատրիբուտ) արժեքը պետք է համապատասխանի չափման միավորների դասակարգչին համապատասխան ծածկագրին, իսկ «Տեղեկագրքի (դասակարգչի) նույնականացուցիչը» ատրիբուտի (codeListId ատրիբուտ) արժեքը դրա կազմում պետք է համապատասխանի Միության նորմատիվ-տեղեկատու տեղեկատվության ռեեստրում նշված դասակարգչի ծածկագրի արժեքին |
|
9 |
«Ապրանքը» բարդ վավերապայմանի (cacdo:FEGoodsInfoDetails) կազմում «Ապրանքների մնացորդը լրացուցիչ չափման միավորով» վավերապայմանը (cacdo:RemainGoodsMeasureDetails) չի լրացվում |
|
10 |
«Ապրանքը» բարդ վավերապայմանի (cacdo:FEGoodsInfoDetails) կազմում «Ապրանքի մնացորդը» վավերապայմանը (casdo:RemainGrossWeightMeasure) չի լրացվում |
|
11 |
«Ապրանքը» բարդ վավերապայմանի (cacdo:FEGoodsInfoDetails) կազմում «Ապրանքի քանակը» վավերապայմանը (cacdo:GoodsMeasureDetails) չի լրացվում |
|
12 |
«Արտահանվող ապրանքի մասին տեղեկատվություն» բարդ վավերապայմանի (cacdo:FEGoodsDetails) կազմում «Փաստաթղթի մասին տեղեկություններ» վավերապայմանը (cacdo:CADocDetails) պետք է լրացվի և պետք է պարունակի տրանսպորտային (փոխադրման) փաստաթղթի մասին տեղեկություններ |
|
13 |
«Փաստաթղթի մասին տեղեկություններ» բարդ վավերապայմանի (cacdo:CADocDetails) կազմում «Փաստաթղթի տեսակի ծածկագիրը» վավերապայմանը (csdo:DocKindCode) պետք է լրացվի, և դրա արժեքը պետք է համապատասխանի փաստաթղթերի և տեղեկությունների տեսակների դասակարգչին համապատասխան ծածկագրին, իսկ «Տեղեկագրքի (դասակարգչի) նույնականացուցիչը» ատրիբուտի (codeListId ատրիբուտ) արժեքը դրա կազմում պետք է համապատասխանի Միության նորմատիվ-տեղեկատու տեղեկատվության ռեեստրում նշված դասակարգչի ծածկագրի արժեքին |
|
14 |
«Փաստաթղթի մասին տեղեկություններ» բարդ վավերապայմանի (cacdo:CADocDetails) կազմում «Փաստաթղթի համարը» վավերապայմանը (csdo:DocId) պետք է լրացվի։ Եթե տրանսպորտային (փոխադրման) փաստաթուղթը չունի համար, կատարվում է «ա/հ» նշումը |
|
15 |
«Ապրանքը» բարդ վավերապայմանի (cacdo:FEGoodsInfoDetails) կազմում «Ապրանքի անվանումը» վավերապայմանը (casdo:GoodsDescriptionText) պետք է լրացվի |
|
16 |
«Ապրանքը» բարդ վավերապայմանի (cacdo:FEGoodsInfoDetails) կազմում «Ապրանքի լիակատար արտահանման հատկանիշը» վավերապայմանը (casdo:GoodsFullyExportedIndicator) չի լրացվում |
|
17 |
եթե «Մաքսային մարմինը» բարդ վավերապայմանի (cacdo:CustomsOfficeFunctionalDetails) կազմում «Երկրի ծածկագիրը» վավերապայմանի (csdo:UnifiedCountryCode) արժեքը չի պարունակում «AM» արժեքը, «Մաքսային մարմնի պաշտոնատար անձը» բարդ վավերապայմանի (cacdo:CustomsPersonDetails) կազմում «Մաքսային մարմնի պաշտոնատար անձի ԱՀԿ-ի համարը» վավերապայմանը (casdo:LNPId) պետք է լրացվի |
|
18 |
եթե «Մաքսային մարմինը» բարդ վավերապայմանի (cacdo:CustomsOfficeFunctionalDetails) կազմում «Երկրի ծածկագիրը» վավերապայմանի (csdo:UnifiedCountryCode) արժեքը պարունակում է «AM» արժեքը, «ԱԱՀ» բարդ վավերապայմանի (ccdo:FullNameDetails) կազմում «Անունը» վավերապայմանը (csdo:FirstName), «ԱԱՀ» բարդ վավերապայմանի (ccdo:FullNameDetails) կազմում «Ազգանունը» վավերապայմանը (csdo:LastName) և «Մաքսային մարմնի պաշտոնատար անձը» բարդ վավերապայմանի (cacdo:CustomsPersonDetails) կազմում «Պաշտոնի անվանումը» վավերապայմանը (csdo:PositionName) պետք է լրացվեն |
|
19 |
«Տրանսպորտային միջոցը սահմանին» վավերապայմանը (cacdo:BorderTransportsDetails) պետք է լրացվի |
|
20 |
«Մաքսային մարմինը» վավերապայմանը (cacdo:CustomsOfficeFunctionalDetails) պետք է լրացվի |
40. «Ապրանքների հետագծման մասին տեղեկությունների էլեկտրոնային փոփոխում» հաղորդագրությամբ (P.CP.02.MSG.011) փոխանցվող «Ապրանքների փաստացի արտահանման (հետագծման) մասին տեղեկություններ» էլեկտրոնային փաստաթղթերի (տեղեկությունների) վավերապայմանների (R.CA.CP.02.003) լրացմանը ներկայացվող պահանջները բերված են 29-րդ աղյուսակում:
Աղյուսակ 29
«Ապրանքների հետագծման մասին տեղեկությունների էլեկտրոնային փոփոխում» հաղորդագրությամբ (P.CP.02.MSG.011) փոխանցվող «Ապրանքների փաստացի արտահանման (հետագծման) մասին տեղեկություններ» էլեկտրոնային փաստաթղթերի (տեղեկությունների) վավերապայմանների (R.CA.CP.02.003) լրացմանը ներկայացվող պահանջներ
|
Պահանջի ծածկագիրը |
Պահանջի ձևակերպումը |
|
1 |
էլեկտրոնային փաստաթուղթը (տեղեկությունները) պետք է պարունակի միայն 1 «Ապրանքների փաստացի արտահանումը։ Ապրանքների արտահանման (հետագծման) մասին տեղեկություններ» վավերապայման (cacdo:FEFactDetails) |
|
2 |
«Մաքսային մարմինը» բարդ վավերապայմանի (cacdo:CustomsOfficeFunctionalDetails) օրինակներից մեկի վավերապայմաններում, ինչպես նաև «Ապրանքների փաստացի արտահանումը։ Ապրանքների արտահանման (հետագծման) մասին տեղեկություններ» բարդ վավերապայմանի (cacdo:FEFactDetails) կազմում «Մաքսային փաստաթղթի գրանցման համարը» (cacdo:CustomsDeclarationIdDetails), «Ապրանքի մեկնման (հետագծման) թույլտվության գրանցման համարը, որը ձևավորվել է անդամ պետության օրենսդրությանը համապատասխան» (cacdo:FERegistrationIdDetails), «Ամսաթիվը և ժամը» (csdo:EventDateTime) վավերապայմաններում նշված արժեքները պետք է համապատասխանեն «Ապրանքների փաստացի արտահանումը։ Ապրանքների արտահանման (հետագծման) մասին տեղեկություններ» բարդ վավերապայմանի (cacdo:FEFactDetails) կազմում «Մաքսային մարմինը» (cacdo:CustomsOfficeFunctionalDetails), «Մաքսային փաստաթղթի գրանցման համարը» (cacdo:CustomsDeclarationIdDetails) և «Ապրանքի մեկնման (հետագծման) թույլտվության գրանցման համարը, որը ձևավորվել է անդամ պետության օրենսդրությանը համապատասխան» (cacdo:FERegistrationIdDetails), «Ամսաթիվը և ժամը» (csdo:EventDateTime) վավերապայմանների արժեքներին, որոնք նշված են «Էլեկտրոնային հաստատումը» հաղորդագրության (P.CP.02.MSG.003) կազմում «Ապրանքների փաստացի արտահանման հաստատումը» տրանզակցիայի (P.CP.02.TRN.002) շրջանակներում նախաձեռնողի կողմից ավելի վաղ ուղարկված և ռեսպոնդենտի կողմից հաջող մշակված սկզբնական էլեկտրոնային փաստաթղթում (տեղեկություններում) |
|
3 |
էլեկտրոնային փաստաթուղթը (տեղեկությունները) պետք է պարունակի «Մաքսային մարմինը» վավերապայմանի (cacdo:CustomsOfficeFunctionalDetails) 2 օրինակ |
|
4 |
«Մաքսային մարմինը» բարդ վավերապայմանի (cacdo:CustomsOfficeFunctionalDetails) օրինակի կազմում «Մաքսային մարմնի ծածկագիրը» վավերապայմանը (csdo:CustomsOfficeCode) պետք է լրացվի |
|
5 |
«Մաքսային մարմինը» բարդ վավերապայմանի (cacdo:CustomsOfficeFunctionalDetails) օրինակի կազմում «Երկրի ծածկագիրը» վավերապայմանի արժեքը (csdo:UnifiedCountryCode) պետք է լրացվի, և դրա արժեքը պետք է համապատասխանի երկրի ծածկագրին՝ աշխարհի երկրների դասակարգչից, իսկ «Տեղեկագրքի (դասակարգչի) նույնականացուցիչը» ատրիբուտի (codeListId ատրիբուտ) արժեքը դրա կազմում պետք է համապատասխանի Միության նորմատիվ-տեղեկատու տեղեկատվության ռեեստրում նշված դասակարգչի ծածկագրի արժեքին |
|
6 |
«Մաքսային մարմինը» բարդ վավերապայմանի (cacdo:CustomsOfficeFunctionalDetails) առաջին օրինակի կազմում «Երկրի ծածկագիրը» վավերապայմանի (csdo:UnifiedCountryCode) արժեքը պետք է համապատասխանի «Մաքսային մարմինը» բարդ վավերապայմանի (cacdo:CustomsOfficeFunctionalDetails) երկրորդ օրինակի կազմում «Երկրի ծածկագիրը» վավերապայմանի (csdo:UnifiedCountryCode) արժեքին |
|
7 |
«Մաքսային մարմինը» բարդ վավերապայմանի (cacdo:CustomsOfficeFunctionalDetails) օրինակի կազմում «Դերի ծածկագիրը» վավերապայմանը (casdo:RoleCode) պետք է լրացվի, և դրա արժեքը պետք է համապատասխանի «01»-ին՝ «մեկնման վայրի մաքսային մարմին», կամ «02»-ին՝ «այն անդամ պետության լիազորված մաքսային մարմին, որի տարածքում գտնվում է ապրանքների մեկնման վայրը», կամ «04»-ին՝ «այն անդամ պետության լիազորված մաքսային մարմին, որի տարածքում գտնվում է ապրանքների ժամանման վայրը», կամ «03»-ին՝ «ժամանման վայրի մաքսային մարմին» |
|
8 |
«Մաքսային մարմինը» բարդ վավերապայմանի (cacdo:CustomsOfficeFunctionalDetails) առաջին օրինակի կազմում «Դերի ծածկագիրը» վավերապայմանի (casdo:RoleCode) արժեքը չպետք է համապատասխանի «Մաքսային մարմինը» բարդ վավերապայմանի (cacdo:CustomsOfficeFunctionalDetails) երկրորդ օրինակի կազմում «Դերի ծածկագիրը» վավերապայմանի (casdo:RoleCode) արժեքին |
|
9 |
«Մաքսային մարմինը» բարդ վավերապայմանի (cacdo:CustomsOfficeFunctionalDetails) օրինակներից մեկի կազմում «Դերի ծածկագիրը» վավերապայմանի (casdo:RoleCode) արժեքը պետք է համապատասխանի «01» արժեքին՝ «մեկնման վայրի մաքսային մարմին», կամ «03» արժեքին՝ «ժամանման վայրի մաքսային մարմին»։ |
|
10 |
Եթե «Մաքսային մարմինը» բարդ վավերապայմանի (cacdo:CustomsOfficeFunctionalDetails) օրինակներից մեկի կազմում «Դերի ծածկագիրը» վավերապայմանի (casdo:RoleCode) արժեքը համապատասխանում է «01» արժեքին՝ «մեկնման վայրի մաքսային մարմին», ապա «Մաքսային մարմինը» բարդ վավերապայմանի (cacdo:CustomsOfficeFunctionalDetails) երկրորդ օրինակի կազմում «Դերի ծածկագիրը» վավերապայմանի (casdo:RoleCode) արժեքը պետք է համապատասխանի «02»-ի՝ «այն անդամ պետության լիազորված մաքսային մարմին, որի տարածքում գտնվում է ապրանքների մեկնման վայրը»։ |
|
11 |
Եթե «Մաքսային մարմինը» բարդ վավերապայմանի (cacdo:CustomsOfficeFunctionalDetails) օրինակներից մեկի կազմում «Դերի ծածկագիրը» վավերապայմանի (casdo:RoleCode) արժեքը համապատասխանում է «03» արժեքին՝ «ժամանման վայրի մաքսային մարմին», ապա «Մաքսային մարմինը» բարդ վավերապայմանի (cacdo:CustomsOfficeFunctionalDetails) երկրորդ օրինակի կազմում «Դերի ծածկագիրը» վավերապայմանի (casdo:RoleCode) արժեքը պետք է համապատասխանի «04»-ի՝ «այն անդամ պետության լիազորված մաքսային մարմին, որի տարածքում գտնվում է ապրանքների ժամանման վայրը»։ |
|
12 |
«Բազմաշրջանառու տարայի հատկանիշը» (casdo:ReusableContainerIndicator), «Տրանսպորտային միջոցը սահմանին» վավերապայմանները (cacdo:BorderTransportsDetails) և «Մաքսային մարմինը» վավերապայմանը (cacdo:CustomsOfficeFunctionalDetails) չեն լրացվում |
|
13 |
«Ապրանքը» բարդ վավերապայմանի (cacdo:FEGoodsInfoDetails) կազմում «Ապրանքի ծածկագիրն՝ ըստ ԵԱՏՄ ԱՏԳ ԱԱ-ի» վավերապայմանը (csdo:CommodityCode) չի լրացվում |
|
14 |
«Ապրանքը» բարդ վավերապայմանի (cacdo:FEGoodsInfoDetails) կազմում «Համաքաշը» վավերապայմանը (csdo:UnifiedGrossMassMeasure) պետք է լրացվի, և դրա կազմում «Չափման միավորը» ատրիբուտի (measurementUnitCode ատրիբուտ) արժեքը պետք է համապատասխանի չափման միավորների դասակարգչին համապատասխան ծածկագրին, իսկ «Տեղեկագրքի (դասակարգչի) նույնականացուցիչը» ատրիբուտի (codeListId ատրիբուտ) արժեքը դրա կազմում պետք է համապատասխանի Միության նորմատիվ-տեղեկատու տեղեկատվության ռեեստրում նշված դասակարգչի ծածկագրի արժեքին |
|
15 |
«Ապրանքը» բարդ վավերապայմանի (cacdo:FEGoodsInfoDetails) կազմում «Ապրանքների մնացորդը լրացուցիչ չափման միավորով» վավերապայմանը (cacdo:RemainGoodsMeasureDetails) չի լրացվում |
|
16 |
«Ապրանքը» բարդ վավերապայմանի (cacdo:FEGoodsInfoDetails) կազմում «Ապրանքի մնացորդը» վավերապայմանը (casdo:RemainGrossWeightMeasure) չի լրացվում |
|
17 |
«Ապրանքը» բարդ վավերապայմանի (cacdo:FEGoodsInfoDetails) կազմում «Ապրանքի քանակը» վավերապայմանը (cacdo:GoodsMeasureDetails) չի լրացվում |
|
18 |
«Արտահանվող ապրանքի մասին տեղեկատվություն» բարդ վավերապայմանի (cacdo:FEGoodsDetails) կազմում «Փաստաթղթի մասին տեղեկություններ» վավերապայմանը (cacdo:CADocDetails) պետք է լրացվի և պետք է պարունակի տրանսպորտային (փոխադրման) փաստաթղթի մասին տեղեկություններ |
|
19 |
«Փաստաթղթի մասին տեղեկություններ» բարդ վավերապայմանի (cacdo:CADocDetails) կազմում «Փաստաթղթի տեսակի ծածկագիրը» վավերապայմանը (csdo:DocKindCode) պետք է լրացվի, և դրա արժեքը պետք է համապատասխանի փաստաթղթերի և տեղեկությունների տեսակների դասակարգչին համապատասխան ծածկագրին, իսկ «Տեղեկագրքի (դասակարգչի) նույնականացուցիչը» ատրիբուտի (codeListId ատրիբուտ) արժեքը դրա կազմում պետք է համապատասխանի Միության նորմատիվ-տեղեկատու տեղեկատվության ռեեստրում նշված դասակարգչի ծածկագրի արժեքին |
|
20 |
«Փաստաթղթի մասին տեղեկություններ» բարդ վավերապայմանի (cacdo:CADocDetails) կազմում «Փաստաթղթի համարը» վավերապայմանը (csdo:DocId) պետք է լրացվի։ Եթե տրանսպորտային (փոխադրման) փաստաթուղթը չունի համար, կատարվում է «ա/հ» նշումը |
|
21 |
«Ապրանքը» բարդ վավերապայմանի (cacdo:FEGoodsInfoDetails) կազմում «Ապրանքի անվանումը» վավերապայմանը (casdo:GoodsDescriptionText) պետք է լրացվի |
|
22 |
«Ապրանքը» բարդ վավերապայմանի (cacdo:FEGoodsInfoDetails) կազմում «Ապրանքի լիակատար արտահանման հատկանիշը» վավերապայմանը (casdo:GoodsFullyExportedIndicator) չի լրացվում |
|
23 |
եթե «Մաքսային մարմինը» բարդ վավերապայմանի (cacdo:CustomsOfficeFunctionalDetails) կազմում «Երկրի ծածկագիրը» վավերապայմանի (csdo:UnifiedCountryCode) արժեքը չի պարունակում «AM» արժեքը, «Մաքսային մարմնի պաշտոնատար անձը» բարդ վավերապայմանի (cacdo:CustomsPersonDetails) կազմում «Մաքսային մարմնի պաշտոնատար անձի ԱՀԿ-ի համարը» վավերապայմանը (casdo:LNPId) պետք է լրացվի |
|
24 |
եթե «Մաքսային մարմինը» բարդ վավերապայմանի (cacdo:CustomsOfficeFunctionalDetails) կազմում «Երկրի ծածկագիրը» վավերապայմանի (csdo:UnifiedCountryCode) արժեքը պարունակում է «AM» արժեքը, «ԱԱՀ» բարդ վավերապայմանի (ccdo:FullNameDetails) կազմում «Անունը» վավերապայմանը (csdo:FirstName), «ԱԱՀ» բարդ վավերապայմանի (ccdo:FullNameDetails) կազմում «Ազգանունը» վավերապայմանը (csdo:LastName) և «Մաքսային մարմնի պաշտոնատար անձը» բարդ վավերապայմանի (cacdo:CustomsPersonDetails) կազմում «Պաշտոնի անվանումը» վավերապայմանը (csdo:PositionName) պետք է լրացվեն |
|
25 |
«Տրանսպորտային միջոցը սահմանին» վավերապայմանը (cacdo:BorderTransportsDetails) պետք է լրացվի |
|
26 |
«Մաքսային մարմինը» վավերապայմանը (cacdo:CustomsOfficeFunctionalDetails) պետք է լրացվի |
41. «Ապրանքների հետագծման մասին տեղեկությունների էլեկտրոնային չեղարկումը» հաղորդագրությամբ (P.CP.02.MSG.012) փոխանցվող «Ապրանքների փաստացի արտահանման (հետագծման) հաստատումը չեղարկելու մասին տեղեկություններ» էլեկտրոնային փաստաթղթերի (տեղեկությունների) վավերապայմանների (R.CA.CP.02.002) լրացմանը ներկայացվող պահանջները բերված են 30-րդ աղյուսակում:
Աղյուսակ 30
«Ապրանքների հետագծման մասին տեղեկությունների էլեկտրոնային չեղարկումը» հաղորդագրությամբ (P.CP.02.MSG.012) փոխանցվող «Ապրանքների փաստացի արտահանման (հետագծման) հաստատումը չեղարկելու մասին տեղեկություններ» էլեկտրոնային փաստաթղթերի (տեղեկությունների) վավերապայմանների (R.CA.CP.02.002) լրացմանը ներկայացվող պահանջներ
|
Պահանջի ծածկագիրը |
Պահանջի ձևակերպումը |
|
1 |
«Մաքսային մարմինը» բարդ վավերապայմանի (cacdo:CustomsOfficeFunctionalDetails) օրինակի կազմում «Մաքսային մարմնի ծածկագիրը» վավերապայմանը (csdo:CustomsOfficeCode) պետք է լրացվի |
|
2 |
«Մաքսային մարմինը» բարդ վավերապայմանի (cacdo:CustomsOfficeFunctionalDetails) օրինակի կազմում «Դերի ծածկագիրը» վավերապայմանը (casdo:RoleCode) պետք է լրացվի, և դրա արժեքը պետք է համապատասխանի «01»-ին՝ «մեկնման վայրի մաքսային մարմին», կամ «02»-ին՝ «այն անդամ պետության լիազորված մաքսային մարմին, որի տարածքում գտնվում է ապրանքների մեկնման վայրը» |
|
3 |
«Մաքսային մարմինը» բարդ վավերապայմանի (cacdo:CustomsOfficeFunctionalDetails) կազմում «Երկրի ծածկագիրը» վավերապայմանը (csdo:UnifiedCountryCode) պետք է լրացվի, և դրա արժեքը պետք է համապատասխանի երկրի ծածկագրին՝ աշխարհի երկրների դասակարգչից, իսկ «Տեղեկագրքի (դասակարգչի) նույնականացուցիչը» ատրիբուտի (codeListId ատրիբուտ) արժեքը դրա կազմում պետք է համապատասխանի Միության նորմատիվ-տեղեկատու տեղեկատվության ռեեստրում նշված դասակարգչի ծածկագրի արժեքին |
|
4 |
եթե «Մաքսային մարմինը» բարդ վավերապայմանի (cacdo:CustomsOfficeFunctionalDetails) կազմում «Երկրի ծածկագիրը» վավերապայմանի (csdo:UnifiedCountryCode) արժեքը չի պարունակում «AM» արժեքը, «Մաքսային մարմնի պաշտոնատար անձը» բարդ վավերապայմանի (cacdo:CustomsPersonDetails) կազմում «Մաքսային մարմնի պաշտոնատար անձի ԱՀԿ-ի համարը» վավերապայմանը (casdo:LNPId) պետք է լրացվի |
|
5 |
եթե «Մաքսային մարմինը» բարդ վավերապայմանի (cacdo:CustomsOfficeFunctionalDetails) կազմում «Երկրի ծածկագիրը» վավերապայմանի (csdo:UnifiedCountryCode) արժեքը պարունակում է «AM» արժեքը, «ԱԱՀ» բարդ վավերապայմանի (ccdo:FullNameDetails) կազմում «Անունը» վավերապայմանը (csdo:FirstName), «ԱԱՀ» բարդ վավերապայմանի (ccdo:FullNameDetails) կազմում «Ազգանունը» վավերապայմանը (csdo:LastName) և «Մաքսային մարմնի պաշտոնատար անձը» բարդ վավերապայմանի (cacdo:CustomsPersonDetails) կազմում «Պաշտոնի անվանումը» վավերապայմանը (csdo:PositionName) պետք է լրացվեն |
|
6 |
«Ապրանքների փաստացի արտահանման չեղարկման պատճառի ծածկագիրը» վավերապայմանը (casdo:ExportCancellationReasonCode) կարող է պարունակել հետևյալ արժեքները՝ «01»՝ ապրանքների մասին հայտարարագրի գրանցման համարի սխալ նշում, «08»՝ անհաղթահարելի ուժի ազդեցություն, «09»՝ ապրանքները Միության մաքսային տարածքը չեն լքել |
|
7 |
եթե «Ապրանքների փաստացի արտահանման չեղարկման պատճառի ծածկագիրը» վավերապայմանը (casdo:ExportCancellationReasonCode) պարունակում է «08» արժեքը, ապա «Այլ տեղեկություններ» վավերապայմանը (csdo:AdditionalInfoText) պետք է լրացվի |
|
8 |
եթե «Ապրանքների փաստացի արտահանման չեղարկման պատճառի ծածկագիրը» վավերապայմանը (casdo:ExportCancellationReasonCode) չի պարունակում «08» արժեքը, ապա «Այլ տեղեկություններ» վավերապայմանը (csdo:AdditionalInfoText) չի լրացվում |
|
9 |
«Մաքսային փաստաթղթի գրանցման համարը» (cacdo:CustomsDeclarationIdDetails), «Ապրանքի մեկնման (հետագծման) թույլտվության գրանցման համարը, որը ձևավորվել է անդամ պետության օրենսդրությանը համապատասխան» (cacdo:FERegistrationIdDetails) վավերապայմաններում նշված արժեքները պետք է համապատասխանեն «Մաքսային փաստաթղթի գրանցման համարը» (cacdo:CustomsDeclarationIdDetails), «Ապրանքի մեկնման (հետագծման) թույլտվության գրանցման համարը, որը ձևավորվել է անդամ պետության օրենսդրությանը համապատասխան» (cacdo:FERegistrationIdDetails) վավերապայմանների արժեքներին, որոնք նշված են «Էլեկտրոնային հաստատումը» հաղորդագրության (P.CP.02.MSG.003) կազմում «Ապրանքների հետագծման մասին ծանուցումը» տրանզակցիայի (P.CP.02.TRN.006) շրջանակներում նախաձեռնողի կողմից ավելի վաղ ուղարկված և ռեսպոնդենտի կողմից հաջող մշակված ելակետային էլեկտրոնային փաստաթղթում (տեղեկություններում) |
42. «Ապրանքների մեկնման մասին տեղեկությունների հարցում» հաղորդագրությամբ (P.CP.02.MSG.013) փոխանցվող «Ապրանքների փաստացի արտահանման (մեկնման) մասին տեղեկությունների հարցում» էլեկտրոնային փաստաթղթերի (տեղեկությունների) վավերապայմանների (R.CA.CP.02.005) լրացմանը ներկայացվող պահանջները բերված են 31-րդ աղյուսակում:
Աղյուսակ 31
«Ապրանքների մեկնման մասին տեղեկությունների հարցում» հաղորդագրությամբ (P.CP.02.MSG.013) փոխանցվող «Ապրանքների փաստացի արտահանման (մեկնման) մասին տեղեկությունների հարցում» էլեկտրոնային փաստաթղթերի (տեղեկությունների) վավերապայմանների (R.CA.CP.02.005) լրացմանը ներկայացվող պահանջներ
|
Պահանջի ծածկագիրը |
Պահանջի ձևակերպումը |
|
1 |
«Մաքսային մարմինը» բարդ վավերապայմանի (ccdo:CustomsOfficeDetails) կազմում «Երկրի ծածկագիրը» վավերապայմանը (csdo:UnifiedCountryCode) պետք է լրացվի, և դրա արժեքը պետք է համապատասխանի երկրի ծածկագրին՝ աշխարհի երկրների դասակարգչից, իսկ «Տեղեկագրքի (դասակարգչի) նույնականացուցիչը» ատրիբուտի (codeListId ատրիբուտ) արժեքը դրա կազմում պետք է համապատասխանի Միության նորմատիվ-տեղեկատու տեղեկատվության ռեեստրում նշված դասակարգչի ծածկագրի արժեքին |
|
2 |
«Մաքսային մարմինը» բարդ վավերապայմանի (ccdo:CustomsOfficeDetails) կազմում «Մաքսային մարմնի ծածկագիրը» վավերապայմանը (csdo:CustomsOfficeCode) պետք է լրացվի, և դրա արժեքը պետք է համապատասխանի Եվրասիական տնտեսական միության անդամ պետությունների մաքսային մարմինների դասակարգչին համապատասխան ծածկագրին |
|
3 |
եթե «Մաքսային մարմինը» բարդ վավերապայմանի (ccdo:CustomsOfficeDetails) կազմում «Երկրի ծածկագիրը» վավերապայմանի (csdo:UnifiedCountryCode) արժեքը չի պարունակում «AM» արժեքը, «Մաքսային մարմնի պաշտոնատար անձը» բարդ վավերապայմանի (cacdo:CustomsPersonDetails) կազմում «Մաքսային մարմնի պաշտոնատար անձի ԱՀԿ-ի համարը» վավերապայմանը (casdo:LNPId) պետք է լրացվի |
|
4 |
եթե «Մաքսային մարմինը» բարդ վավերապայմանի (ccdo:CustomsOfficeDetails) կազմում «Երկրի ծածկագիրը» վավերապայմանի (csdo:UnifiedCountryCode) արժեքը պարունակում է «AM» արժեքը, «ԱԱՀ» բարդ վավերապայմանի (ccdo:FullNameDetails) կազմում «Անունը» վավերապայմանը (csdo:FirstName), «ԱԱՀ» բարդ վավերապայմանի (ccdo:FullNameDetails) կազմում «Ազգանունը» վավերապայմանը (csdo:LastName) և «Մաքսային մարմնի պաշտոնատար անձը» բարդ վավերապայմանի (cacdo:CustomsPersonDetails) կազմում «Պաշտոնի անվանումը» վավերապայմանը (csdo:PositionName) պետք է լրացվեն |
43. «Ապրանքների մեկնման (հետագծման) մասին տեղեկություններ» հաղորդագրությամբ (P.CP.02.MSG.014) փոխանցվող «Ապրանքների փաստացի արտահանման (հետագծման) մասին տեղեկություններ» էլեկտրոնային փաստաթղթերի (տեղեկությունների) վավերապայմանների (R.CA.CP.02.003) լրացմանը ներկայացվող պահանջները բերված են 32-րդ աղյուսակում:
Աղյուսակ 32
«Ապրանքների մեկնման (հետագծման) մասին տեղեկություններ» հաղորդագրությամբ (P.CP.02.MSG.014) փոխանցվող «Ապրանքների փաստացի արտահանման (հետագծման) մասին տեղեկություններ» էլեկտրոնային փաստաթղթերի (տեղեկությունների) վավերապայմանների (R.CA.CP.02.003) լրացմանը ներկայացվող պահանջներ
|
Պահանջի ծածկագիրը |
Պահանջի ձևակերպումը |
|
1 |
«Ապրանքների մեկնման (հետագծման) մասին տեղեկություններ» հաղորդագրության մեջ (P.CP.02.MSG.014) «Մաքսային փաստաթղթի գրանցման համարը» վավերապայմանի (cacdo:CustomsDeclarationIdDetails) արժեքը պետք է համապատասխանի ընդհանուր գործընթացի տրանզակցիայի մեկ օրինակի շրջանակներում փոխանցվող՝ «Ապրանքների մեկնման մասին տեղեկությունների հարցում» հաղորդագրության մեջ (P.CP.02.MSG.014) «Մաքսային փաստաթղթի գրանցման համարը» վավերապայմանի (cacdo:CustomsDeclarationIdDetails) արժեքին |
|
2 |
էլեկտրոնային փաստաթուղթը (տեղեկությունները) պետք է պարունակի «Մաքսային մարմինը» վավերապայմանի (cacdo:CustomsOfficeFunctionalDetails) 1 օրինակ |
|
3 |
«Մաքսային մարմինը» բարդ վավերապայմանի (cacdo:CustomsOfficeFunctionalDetails) օրինակի կազմում «Երկրի ծածկագիրը» վավերապայմանի (csdo:UnifiedCountryCode) արժեքը պետք է լրացվի, և դրա արժեքը պետք է համապատասխանի երկրի ծածկագրին՝ աշխարհի երկրների դասակարգչից, իսկ «Տեղեկագրքի (դասակարգչի) նույնականացուցիչը» ատրիբուտի (codeListId ատրիբուտ) արժեքը դրա կազմում պետք է համապատասխանի Միության նորմատիվ-տեղեկատու տեղեկատվության ռեեստրում նշված դասակարգչի ծածկագրի արժեքին |
|
4 |
«Մաքսային մարմինը» բարդ վավերապայմանի (cacdo:CustomsOfficeFunctionalDetails) օրինակի կազմում «Մաքսային մարմնի ծածկագիրը» վավերապայմանը (csdo:CustomsOfficeCode) պետք է լրացվի |
|
5 |
«Մաքսային մարմինը» բարդ վավերապայմանի (cacdo:CustomsOfficeFunctionalDetails) օրինակի կազմում «Դերի ծածկագիրը» վավերապայմանը (casdo:RoleCode) պետք է լրացվի, և դրա արժեքը պետք է համապատասխանի «01»-ին՝ «մեկնման վայրի մաքսային մարմին» |
|
6 |
«Բազմաշրջանառու տարայի հատկանիշը» վավերապայմանը (casdo:ReusableContainerIndicator) չի լրացվում |
|
7 |
«Ապրանքը» բարդ վավերապայմանի (cacdo:FEGoodsInfoDetails) կազմում «Ապրանքի ծածկագիրն՝ ըստ ԵԱՏՄ ԱՏԳ ԱԱ-ի» վավերապայմանը (csdo:CommodityCode) չի լրացվում |
|
8 |
«Ապրանքը» բարդ վավերապայմանի (cacdo:FEGoodsInfoDetails) կազմում «Ապրանքի անվանումը» վավերապայմանը (casdo:GoodsDescriptionText) պետք է լրացվի |
|
9 |
«Ապրանքը» բարդ վավերապայմանի (cacdo:FEGoodsInfoDetails) կազմում «Համաքաշը» վավերապայմանը (csdo:UnifiedGrossMassMeasure) պետք է լրացվի, և դրա կազմում «Չափման միավորը» ատրիբուտի (measurementUnitCode ատրիբուտ) արժեքը պետք է համապատասխանի չափման միավորների դասակարգչին համապատասխան ծածկագրին, իսկ «Տեղեկագրքի (դասակարգչի) նույնականացուցիչը» ատրիբուտի (codeListId ատրիբուտ) արժեքը դրա կազմում պետք է համապատասխանի Միության նորմատիվ-տեղեկատու տեղեկատվության ռեեստրում նշված դասակարգչի ծածկագրի արժեքին |
|
10 |
«Ապրանքը» բարդ վավերապայմանի (cacdo:FEGoodsInfoDetails) կազմում «Ապրանքների մնացորդը լրացուցիչ չափման միավորով» վավերապայմանը (cacdo:RemainGoodsMeasureDetails) չի լրացվում |
|
11 |
«Ապրանքը» բարդ վավերապայմանի (cacdo:FEGoodsInfoDetails) կազմում «Ապրանքի մնացորդը» վավերապայմանը (casdo:RemainGrossWeightMeasure) չի լրացվում |
|
12 |
«Ապրանքը» բարդ վավերապայմանի (cacdo:FEGoodsInfoDetails) կազմում «Ապրանքի քանակը» վավերապայմանը (cacdo:GoodsMeasureDetails) չի լրացվում |
|
13 |
«Արտահանվող ապրանքի մասին տեղեկատվություն» բարդ վավերապայմանի (cacdo:FEGoodsDetails) կազմում «Փաստաթղթի մասին տեղեկություններ» վավերապայմանը (cacdo:CADocDetails) պետք է լրացվի և պետք է պարունակի տրանսպորտային (փոխադրման) փաստաթղթի մասին տեղեկություններ |
|
14 |
«Փաստաթղթի մասին տեղեկություններ» բարդ վավերապայմանի (cacdo:CADocDetails) կազմում «Փաստաթղթի տեսակի ծածկագիրը» վավերապայմանը (csdo:DocKindCode) պետք է լրացվի, և դրա արժեքը պետք է համապատասխանի փաստաթղթերի և տեղեկությունների տեսակների դասակարգչին համապատասխան ծածկագրին, իսկ «Տեղեկագրքի (դասակարգչի) նույնականացուցիչը» ատրիբուտի (codeListId ատրիբուտ) արժեքը դրա կազմում պետք է համապատասխանի Միության նորմատիվ-տեղեկատու տեղեկատվության ռեեստրում նշված դասակարգչի ծածկագրի արժեքին |
|
15 |
«Փաստաթղթի մասին տեղեկություններ» բարդ վավերապայմանի (cacdo:CADocDetails) կազմում «Փաստաթղթի համարը» վավերապայմանը (csdo:DocId) պետք է լրացվի։ Եթե տրանսպորտային (փոխադրման) փաստաթուղթը չունի համար, կատարվում է «ա/հ» նշումը |
|
16 |
«Ապրանքի լիակատար արտահանման հատկանիշը» վավերապայմանը (casdo:GoodsFullyExported Indicator) չի լրացվում |
|
17 |
եթե «Մաքսային մարմինը» բարդ վավերապայմանի (cacdo:CustomsOfficeFunctionalDetails) կազմում «Երկրի ծածկագիրը» վավերապայմանի (csdo:UnifiedCountryCode) արժեքը չի պարունակում «AM» արժեքը, «Մաքսային մարմնի պաշտոնատար անձը» բարդ վավերապայմանի (cacdo:CustomsPersonDetails) կազմում «Մաքսային մարմնի պաշտոնատար անձի ԱՀԿ-ի համարը» վավերապայմանը (casdo:LNPId) պետք է լրացվի |
|
18 |
եթե «Մաքսային մարմինը» բարդ վավերապայմանի (cacdo:CustomsOfficeFunctionalDetails) կազմում «Երկրի ծածկագիրը» վավերապայմանի (csdo:UnifiedCountryCode) արժեքը պարունակում է «AM» արժեքը, «ԱԱՀ» բարդ վավերապայմանի (ccdo:FullNameDetails) կազմում «Անունը» վավերապայմանը (csdo:FirstName), «ԱԱՀ» բարդ վավերապայմանի (ccdo:FullNameDetails) կազմում «Ազգանունը» վավերապայմանը (csdo:LastName) և «Մաքսային մարմնի պաշտոնատար անձը» բարդ վավերապայմանի (cacdo:CustomsPersonDetails) կազմում «Պաշտոնի անվանումը» վավերապայմանը (csdo:PositionName) պետք է լրացվեն |
|
19 |
«Տրանսպորտային միջոցը սահմանին» վավերապայմանը (cacdo:BorderTransportsDetails) պետք է լրացվի |
3. Նշված որոշմամբ հաստատված՝ «Եվրասիական տնտեսական միության մաքսային տարածքի սահմաններից դուրս ապրանքների փաստացի արտահանման հսկողության և հաստատման ընթացքում Եվրասիական տնտեսական միության անդամ պետությունների մաքսային մարմինների միջև տեղեկությունների փոխանակման ապահովում» ընդհանուր գործընթացը Եվրասիական տնտեսական միության ինտեգրված տեղեկատվական համակարգի միջոցներով իրագործելու համար օգտագործվող էլեկտրոնային փաստաթղթերի և տեղեկությունների ձևաչափերի ու կառուցվածքների նկարագրությունը շարադրել հետևյալ խմբագրությամբ՝
|
«ՀԱՍՏԱՏՎԱԾ Է Եվրասիական տնտեսական հանձնաժողովի կոլեգիայի 2018 թվականի օգոստոսի 21-ի թիվ 128 որոշմամբ (Եվրասիական տնտեսական հանձնաժողովի կոլեգիայի 20 թվականի -ի թիվ որոշման խմբագրությամբ) |
ՆԿԱՐԱԳՐՈՒԹՅՈՒՆ
«Եվրասիական տնտեսական միության մաքսային տարածքի սահմաններից դուրս ապրանքների փաստացի արտահանման հսկողության և հաստատման ընթացքում Եվրասիական տնտեսական միության անդամ պետությունների մաքսային մարմինների միջև տեղեկությունների փոխանակման ապահովում» ընդհանուր գործընթացը Եվրասիական տնտեսական միության ինտեգրված տեղեկատվական համակարգի միջոցներով իրագործելու համար օգտագործվող էլեկտրոնային փաստաթղթերի և տեղեկությունների ձևաչափերի ու կառուցվածքների
I. Ընդհանուր դրույթներ
1. Սույն նկարագրությունը մշակվել է Եվրասիական տնտեսական միության (այսուհետ՝ Միություն) իրավունքի մաս կազմող հետևյալ ակտերին համապատասխան.
«Եվրասիական տնտեսական միության մասին» 2014 թվականի մայիսի 29-ի պայմանագիր.
Եվրասիական տնտեսական հանձնաժողովի կոլեգիայի 2014 թվականի նոյեմբերի 6-ի «Ընդհանուր գործընթացներն արտաքին և փոխադարձ առևտրի ինտեգրված տեղեկատվական համակարգի միջոցներով իրագործելիս տեղեկատվական փոխգործակցությունը կանոնակարգող տեխնոլոգիական փաստաթղթերի մասին» թիվ 200 որոշում.
Եվրասիական տնտեսական հանձնաժողովի կոլեգիայի 2015 թվականի հունվարի 27-ի «Արտաքին և փոխադարձ առևտրի ինտեգրված տեղեկատվական համակարգում տվյալների էլեկտրոնային փոխանակման կանոնների հաստատման մասին» թիվ 5 որոշում.
Եվրասիական տնտեսական հանձնաժողովի կոլեգիայի 2015 թվականի ապրիլի 14-ի «Եվրասիական տնտեսական միության շրջանակներում ընդհանուր գործընթացների ցանկի և Եվրասիական տնտեսական հանձնաժողովի կոլեգիայի 2014 թվականի օգոստոսի 19-ի թիվ 132 որոշման մեջ փոփոխություն կատարելու մասին» թիվ 29 որոշում.
Եվրասիական տնտեսական հանձնաժողովի կոլեգիայի 2015 թվականի հունիսի 9-ի «Եվրասիական տնտեսական միության շրջանակներում ընդհանուր գործընթացների վերլուծության, օպտիմալացման, ներդաշնակեցման և նկարագրության մեթոդիկայի մասին» թիվ 63 որոշում.
Եվրասիական տնտեսական հանձնաժողովի կոլեգիայի 2015 թվականի սեպտեմբերի 28-ի «Եվրասիական տնտեսական միության անդամ պետությունների պետական իշխանության մարմինների՝ միմյանց միջև, և Եվրասիական տնտեսական հանձնաժողովի հետ անդրսահմանային փոխգործակցության ընթացքում էլեկտրոնային փաստաթղթերի փոխանակման մասին հիմնադրույթը հաստատելու մասին» թիվ 125 որոշում.
Եվրասիական տնտեսական հանձնաժողովի կոլեգիայի 2017 թվականի նոյեմբերի 7-ի «Առանց «մաքսային տարանցում» մաքսային ընթացակարգով ձևակերպելու Եվրասիական տնտեսական միության անդամ չհանդիսացող պետությունների տարածքներով և (կամ) ծովով փոխադրվող ապրանքների առանձին կատեգորիաների ժամանման և մեկնման ժամանակ կատարվող մաքսային գործառնությունների իրականացման որոշ հարցերի մասին» թիվ 134 որոշում (Եվրասիական տնտեսական հանձնաժողովի կոլեգիայի 2019 թվականի հոկտեմբերի 14-ի «Եվրասիական տնտեսական հանձնաժողովի կոլեգիայի որոշ որոշումներում փոփոխություններ կատարելու մասին» թիվ 181 որոշման խմբագրությամբ).
Եվրասիական տնտեսական հանձնաժողովի կոլեգիայի 2018 թվականի փետրվարի 7-ի «Եվրասիական տնտեսական միության մաքսային տարածքից ապրանքների փաստացի արտահանումը Միության անդամ պետությունների մաքսային մարմինների կողմից հաստատելու կարգի մասին» թիվ 25 որոշում (Եվրասիական տնտեսական հանձնաժողովի կոլեգիայի 2019 թվականի հոկտեմբերի 14-ի «Եվրասիական տնտեսական հանձնաժողովի կոլեգիայի որոշ որոշումներում փոփոխություններ կատարելու մասին» թիվ 181 որոշման խմբագրությամբ)։
II. Կիրառման ոլորտը
2. Սույն նկարագրությամբ սահմանվում են «Եվրասիական տնտեսական միության մաքսային տարածքի սահմաններից դուրս ապրանքների փաստացի արտահանման հսկողության և հաստատման ընթացքում Եվրասիական տնտեսական միության անդամ պետությունների մաքսային մարմինների միջև տեղեկությունների փոխանակման ապահովում» ընդհանուր գործընթացի (այսուհետ՝ ընդհանուր գործընթաց) շրջանակներում տեղեկատվական փոխգործակցության ժամանակ կիրառվող էլեկտրոնային փաստաթղթերի և տեղեկությունների ձևաչափերին և կառուցվածքներին ներկայացվող պահանջները։
3. Սույն նկարագրությունը կիրառվում է ընդհանուր գործընթացի ընթացակարգերը Եվրասիական տնտեսական միության ինտեգրված տեղեկատվական համակարգի (այսուհետ՝ ինտեգրված համակարգ) միջոցներով իրագործելիս տեղեկատվական համակարգերի բաղադրիչների նախագծման, մշակման և լրամշակման ժամանակ։
4. Էլեկտրոնային փաստաթղթերի և տեղեկությունների ձևաչափերի ու կառուցվածքների նկարագրությունը բերվում է աղյուսակի ձևով՝ նշելով վավերապայմանների ամբողջական կազմը՝ հաշվի առնելով ստորակարգության մակարդակներն ընդհուպ մինչև պարզ (անտրոհելի) վավերապայմանները:
5. Աղյուսակում նկարագրվում է էլեկտրոնային փաստաթղթերի (տեղեկությունների) վավերապայմանների (այսուհետ՝ վավերապայմաններ) և տվյալների մոդելի տարրերի միանշանակ համապատասխանությունը:
6. Աղյուսակում ձևավորվում են հետևյալ դաշտերը (սյունակները)՝
ստորակարգային համար՝ վավերապայմանի հերթական համարը.
վավերապայմանի անուն՝ վավերապայմանի հաստատուն կամ պաշտոնական բառային նշագիրը.
վավերապայմանի նկարագրություն՝ վավերապայմանի իմաստը (իմաստաբանությունը) պարզաբանող տեքստ.
նույնականացուցիչ՝ վավերապայմանին համապատասխանող՝ տվյալների մոդելում տվյալների տարրի նույնականացուցիչ.
արժեքների ոլորտ՝ վավերապայմանի հնարավոր արժեքների բառային նկարագրությունը.
բազմ.՝ վավերապայմանների բազմաքանակություն՝ վավերապայմանի պարտադիր (կամընտրական) լինելը և հնարավոր կրկնությունների քանակը:
7. Վավերապայմանների բազմաքանակությունը նշելու համար օգտագործվում են հետևյալ նշագրերը՝
1՝ վավերապայմանը պարտադիր է, կրկնություններ չեն թույլատրվում.
n՝ վավերապայմանը պարտադիր է, պետք է կրկնվի n անգամ (n > 1).
1..*՝ վավերապայմանը պարտադիր է, կարող է կրկնվել առանց սահմանափակումների.
n..*՝ վավերապայմանը պարտադիր է, պետք է կրկնվի ոչ պակաս, քան n անգամ (n > 1).
n..m՝ վավերապայմանը պարտադիր է, պետք է կրկնվի ոչ պակաս, քան n անգամ, և ոչ ավելի, քան m անգամ (n > 1, m > n).
0..1՝ վավերապայմանը կամընտրական է, կրկնություններ չեն թույլատրվում.
0..*՝ վավերապայմանը կամընտրական է, կարող է կրկնվել առանց սահմանափակումների.
0..m՝ վավերապայմանը կամընտրական է, կարող է կրկնվել ոչ ավելի, քան m անգամ (m > 1):
III. Հիմնական հասկացությունները
8. Սույն նկարագրության նպատակներով օգտագործվում են հասկացություններ, որոնք ունեն հետևյալ իմաստը՝
անդամ պետություն՝ Եվրասիական տնտեսական միության անդամ հանդիսացող պետություն.
ԱՀԿ՝ մաքսային մարմինների պաշտոնատար անձի անձնական համարակալված կնիքը, որի դրոշմվածքը մաքսային փաստաթղթերում դնելով և դրանցում պաշտոնատար անձի ստորագրությամբ հաստատվում է մաքսային գործառնությունն իրականացնելը.
վավերապայման՝ էլեկտրոնային փաստաթղթի (տեղեկությունների) տվյալների միավոր, որը որոշակի համատեքստում համարվում է անբաժանելի.
ԵԱՏՄ ԱՏԳ ԱԱ՝ Եվրասիական տնտեսական միության արտաքին տնտեսական գործունեության միասնական ապրանքային անվանացանկ:
Սույն նկարագրությունում օգտագործվող «տվյալների բազիսային մոդել», «տվյալների մոդել», «առարկայական ոլորտի տվյալների մոդել», «առարկայական ոլորտ» և «էլեկտրոնային փաստաթղթերի և տեղեկությունների կառուցվածքների ռեեստր» հասկացությունները կիրառվում են Եվրասիական տնտեսական հանձնաժողովի կոլեգիայի 2015 թվականի հունիսի 9-ի թիվ 63 որոշմամբ հաստատված՝ Եվրասիական տնտեսական միության շրջանակներում ընդհանուր գործընթացների վերլուծության, օպտիմալացման, ներդաշնակեցման և նկարագրության մեթոդիկայով սահմանված իմաստներով։
Սույն նկարագրությունում օգտագործվող մյուս հասկացությունները կիրառվում են Եվրասիական տնտեսական հանձնաժողովի կոլեգիայի՝ 20—— թվականի ———— —— -ի թիվ —— որոշմամբ հաստատված՝ «Եվրասիական տնտեսական միության անդամ պետությունների մաքսային մարմինների միջև տեղեկությունների փոխանակման ապահովում Եվրասիական տնտեսական միության մաքսային տարածքի սահմաններից դուրս ապրանքների փաստացի արտահանման հսկողության և հաստատման գործընթացում» ընդհանուր գործընթացը Եվրասիական տնտեսական միության ինտեգրված տեղեկատվական համակարգի միջոցներով իրագործելիս տեղեկատվական փոխգործակցության կանոնների 4-րդ կետում սահմանված իմաստներով։
Սույն նկարագրության 4-րդ, 7-րդ, 10-րդ, 13-րդ, 16-րդ, 19-րդ և 22-րդ աղյուսակներում Տեղեկատվական փոխգործակցության կանոնակարգ ասելով հասկանում ենք Եվրասիական տնտեսական հանձնաժողովի կոլեգիայի՝ 20 թվականի -ի թիվ որոշմամբ հաստատված՝ «Եվրասիական տնտեսական միության անդամ պետությունների մաքսային մարմինների միջև տեղեկությունների փոխանակման ապահովում Եվրասիական տնտեսական միության մաքսային տարածքի սահմաններից դուրս ապրանքների փաստացի արտահանման հսկողության և հաստատման գործընթացում» ընդհանուր գործընթացը Եվրասիական տնտեսական միության ինտեգրված տեղեկատվական համակարգի միջոցներով իրագործելիս Եվրասիական տնտեսական միության անդամ պետությունների լիազորված մարմինների միջև տեղեկատվական փոխգործակցության կանոնակարգ։
IV. Էլեկտրոնային փաստաթղթերի և տեղեկությունների կառուցվածքները
9. Էլեկտրոնային փաստաթղթերի և տեղեկությունների կառուցվածքների ցանկը բերված է 1-ին աղյուսակում։
Աղյուսակ 1
Էլեկտրոնային փաստաթղթերի և տեղեկությունների կառուցվածքների ցանկ
|
Թիվ՝ ը/կ |
Նույնականացուցիչը |
Անունը |
Անվանումների տարածությունը |
|
1 |
2 |
3 |
4 |
|
1 |
Էլեկտրոնային փաստաթղթերի և տեղեկությունների կառուցվածքները բազիսային մոդելում | ||
|
1.1 |
R.006 |
մշակման արդյունքի մասին ծանուցումը |
urn:EEC:R:ProcessingResultDetails:vY.Y.Y |
|
2 |
«Մաքսային վարչարարություն» առարկայական ոլորտում էլեկտրոնային փաստաթղթերի և տեղեկությունների կառուցվածքները | ||
|
2.1 |
R.CA.CP.02.001 |
արտահանվող ապրանքների մասին տեղեկությունների հարցում |
urn:EEC:R:CA:CP:02:ExportQuery:v1.1.1 |
|
2.2 |
R.CA.CP.02.002 |
ապրանքների փաստացի արտահանման (հետագծման) հաստատումը չեղարկելու մասին տեղեկություններ |
urn:EEC:R:CA:CP:02:ExportCancellation:v1.1.1 |
|
2.3 |
R.CA.CP.02.003 |
ապրանքների փաստացի արտահանման (հետագծման) մասին տեղեկություններ |
urn:EEC:R:CA:CP:02:ExportNotification:v1.1.1 |
|
2.4 |
R.CA.CP.02.004 |
բաց թողնված ապրանքների մասին տեղեկություններ |
urn:EEC:R:CA:CP:02:ExportInformation:v1.1.1 |
|
2.5 |
R.CA.CP.02.005 |
ապրանքների փաստացի արտահանման (մեկնման) մասին տեղեկությունների հարցում |
urn:EEC:R:CA:CP:02:FactualExportQuery:v1.1.1 |
Էլեկտրոնային փաստաթղթերի և տեղեկությունների կառուցվածքների անվանումների տարածություններում «Y.Y.Y» պայմանանշանները համապատասխանում են էլեկտրոնային փաստաթղթի (տեղեկությունների) կառուցվածքի այն տարբերակի համարին, որը սահմանվում է Մաքսային միության արտաքին և փոխադարձ առևտրի ինտեգրված տեղեկատվական համակարգում տեղեկատվական փոխգործակցության իրագործման ժամանակ օգտագործվող էլեկտրոնային փաստաթղթերի և տեղեկությունների կառուցվածքների ռեեստրում (այսուհետ՝ կառուցվածքների ռեեստր) ընդգրկման ենթակա՝ էլեկտրոնային փաստաթղթերի (տեղեկությունների) կառուցվածքի տեխնիկական սխեման սույն նկարագրությանը համապատասխան մշակելիս օգտագործված տվյալների բազիսային մոդելի տարբերակի համարին համապատասխան:
1. Էլեկտրոնային փաստաթղթերի և տեղեկությունների կառուցվածքները բազիսային մոդելում
10. «Մշակման արդյունքի մասին ծանուցումը» էլեկտրոնային փաստաթղթի (տեղեկությունների) (R.006) կառուցվածքի նկարագրությունը բերված է 2-րդ աղյուսակում:
Աղյուսակ 2
«Մշակման արդյունքի մասին ծանուցումը» էլեկտրոնային փաստաթղթի (տեղեկությունների) (R.006) կառուցվածքի նկարագրություն
|
Թիվ՝ ը/կ |
Տարրի նշագիրը |
Նկարագրությունը |
|
1 |
2 |
3 |
|
1 |
Անունը |
մշակման արդյունքի մասին ծանուցում |
|
2 |
Նույնականացուցիչը |
R.006 |
|
3 |
Տարբերակը |
Y.Y.Y |
|
4 |
Սահմանումը |
ռեսպոնդենտի կողմից հարցումը մշակելու արդյունքի մասին տեղեկություններ |
|
5 |
Օգտագործումը |
- |
|
6 |
Անվանումների տարածության նույնականացուցիչը |
urn:EEC:R:ProcessingResultDetails:vY.Y.Y |
|
7 |
XML-փաստաթղթի արմատային տարրը |
ProcessingResultDetails |
|
8 |
XML-սխեմայի ֆայլի անունը |
EEC_R_ProcessingResultDetails_vY.Y.Y.xsd |
Էլեկտրոնային փաստաթղթերի և տեղեկությունների կառուցվածքների անվանումների տարածություններում «Y.Y.Y» պայմանանշանները համապատասխանում են էլեկտրոնային փաստաթղթի (տեղեկությունների) կառուցվածքի այն տարբերակի համարին, որը սահմանվում է կառուցվածքների ռեեստրում ներառման ենթակա՝ էլեկտրոնային փաստաթղթի (տեղեկությունների) կառուցվածքի տեխնիկական սխեման սույն նկարագրությանը համապատասխան մշակելիս օգտագործված տվյալների բազիսային մոդելի տարբերակի համարին համապատասխան:
11. Ներմուծվող անվանումների տարածությունները բերված են 3-րդ աղյուսակում:
Աղյուսակ 3
Ներմուծվող անվանումների տարածությունները
|
թիվ ը/կ |
Անվանումների տարածության նույնականացուցիչը |
Նախածանցը |
|
1 |
2 |
3 |
|
1 |
urn:EEC:M:Compl exDataObjects: vX.X.X |
ccdo |
|
2 |
urn:EEC:M:SimpleDataObjects:vX.X.X |
csdo |
Ներմուծվող անվանումների տարածություններում «X.X.X» պայմանանշանները համապատասխանում են կառուցվածքների ռեեստրում ներառման ենթակա՝ էլեկտրոնային փաստաթղթի (տեղեկությունների) կառուցվածքի տեխնիկական սխեման սույն նկարագրությանը համապատասխան մշակելիս օգտագործված տվյալների բազիսային մոդելի տարբերակի համարին:
12. «Մշակման արդյունքի մասին ծանուցում» էլեկտրոնային փաստաթղթի (տեղեկությունների) (R.006) կառուցվածքի վավերապայմանների կազմը բերված է 4-րդ աղյուսակում:
Աղյուսակ 4
«Մշակման արդյունքի մասին ծանուցում» էլեկտրոնային փաստաթղթի (տեղեկությունների) (R.006) կառուցվածքի վավերապայմանների կազմը
|
Վավերապայմանի անվանումը |
Վավերապայմանի նկարագրությունը |
Նույնականացուցիչը |
Տվյալների տեսակը |
Բազմ. |
|
1. Էլեկտրոնային փաստաթղթի (տեղեկությունների) վերնագիրը (ccdo:EDocHeader) |
էլեկտրոնային փաստաթղթի (տեղեկությունների) տեխնոլոգիական վավերապայմանների ամբողջությունը |
M.CDE.90001 |
ccdo:EDocHeaderType (M.CDT.90001) Որոշվում է ներդրված տարրերի արժեքների տիրույթներով |
1 |
|
1.1. Ընդհանուր գործընթացի հաղորդագրության ծածկագիրը (csdo:InfEnvelopeCode) |
ընդհանուր գործընթացի հաղորդագրության ծածկագրային նշագիրը |
M.SDE.90010 |
csdo:InfEnvelopeCodeType (M.SDT.90004) Ծածկագրի արժեքը՝ Տեղեկատվական փոխգործակցության կանոնակարգին համապատասխան: Ձևանմուշը՝ P\.[A-Z]{2}\.[0- 9]{2}\.MSG\.[0-9]{3} |
1 |
|
1.2. Էլեկտրոնային փաստաթղթի (տեղեկությունների) ծածկագիրը (csdo:EDocCode) |
էլեկտրոնային փաստաթղթի (տեղեկությունների) ծածկագրային նշագիրը՝ էլեկտրոնային փաստաթղթերի և տեղեկությունների կառուցվածքների ռեեստրին համապատասխան |
M.SDE.90001 |
csdo:EDocCodeType (M.SDT.90001) Ծածկագրի արժեքը՝ էլեկտրոնային փաստաթղթերի և տեղեկությունների կառուցվածքների ռեեստրին համապատասխան: Ձևանմուշը՝ R(\.[A-Z]{2}\.[A-Z]{2}\.[0- 9]{2})?\[0-9]{3} |
1 |
|
1.3. Էլեկտրոնային փաստաթղթի (տեղեկությունների) նույնականացուցիչը (csdo:EDocId) |
էլեկտրոնային փաստաթուղթը (տեղեկությունները) միանշանակ նույնականացնող պայմանանշանների տողը |
M.SDE.90007 |
csdo:UniversallyUniqueIdType (M.SDT.90003) Նույնականացուցչի արժեքը՝ ISO/IEC 9834-8-ին համապատասխան։ Ձևանմուշը՝ [0-9a-fA-F]{8}-[0-9a-fA- F]{4}-[0-9a-fA-F]{4}-[0-9a-fA-F]{4}- [0-9a-fA-F]{12} |
1 |
|
1.4. Սկզբնական էլեկտրոնային փաստաթղթի (տեղեկությունների) նույնականացուցիչը (csdo:EDocRefId) |
էլեկտրոնային փաստաթղթի (տեղեկությունների) նույնականացուցիչը, որին ի պատասխան ձևավորվել է տվյալ էլեկտրոնային փաստաթուղթը (տեղեկությունները) |
M.SDE.90008 |
csdo:UniversallyUniqueIdType (M.SDT.90003) Նույնականացուցչի արժեքը՝ ISO/IEC 9834-8-ին համապատասխան։ Ձևանմուշը՝ [0-9a-fA-F]{8}-[0-9a-fA- F]{4}-[0-9a-fA-F]{4}-[0-9a-fA-F]{4}- [0-9a-fA-F]{12} |
0..1 |
|
1.5. Էլեկտրոնային փաստաթղթի (տեղեկությունների) ամսաթիվը և ժամը (csdo:EDocDateTime) |
էլեկտրոնային փաստաթղթի (տեղեկությունների) ստեղծման ամսաթիվը և ժամը |
M.SDE.90002 |
bdt:DateTimeType (M.BDT.00006) Ամսաթվի և ժամի նշագիրը՝ ԳՕՍՏ ԻՍՕ 8601-2001-ին համապատասխան |
1 |
|
1.6. Լեզվի ծածկագիրը (csdo:LanguageCode) |
լեզվի ծածկագրային նշագիրը |
M.SDE.00051 |
csdo:LanguageCodeType (M.SDT.00051) Լեզվի երկտառ ծածկագիրը՝ ISO 639-1-ին համապատասխան։ Ձևանմուշը՝ [a-z]{2} |
0..1 |
|
2. Ամսաթիվը և ժամը (csdo:EventDateTime) |
տեղեկությունների մշակման ավարտի ամսաթիվը և ժամը |
M.SDE.00132 |
bdt:DateTimeType (M.BDT.00006) Ամսաթվի և ժամի նշագիրը՝ ԳՕՍՏ ԻՍՕ 8601-2001-ին համապատասխան |
1 |
|
3. Մշակման արդյունքի ծածկագիրը (csdo:ProcessingResultV2Code) |
ստացված էլեկտրոնային փաստաթղթի (տեղեկությունների)՝ ընդհանուր գործընթացի մասնակցի տեղեկատվական համակարգի միջոցով մշակելու արդյունքի ծածկագրային նշագիրը |
M.SDE.90014 |
csdo:ProcessingResultCodeV2Type (M.SDT.90006) Ծածկագրի արժեքը՝ էլեկտրոնային փաստաթղթերի և տեղեկությունների մշակման արդյունքների տեղեկագրքին համապատասխան |
1 |
|
4. Նկարագրությունը (csdo:DescriptionText) |
տեղեկությունների մշակման արդյունքի նկարագրությունն ազատ ձևով |
M.SDE.00002 |
csdo:Text4000Type (M.SDT.00088) Պայմանանշանների տողը: Նվազագույն երկարությունը՝ 1։ Առավելագույն երկարությունը՝ 4000 |
0..1 |
2. Էլեկտրոնային փաստաթղթերի և տեղեկությունների կառուցվածքներն առարկայական ոլորտում
13. «Արտահանվող ապրանքների մասին տեղեկությունների հարցում» (R.CA.CP.02.001) էլեկտրոնային փաստաթղթի (տեղեկությունների) կառուցվածքի նկարագրությունը ներկայացված է 5–րդ աղյուսակում։
Աղյուսակ 5
«Արտահանվող ապրանքների մասին տեղեկությունների հարցում» (R.CA.CP.02.001) էլեկտրոնային փաստաթղթի (տեղեկությունների) կառուցվածքի նկարագրությունը
|
թիվ ը/կ |
Տարրի նշագիրը |
Նկարագրությունը |
|
1 |
2 |
3 |
|
1 |
Անվանումը |
Արտահանվող ապրանքների մասին տեղեկությունների հարցում |
|
2 |
Նույնականացուցիչը |
R.CA.CP.02.001 |
|
3 |
Տարբերակը |
1.1.1 |
|
4 |
Սահմանումը |
Արտահանվող ապրանքների մասին տեղեկությունների հարցում |
|
5 |
Օգտագործումը |
– |
|
6 |
Անվանումների տարածության նույնականացուցիչը |
urn:EEC:R:CA:CP:02:ExportQuery:v1.1.1 |
|
7 |
XML փաստաթղթի արմատական տարրը |
ExportQuery |
|
8 |
XML սխեմայի ֆայլի անվանումը |
EEC_R_CA_CP_02_ExportQuery_v1.1.1.xsd |
14. Ներմուծվող անվանումների տարածությունները ներկայացված են 6-րդ աղյուսակում:
Աղյուսակ 6
Ներմուծվող անվանումների տարածությունները
|
թիվ ը/կ |
Անվանումների տարածության նույնականացուցիչը |
Նախածանցը |
|
1 |
2 |
3 |
|
1 |
urn:EEC:M:CA:ComplexDataObjects:vX.X.X |
cacdo |
|
2 |
urn:EEC :M:CA:Simpl eDataObjects: vX.X.X |
casdo |
|
3 |
urn:EEC:M:ComplexDataObjects:vX.X.X |
ccdo |
|
4 |
urn:EEC:M:SimpleDataObjects:vX.X.X |
csdo |
Ներմուծվող անվանումների տարածություններում «X.X.X» պայմանանշանները համապատասխանում են կառուցվածքների ռեեստրում ներառման ենթակա՝ էլեկտրոնային փաստաթղթի (տեղեկությունների) կառուցվածքի տեխնիկական սխեման սույն նկարագրությանը համապատասխան մշակելիս օգտագործված տվյալների բազիսային մոդելի և առարկայական ոլորտի տվյալների մոդելի տարբերակի համարին:
15. «Արտահանվող ապրանքների մասին տեղեկությունների հարցում» (R.CA.CP.02.001) էլեկտրոնային փաստաթղթի (տեղեկությունների) կառուցվածքի վավերապայմանների կազմը ներկայացված է 7–րդ աղյուսակում։
Աղյուսակ 7
«Արտահանվող ապրանքների մասին տեղեկությունների հարցում» (R.CA.CP.02.001) էլեկտրոնային փաստաթղթի (տեղեկությունների) կառուցվածքի վավերապայմանների կազմը
|
Վավերապայմանի անվանումը |
Վավերապայմանի նկարագրությունը |
Նույնականացուցիչը |
Տվյալների տեսակը |
Բազմ. |
|
1. Էլեկտրոնային փաստաթղթի (տեղեկությունների) վերնագիրը (ccdo:EDocHeader) |
էլեկտրոնային փաստաթղթի (տեղեկությունների) տեխնոլոգիական վավերապայմանների ամբողջությունը |
M.CDE.90001 |
ccdo:EDocHeaderType (M.CDT.90001) Որոշվում է ներդրված տարրերի արժեքների տիրույթներով |
1 |
|
1.1. Ընդհանուր գործընթացի հաղորդագրության ծածկագիրը (csdo:InfEnvelopeCode) |
ընդհանուր գործընթացի հաղորդագրության ծածկագրային նշագիրը |
M.SDE.90010 |
csdo:InfEnvelopeCodeType (M.SDT.90004) Ծածկագրի արժեքը՝ Տեղեկատվական փոխգործակցության կանոնակարգին համապատասխան: Ձևանմուշը՝ P\.[A-Z]{2}\.[0- 9]{2}\.MSG\.[0-9]{3} |
1 |
|
1.2. Էլեկտրոնային փաստաթղթի (տեղեկությունների) ծածկագիրը (csdo:EDocCode) |
էլեկտրոնային փաստաթղթի (տեղեկությունների) ծածկագրային նշագիրը՝ էլեկտրոնային փաստաթղթերի և տեղեկությունների կառուցվածքների ռեեստրին համապատասխան |
M.SDE.90001 |
csdo:EDocCodeType (M.SDT.90001) Ծածկագրի արժեքը՝ էլեկտրոնային փաստաթղթերի և տեղեկությունների կառուցվածքների ռեեստրին համապատասխան: Ձևանմուշը՝ R(\.[A-Z]{2}\.[A-Z]{2}\.[0-9]{2})?\[0-9]{3} |
1 |
|
1.3. Էլեկտրոնային փաստաթղթի (տեղեկությունների) նույնականացուցիչը (csdo:EDocId) |
էլեկտրոնային փաստաթուղթը (տեղեկությունները) միանշանակ նույնականացնող պայմանանշանների տողը |
M.SDE.90007 |
csdo:UniversallyUniqueIdType (M.SDT.90003) Նույնականացուցչի արժեքը՝ ISO/IEC 9834-8-ին համապատասխան։ Ձևանմուշը՝ [0-9a-fA-F]{8}-[0-9a-fA- F]{4}-[0-9a-fA-F]{4}-[0-9a-fA-F]{4}- [0-9a-fA-F]{12} |
1 |
|
1.4. Սկզբնական էլեկտրոնային փաստաթղթի (տեղեկությունների) նույնականացուցիչը (csdo:EDocRefId) |
էլեկտրոնային փաստաթղթի (տեղեկությունների) նույնականացուցիչը, որին ի պատասխան ձևավորվել է տվյալ էլեկտրոնային փաստաթուղթը (տեղեկությունները) |
M.SDE.90008 |
csdo:UniversallyUniqueIdType (M.SDT.90003) Նույնականացուցչի արժեքը՝ ISO/IEC 9834-8-ին համապատասխան։ Ձևանմուշը՝ [0-9a-fA-F]{8}-[0-9a-fA- F]{4}-[0-9a-fA-F]{4}-[0-9a-fA-F]{4}- [0-9a-fA-F]{12} |
0..1 |
|
1.5. Էլեկտրոնային փաստաթղթի (տեղեկությունների) ամսաթիվը և ժամը (csdo:EDocDateTime) |
էլեկտրոնային փաստաթղթի (տեղեկությունների) ստեղծման ամսաթիվը և ժամը |
M.SDE.90002 |
bdt:DateTimeType (M.BDT.00006) Ամսաթվի և ժամի նշագիրը՝ ԳՕՍՏ ԻՍՕ 8601-2001-ին համապատասխան |
1 |
|
1.6. Լեզվի ծածկագիրը (csdo:LanguageCode) |
լեզվի ծածկագրային նշագիրը |
M.SDE.00051 |
csdo:LanguageCodeType (M.SDT.00051) Լեզվի երկտառ ծածկագիրը՝ ISO 639-1-ին համապատասխան։ Ձևանմուշը՝ [a-z]{2} |
0..1 |
|
2. Մաքսային փաստաթղթի գրանցման համարը (cacdo:CustomsDeclarationIdDetails) |
ապրանքների հայտարարագրի գրանցման համարը |
M.CA.CDE.00291 |
cacdo:CustomsDocumentIdDetailsType (M.CA.CDT.00258) Որոշվում է ներդրված տարրերի արժեքների տիրույթներով |
1 |
|
2.1. Մաքսային մարմնի ծածկագիրը (csdo:CustomsOfficeCode) |
մաքսային մարմնի ծածկագրային նշագիրը |
M.SDE.00255 |
csdo:CustomsOfficeCodeType M.SDT.00184 Ծածկագրի արժեքը՝ Եվրասիական տնտեսական միության անդամ պետությունների մաքսային մարմինների դասակարգչին համապատասխան։ Ձևանմուշը՝ [0-9]{2}|[0-9]{5}|[0-9]{8} |
1 |
|
2.2. Փաստաթղթի ամսաթիվը (csdo:DocCreationDate) |
փաստաթղթի գրանցման ամսաթիվը |
M.SDE.00045 |
bdt:DateType (M.BDT.00005) Ամսաթվի նշագիրը՝ ԳՕՍՏ ԻՍՕ 8601-2001-ին համապատասխան |
1 |
|
2.3. Մաքսային փաստաթղթի համարը՝ ըստ գրանցամատյանի (casdo:CustomsDocumentId) |
մաքսային փաստաթղթի համարը՝ ըստ գրանցամատյանի |
M.CA.SDE.00478 |
casdo:CustomsDocumentIdType (M.CA.SDT.00118) Պայմանանշանների նորմալացված տողը։ Նվազագույն երկարությունը՝ 5։ Առավելագույն երկարությունը՝ 7 |
1 |
|
3. Մաքսային մարմինը (ccdo:CustomsOfficeDetails) |
հարցում ձևավորած մաքսային մարմնի մասին տեղեկությունները |
M.CDE.00102 |
ccdo:CustomsOfficeDetailsType (M.CDT.00104) Որոշվում է ներդրված տարրերի արժեքների տիրույթներով |
1 |
|
3.1. Մաքսային մարմնի ծածկագիրը (csdo:CustomsOfficeCode) |
մաքսային մարմնի ծածկագրային նշագիրը |
M.SDE.00255 |
csdo:CustomsOfficeCodeType M.SDT.00184 Ծածկագրի արժեքը՝ Եվրասիական տնտեսական միության անդամ պետությունների մաքսային մարմինների դասակարգչին համապատասխան։ Ձևանմուշը՝ [0-9]{2}|[0-9]{5}|[0-9]{8} |
0..1 |
|
3.2. Մաքսային մարմնի անվանումը (csdo:CustomsOfficeName) |
մաքսային մարմնի անվանումը |
M.SDE.00300 |
csdo:Name50Type (M.SDT.00204) Պայմանանշանների նորմալացված տողը։ Նվազագույն երկարությունը՝ 1։ Առավելագույն երկարությունը՝ 50 |
0..1 |
|
3.3. Երկրի ծածկագիրը (csdo:UnifiedCountryCode) |
երկրի ծածկագրային նշագիրը |
M.SDE.00162 |
csdo:UnifiedCountryCodeType (M.SDT.00112) Երկրի երկտառ ծածկագրի արժեքն այն տեղեկագրքին (դասակարգչին) համապատասխան, որի նույնականացուցիչը սահմանված է «Տեղեկագրքի (դասակարգչի) նույնականացուցիչը» ատրիբուտում։ Ձևանմուշը՝ [A-Z]{2} |
0..1 |
|
ա) Տեղեկագրքի (դասակարգչի) նույնականացուցիչը (codeListId ատրիբուտ) |
այն տեղեկագրքի (դասակարգչի) նշագիրը, որին համապատասխան նշված է ծածկագիրը |
- |
csdo:ReferenceDataIdType (M.SDT.00091) Պայմանանշանների նորմալացված տողը: Նվազագույն երկարությունը՝ 1։ Առավելագույն երկարությունը՝ 20 |
1 |
|
4. Մաքսային մարմնի պաշտոնատար անձը (cacdo:CustomsPersonDetails) |
հարցում ձևավորած մաքսային մարմնի պաշտոնատար անձի մասին տեղեկությունները |
M.CA.CDE.00096 |
cacdo:CustomsPersonDetailsType (M.CA.CDT.00209) Որոշվում է ներդրված տարրերի արժեքների տիրույթներով |
1 |
|
4.1. ԱԱՀ (ccdo:FullNameDetails) |
ազգանունը, անուն, հայրանունը |
M.CDE.00029 |
ccdo:FullNameDetailsType (M.CDT.00016) Որոշվում է ներդրված տարրերի արժեքների տիրույթներով |
0..1 |
|
4.1.1. Անունը (csdo:FirstName) |
ֆիզիկական անձի անունը |
M.SDE.00109 |
csdo:Name120Type (M.SDT.00055) Պայմանանշանների նորմալացված տողը։ Նվազագույն երկարությունը՝ 1։ Առավելագույն երկարությունը՝ 120 |
0..1 |
|
4.1.2. Հայրանունը (csdo:MiddleName) |
ֆիզիկական անձի հայրանունը (երկրորդ կամ միջին անունը) |
M.SDE.00111 |
csdo:Name120Type (M.SDT.00055) Պայմանանշանների նորմալացված տողը։ Նվազագույն երկարությունը՝ 1։ Առավելագույն երկարությունը՝ 120 |
0..1 |
|
4.1.3. Ազգանունը (csdo:LastName) |
ֆիզիկական անձի ազգանունը |
M.SDE.00110 |
csdo:Name120Type (M.SDT.00055) Պայմանանշանների նորմալացված տողը։ Նվազագույն երկարությունը՝ 1։ Առավելագույն երկարությունը՝ 120 |
0..1 |
|
4.2. Պաշտոնի անվանումը (csdo:PositionName) |
աշխատակցի պաշտոնի անվանումը |
M.SDE.00127 |
csdo:Name120Type (M.SDT.00055) Պայմանանշանների նորմալացված տողը։ Նվազագույն երկարությունը՝ 1։ Առավելագույն երկարությունը՝ 120 |
0..1 |
|
4.3. Մաքսային մարմնի պաշտոնատար անձի ԱՀԿ-ի համարը (casdo:LNPId) |
մաքսային մարմնի պաշտոնատար անձի ԱՀԿ-ի համարը |
M.CA.SDE.00413 |
casdo:LNPIdType (M.CA.SDT.00090) Պայմանանշանների նորմալացված տողը: Նվազագույն երկարությունը՝ 1։ Առավելագույն երկարությունը՝ 4 |
0..1 |
|
4.4. Մաքսային մարմնի ծածկագիրը (csdo:CustomsOfficeCode) |
ԱՀԿ-ի դրոշմվածքի վրա նշված մաքսային մարմնի ծածկագրային նշագիրը |
M.SDE.00255 |
csdo:CustomsOfficeCodeType M.SDT.00184 Ծածկագրի արժեքը՝ Եվրասիական տնտեսական միության անդամ պետությունների մաքսային մարմինների դասակարգչին համապատասխան։ Ձևանմուշը՝ [0-9]{2}|[0-9]{5}|[0-9]{8} |
0..1 |
|
5. Ամսաթիվը և ժամը (csdo:EventDateTime) |
հարցման ձևավորման ամսաթիվը և ժամանակը |
M.SDE.00132 |
bdt:DateTimeType (M.BDT.00006) Ամսաթվի և ժամի նշագիրը՝ ԳՕՍՏ ԻՍՕ 8601-2001-ին համապատասխան |
1 |
16. «Ապրանքների փաստացի արտահանման (հետագծման) հաստատումը չեղարկելու մասին տեղեկություններ» (R.CA.CP.02.002) էլեկտրոնային փաստաթղթի (տեղեկությունների) կառուցվածքի նկարագրությունը բերված է 8-րդ աղյուսակում։
Աղյուսակ 8
«Ապրանքների փաստացի արտահանման (հետագծման) հաստատումը չեղարկելու մասին տեղեկություններ» (R.CA.CP.02.002) էլեկտրոնային փաստաթղթի (տեղեկությունների) կառուցվածքի նկարագրությունը
|
թիվ ը/կ |
Տարրի նշագիրը |
Նկարագրությունը |
|
1 |
2 |
3 |
|
1 |
Անվանումը |
Ապրանքների փաստացի արտահանման (հետագծման) հաստատումը չեղարկելու մասին տեղեկություններ |
|
2 |
Նույնականացուցիչը |
R.CA.CP.02.002 |
|
3 |
Տարբերակը |
1.1.1 |
|
4 |
Սահմանումը |
Ապրանքների փաստացի արտահանման (հետագծման) չեղարկելու մասին տեղեկություններ |
|
5 |
Օգտագործումը |
– |
|
6 |
Անվանումների տարածության նույնականացուցիչը |
urn:EEC:R:CA:CP:02:ExportCancellation:v1.1.1 |
|
7 |
XML փաստաթղթի արմատական տարրը |
ExportCancellation |
|
8 |
XML սխեմայի ֆայլի անվանումը |
EEC_R_CA_CP_02_ExportCancellation_v1.1.1.xsd |
17. Ներմուծվող անվանումների տարածությունները բերված են 9-րդ աղյուսակում:
Աղյուսակ 9
Ներմուծվող անվանումների տարածությունները
|
թիվ ը/կ |
Անվանումների տարածության նույնականացուցիչը |
Նախածանցը |
|
1 |
2 |
3 |
|
1 |
urn:EEC:M:CA:ComplexDataObjects:vX.X.X |
cacdo |
|
2 |
urn:EEC :M:CA:SimpleDataObjects: vX.X.X |
casdo |
|
3 |
urn:EEC:M:ComplexDataObjects:vX.X.X |
ccdo |
|
4 |
urn:EEC:M:SimpleDataObjects:vX.X.X |
csdo |
Ներմուծվող անվանումների տարածություններում «X.X.X» պայմանանշանները համապատասխանում են կառուցվածքների ռեեստրում ներառման ենթակա՝ էլեկտրոնային փաստաթղթի (տեղեկությունների) կառուցվածքի տեխնիկական սխեման սույն նկարագրությանը համապատասխան մշակելիս օգտագործված տվյալների բազիսային մոդելի և առարկայական ոլորտի տվյալների մոդելի տարբերակի համարին:
18. «Ապրանքների փաստացի արտահանման (հետագծման) հաստատումը չեղարկելու մասին տեղեկություններ» (R.CA.CP.02.002) էլեկտրոնային փաստաթղթի (տեղեկությունների) կառուցվածքի վավերապայմանների կազմը բերված է 10 –րդ աղյուսակում։
Աղյուսակ 10
«Ապրանքների փաստացի արտահանման (հետագծման) հաստատումը չեղարկելու մասին տեղեկություններ» (R.CA.CP.02.002) էլեկտրոնային փաստաթղթի (տեղեկությունների) կառուցվածքի վավերապայմանների կազմը
|
Վավերապայմանի անվանումը |
Վավերապայմանի նկարագրությունը |
Նույնականացուցիչը |
Տվյալների տեսակը |
Բազմ. |
|
1. Էլեկտրոնային փաստաթղթի (տեղեկությունների) վերնագիրը (ccdo:EDocHeader) |
էլեկտրոնային փաստաթղթի (տեղեկությունների) տեխնոլոգիական վավերապայմանների ամբողջությունը |
M.CDE.90001 |
ccdo:EDocHeaderType (M.CDT.90001) Որոշվում է ներդրված տարրերի արժեքների տիրույթներով |
1 |
|
1.1. Ընդհանուր գործընթացի հաղորդագրության ծածկագիրը (csdo:InfEnvelopeCode) |
ընդհանուր գործընթացի հաղորդագրության ծածկագրային նշագիրը |
M.SDE.90010 |
csdo:InfEnvelopeCodeType (M.SDT.90004) Ծածկագրի արժեքը՝ Տեղեկատվական փոխգործակցության կանոնակարգին համապատասխան: Ձևանմուշը՝ P\.[A-Z]{2}\.[0- 9]{2}\.MSG\.[0-9]{3} |
1 |
|
1.2. Էլեկտրոնային փաստաթղթի (տեղեկությունների) ծածկագիրը (csdo:EDocCode) |
էլեկտրոնային փաստաթղթի (տեղեկությունների) ծածկագրային նշագիրը՝ էլեկտրոնային փաստաթղթերի և տեղեկությունների կառուցվածքների ռեեստրին համապատասխան |
M.SDE.90001 |
csdo:EDocCodeType (M.SDT.90001) Ծածկագրի արժեքը՝ էլեկտրոնային փաստաթղթերի և տեղեկությունների կառուցվածքների ռեեստրին համապատասխան: Ձևանմուշը՝ R(\.[A-Z]{2}\.[A-Z]{2}\.[0-9]{2})?\[0-9]{3} |
1 |
|
1.3. Էլեկտրոնային փաստաթղթի (տեղեկությունների) նույնականացուցիչը (csdo:EDocId) |
էլեկտրոնային փաստաթուղթը (տեղեկությունները) միանշանակ նույնականացնող պայմանանշանների տողը |
M.SDE.90007 |
csdo:UniversallyUniqueIdType (M.SDT.90003) Նույնականացուցչի արժեքը՝ ISO/IEC 9834-8-ին համապատասխան։ Ձևանմուշը՝ [0-9a-fA-F]{8}-[0-9a-fA- F]{4}-[0-9a-fA-F]{4}-[0-9a-fA-F]{4}- [0-9a-fA-F]{12} |
1 |
|
1.4. Սկզբնական էլեկտրոնային փաստաթղթի (տեղեկությունների) նույնականացուցիչը (csdo:EDocRefId) |
էլեկտրոնային փաստաթղթի (տեղեկությունների) նույնականացուցիչը, որին ի պատասխան ձևավորվել է տվյալ էլեկտրոնային փաստաթուղթը (տեղեկությունները) |
M.SDE.90008 |
csdo:UniversallyUniqueIdType (M.SDT.90003) Նույնականացուցչի արժեքը՝ ISO/IEC 9834-8-ին համապատասխան։ Ձևանմուշը՝ [0-9a-fA-F]{8}-[0-9a-fA- F]{4}-[0-9a-fA-F]{4}-[0-9a-fA-F]{4}- [0-9a-fA-F]{12} |
0..1 |
|
1.5. Էլեկտրոնային փաստաթղթի (տեղեկությունների) ամսաթիվը և ժամը (csdo:EDocDateTime) |
էլեկտրոնային փաստաթղթի (տեղեկությունների) ստեղծման ամսաթիվը և ժամը |
M.SDE.90002 |
bdt:DateTimeType (M.BDT.00006) Ամսաթվի և ժամի նշագիրը՝ ԳՕՍՏ ԻՍՕ 8601-2001-ին համապատասխան |
1 |
|
1.6. Լեզվի ծածկագիրը (csdo:LanguageCode) |
լեզվի ծածկագրային նշագիրը |
M.SDE.00051 |
csdo:LanguageCodeType (M.SDT.00051) Լեզվի երկտառ ծածկագիրը՝ ISO 639-1-ին համապատասխան։ Ձևանմուշը՝ [a-z]{2} |
0..1 |
|
2. Ամսաթիվը և ժամը (csdo:EventDateTime) |
ապրանքների մեկնման (ապրանքների հետագծման) թույլտվության չեղարկման մասին որոշումն ընդունելու ամսաթիվն ու ժամկետը |
M.SDE.00132 |
bdt:DateTimeType (M.BDT.00006) Ամսաթվի և ժամի նշագիրը՝ ԳՕՍՏ ԻՍՕ 8601-2001-ին համապատասխան |
1 |
|
3. Մաքսային մարմինը (cacdo:CustomsOfficeFunctionalDetails) |
մաքսային մարմնի մասին տեղեկությունները |
M.CA.CDE.00359 |
cacdo:CustomsOfficeFunctionalDetails Type (M.CA.CDT.00316) Որոշվում է ներդրված տարրերի արժեքների տիրույթներով |
1 |
|
3.1. Մաքսային մարմնի ծածկագիրը (csdo:CustomsOfficeCode) |
մաքսային մարմնի ծածկագրային նշագիրը |
M.SDE.00255 |
csdo:CustomsOfficeCodeType M.SDT.00184 Ծածկագրի արժեքը՝ Եվրասիական տնտեսական միության անդամ պետությունների մաքսային մարմինների դասակարգչին համապատասխան։ Ձևանմուշը՝ [0-9]{2}|[0-9]{5}|[0-9]{8} |
0..1 |
|
3.2. Մաքսային մարմնի անվանումը (csdo:CustomsOfficeName) |
մաքսային մարմնի անվանումը |
M.SDE.00300 |
csdo:Name50Type (M.SDT.00204) Պայմանանշանների նորմալացված տողը։ Նվազագույն երկարությունը՝ 1։ Առավելագույն երկարությունը՝ 50 |
0..1 |
|
3.3. Երկրի ծածկագիրը (csdo:UnifiedCountryCode) |
երկրի ծածկագրային նշագիրը |
M.SDE.00162 |
csdo:UnifiedCountryCodeType (M.SDT.00112) Երկրի երկտառ ծածկագրի արժեքն այն տեղեկագրքին (դասակարգչին) համապատասխան, որի նույնականացուցիչը սահմանված է «Տեղեկագրքի (դասակարգչի) նույնականացուցիչը» ատրիբուտում։ Ձևանմուշը՝ [A-Z]{2} |
0..1 |
|
ա) Տեղեկագրքի (դասակարգչի) նույնականացուցիչը (codeListId ատրիբուտ) |
այն տեղեկագրքի (դասակարգչի) նշագիրը, որին համապատասխան նշված է ծածկագիրը |
- |
csdo:ReferenceDataIdType (M.SDT.00091) Պայմանանշանների նորմալացված տողը: Նվազագույն երկարությունը՝ 1։ Առավելագույն երկարությունը՝ 20 |
1 |
|
3.4. Դերի ծածկագիրը (casdo:RoleCode) |
մաքսային մարմնի գործառութային դերի ծածկագրային նշագիրը մաքսային գործառնությունների կատարման գործընթացում |
M.CA.SDE.00315 |
csdo:Code20Type (M.SDT.00160) Պայմանանշանների նորմալացված տողը։ Նվազագույն երկարությունը՝ 1։ Առավելագույն երկարությունը՝ 20 |
0..1 |
|
4. Մաքսային մարմնի պաշտոնատար անձը (cacdo:CustomsPersonDetails) |
մաքսային մարմնի պաշտոնատար անձի մասին տեղեկությունները |
M.CA.CDE.00096 |
cacdo:CustomsPersonDetailsType (M.CA.CDT.00209) Որոշվում է ներդրված տարրերի արժեքների տիրույթներով |
1 |
|
4.1. ԱԱՀ (ccdo:FullNameDetails) |
ազգանունը, անունը, հայրանունը |
M.CDE.00029 |
ccdo:FullNameDetailsType (M.CDT.00016) Որոշվում է ներդրված տարրերի արժեքների տիրույթներով |
0..1 |
|
4.1.1. Անունը (csdo:FirstName) |
ֆիզիկական անձի անունը |
M.SDE.00109 |
csdo:Name120Type (M.SDT.00055) Պայմանանշանների նորմալացված տողը։ Նվազագույն երկարությունը՝ 1։ Առավելագույն երկարությունը՝ 120 |
0..1 |
|
4.1.2. Հայրանունը (csdo:MiddleName) |
ֆիզիկական անձի հայրանունը (երկրորդ կամ միջին անունը) |
M.SDE.00111 |
csdo:Name120Type (M.SDT.00055) Պայմանանշանների նորմալացված տողը։ Նվազագույն երկարությունը՝ 1։ Առավելագույն երկարությունը՝ 120 |
0..1 |
|
4.1.3. Ազգանունը (csdo:LastName) |
ֆիզիկական անձի ազգանունը |
M.SDE.00110 |
csdo:Name120Type (M.SDT.00055) Պայմանանշանների նորմալացված տողը։ Նվազագույն երկարությունը՝ 1։ Առավելագույն երկարությունը՝ 120 |
0..1 |
|
4.2. Պաշտոնի անվանումը (csdo:PositionName) |
աշխատակցի պաշտոնի անվանումը |
M.SDE.00127 |
csdo:Name120Type (M.SDT.00055) Պայմանանշանների նորմալացված տողը։ Նվազագույն երկարությունը՝ 1։ Առավելագույն երկարությունը՝ 120 |
0..1 |
|
4.3. Մաքսային մարմնի պաշտոնատար անձի ԱՀԿ-ի համարը (casdo:LNPId) |
մաքսային մարմնի պաշտոնատար անձի ԱՀԿ-ի համարը |
M.CA.SDE.00413 |
casdo:LNPIdType (M.CA.SDT.00090) Պայմանանշանների նորմալացված տողը: Նվազագույն երկարությունը՝ 1։ Առավելագույն երկարությունը՝ 4 |
0..1 |
|
4.4. Մաքսային մարմնի ծածկագիրը (csdo:CustomsOfficeCode) |
ԱՀԿ-ի դրոշմվածքի վրա նշված մաքսային մարմնի ծածկագրային նշագիրը |
M.SDE.00255 |
csdo:CustomsOfficeCodeType M.SDT.00184 Ծածկագրի արժեքը՝ Եվրասիական տնտեսական միության անդամ պետությունների մաքսային մարմինների դասակարգչին համապատասխան։ Ձևանմուշը՝ [0-9]{2}|[0-9]{5}|[0-9]{8} |
0..1 |
|
5. Ըստ խմբաքանակների՝ ապրանքների արտահանումը չեղարկելու մասին տեղեկությունները (cacdo:ConsignmentCancelDetails) |
տեղեկություններ ապրանքների այն խմբաքանակների մասին, որոնց արտահանումը չեղարկվել է |
M.CA.CDE.00258 |
cacdo:ConsignmentCancelDetailsType (M.CA.CDT.00234) Որոշվում է ներդրված տարրերի արժեքների տիրույթներով |
1 |
|
5.1. Մաքսային փաստաթղթի գրանցման համարը (cacdo:CustomsDeclarationIdDetails) |
ապրանքների հայտարարագրի գրանցման համարը |
M.CA.CDE.00291 |
cacdo:CustomsDocumentIdDetailsType (M.CA.CDT.00258) Որոշվում է ներդրված տարրերի արժեքների տիրույթներով |
1 |
|
5.1.1. Մաքսային մարմնի ծածկագիրը (csdo:CustomsOfficeCode) |
մաքսային մարմնի ծածկագրային նշագիրը |
M.SDE.00255 |
csdo:CustomsOfficeCodeType M.SDT.00184 Ծածկագրի արժեքը՝ Եվրասիական տնտեսական միության անդամ պետությունների մաքսային մարմինների դասակարգչին համապատասխան։ Ձևանմուշը՝ [0-9]{2}|[0-9]{5}|[0-9]{8} |
1 |
|
5.1.2. Փաստաթղթի ամսաթիվը (csdo:DocCreationDate) |
փաստաթղթի գրանցման ամսաթիվը |
M.SDE.00045 |
bdt:DateType (M.BDT.00005) Ամսաթվի նշագիրը՝ ԳՕՍՏ ԻՍՕ 8601-2001-ին համապատասխան |
1 |
|
5.1.3. Մաքսային փաստաթղթի համարը՝ ըստ գրանցման մատյանի (casdo:CustomsDocumentId) |
մաքսային փաստաթղթի համարը՝ ըստ գրանցամատյանի |
M.CA.SDE.00478 |
casdo:CustomsDocumentIdType (M.CA.SDT.00118) Պայմանանշանների նորմալացված տողը։ Նվազագույն երկարությունը՝ 5։ Առավելագույն երկարությունը՝ 7 |
1 |
|
5.2. Ապրանքների մեկնման (հետագծման) թույլտվության գրանցման համարը, որը ձևավորվել է անդամ պետության օրենսդրությանը համապատասխան (cacdo:FERegistrationIdDetails) |
ապրանքների մեկնման (հետագծման) թույլտվության գրանցման համարը, որը ձևավորվել է անդամ պետության օրենսդրությանը համապատասխան |
M.CA.CDE.00259 |
cacdo:FERegistrationIdDetailsType (M.CA.CDT.00235) Որոշվում է ներդրված տարրերի արժեքների տիրույթներով |
1 |
|
5.2.1. Մաքսային մարմնի ծածկագիրը (csdo:CustomsOfficeCode) |
մաքսային մարմնի ծածկագրային նշագիրը |
M.SDE.00255 |
csdo:CustomsOfficeCodeType M.SDT.00184 Ծածկագրի արժեքը՝ Եվրասիական տնտեսական միության անդամ պետությունների մաքսային մարմինների դասակարգչին համապատասխան։ Ձևանմուշը՝ [0-9]{2}|[0-9] {5}|[0-9]{8} |
1 |
|
5.2.2. Փաստաթղթի ամսաթիվը (csdo:DocCreationDate) |
փաստաթղթի գրանցման ամսաթիվը |
M.SDE.00045 |
bdt:DateType (M.BDT.00005) Ամսաթվի նշագիրը՝ ԳՕՍՏ ԻՍՕ 8601-2001-ին համապատասխան |
1 |
|
5.2.3. Մաքսային փաստաթղթի համարը՝ ըստ գրանցամատյանի (casdo:CustomsDocumentId) |
մաքսային փաստաթղթի համարը՝ ըստ գրանցամատյանի |
M.CA.SDE.00478 |
casdo:CustomsDocumentIdType (M.CA.SDT.00118) Պայմանանշանների նորմալացված տողը։ Նվազագույն երկարությունը՝ 5. Առավելագույն երկարությունը՝ 7 |
1 |
|
5.2.4. Հերթական համարը (csdo:ObjectOrdinal) |
միևնույն տրանսպորտային միջոցով (տրանսպորտային միջոցների կազմով) փոխադրվող ապրանքների բեռնագրի հերթական համարը |
M.SDE.00148 |
csdo:Ordinal3Type (M.SDT.00105) Հաշվարկման տասական համակարգում ոչ բացասական ամբողջ թիվը։ Թվանշանների առավելագույն քանակը՝ 3 |
0..1 |
|
5.2.5. Բեռնման նույնականացուցիչը (casdo:LoadingId) |
ծովային բեռնման նույնականացուցիչը |
M.CA.SDE.00435 |
csdo:Id20Type (M.SDT.00092) Պայմանանշանների նորմալացված տողը։ Նվազագույն երկարությունը՝ 1։ Առավելագույն երկարությունը՝ 20 |
0..1 |
|
5.2.6. Ծովային հանձնարարականի նույնականացուցիչը (casdo:ShippingOrderId) |
ծովային հանձնարարականի նույնականացուցիչը |
M.CA.SDE.00436 |
csdo:Id20Type (M.SDT.00092) Պայմանանշանների նորմալացված տողը։ Նվազագույն երկարությունը՝ 1։ Առավելագույն երկարությունը՝ 20 |
0..1 |
|
6. Էլեկտրոնային չեղարկման պատճառները (cacdo:ExportCancellationReasonDetails) |
Էլեկտրոնային չեղարկման պատճառների մասին տեղեկությունները, որը հաստատում է ապրանքների փաստացի արտահանումը կամ ապրանքների էլեկտրոնային հետագծումը |
M.CA.CDE.00131 |
cacdo:ExportCancellationReasonDetails Type (M.CA.CDT.00128) Որոշվում է ներդրված տարրերի արժեքների տիրույթներով |
1 |
|
6.1. Ապրանքների փաստացի արտահանումը չեղարկելու պատճառի ծածկագիրը (casdo:ExportCancellationReasonCode) |
ապրանքների փաստացի արտահանումը կամ ապրանքների էլեկտրոնային հետագծումը չեղարկելու պատճառի ծածկագիրը |
M.CA.SDE.00850 |
casdo:ExportCancellationReasonCodeType (M.CA.SDT.00850) Ապրանքների փաստացի արտահանումը չեղյալ հայտարարելու պատճառի ծածկագիրը |
1 |
|
6.2. Ապրանքների փաստացի արտահանումը չեղարկելու պատճառի անվանումը (casdo:ExportCancellationReasonName) |
ապրանքների փաստացի արտահանումը կամ ապրանքների էլեկտրոնային հետագծումը չեղարկելու պատճառը |
M.CA.SDE.00139 |
csdo:Name120Type (M.SDT.00055) Պայմանանշանների նորմալացված տողը։ Նվազագույն երկարությունը՝ 1։ Առավելագույն երկարությունը՝ 120 |
0..1 |
|
6.3. Այլ տեղեկություններ (csdo:AdditionalInfoText) |
անհաղթահարելի ուժի գործողություն առաջանալու դեպքում հանգամանքների նկարագրությունը |
M.SDE.00046 |
csdo:Text4000Type (M.SDT.00088) Պայմանանշանների տողը: Նվազագույն երկարությունը՝ 1։ Առավելագույն երկարությունը՝ 4000 |
0..1 |
|
7. Այլ տեղեկություններ (csdo:AdditionalInfoText) |
նկարագրվող օբյեկտի վերաբերյալ լրացուցիչ տեղեկատվությունը |
M.SDE.00046 |
csdo:Text4000Type (M.SDT.00088) Պայմանանշանների տողը: Նվազագույն երկարությունը՝ 1։ Առավելագույն երկարությունը՝ 4000 |
0..* |
19. «Ապրանքների փաստացի արտահանման (հետագծման) մասին տեղեկություններ» (R.CA.CP.02.003) էլեկտրոնային փաստաթղթի (տեղեկությունների) կառուցվածքի նկարագրությունը բերված է 11-րդ աղյուսակում։
Աղյուսակ 11
«Ապրանքների փաստացի արտահանման (հետագծման) մասին տեղեկություններ» (R.CA.CP.02.003) էլեկտրոնային փաստաթղթի (տեղեկությունների) կառուցվածքի նկարագրությունը
|
թիվ ը/կ |
Տարրի նշագիրը |
Նկարագրությունը |
|
1 |
2 |
3 |
|
1 |
Անվանումը |
ապրանքների փաստացի արտահանման (հետագծման) մասին տեղեկություններ |
|
2 |
Նույնականացուցիչը |
R.CA.CP.02.003 |
|
3 |
Տարբերակը |
1.1.1 |
|
4 |
Սահմանումը |
ապրանքների փաստացի արտահանման (անցման) մասին տեղեկություններ |
|
5 |
Օգտագործումը |
– |
|
6 |
Անվանումների տարածության նույնականացուցիչը |
urn:EEC:R:CA:CP:02:ExportNotification:v1.1.1 |
|
7 |
XML փաստաթղթի արմատական տարրը |
ExportNotification |
|
8 |
XML սխեմայի ֆայլի անվանումը |
EEC_R_CA_CP_02_ExportNotification_v1.1.1.xsd |
19. Ներմուծվող անվանումների տարածությունները ներկայացված են 12-րդ աղյուսակում:
Աղյուսակ 12
Ներմուծվող անվանումների տարածությունները
|
թիվ ը/կ |
Անվանումների տարածության նույնականացուցիչը |
Նախածանցը |
|
1 |
2 |
3 |
|
1 |
urn:EEC:M:CA:ComplexDataObjects:vX.X.X |
cacdo |
|
2 |
urn:EEC :M:CA:SimpleDataObjects:vX.X.X |
casdo |
|
3 |
urn:EEC:M:ComplexDataObjects:vX.X.X |
ccdo |
|
4 |
urn:EEC:M:SimpleDataObjects:vX.X.X |
csdo |
Ներմուծվող անվանումների տարածություններում «X.X.X» պայմանանշանները համապատասխանում են կառուցվածքների ռեեստրում ընդգրկման ենթակա՝ էլեկտրոնային փաստաթղթի (տեղեկությունների) կառուցվածքի տեխնիկական սխեման սույն նկարագրությանը համապատասխան մշակելիս օգտագործված տվյալների բազիսային մոդելի և առարկայական ոլորտի տվյալների մոդելի տարբերակի համարին:
21. «Ապրանքների փաստացի արտահանման (հետագծման) մասին տեղեկություններ» (R.CA.CP.02.003) էլեկտրոնային փաստաթղթի (տեղեկությունների) կառուցվածքի վավերապայմանների կազմը բերված է 13-րդ աղյուսակում։
Աղյուսակ 13
«Ապրանքների փաստացի արտահանման (հետագծման) մասին տեղեկություններ» (R.CA.CP.02.003) էլեկտրոնային փաստաթղթի (տեղեկությունների) կառուցվածքի վավերապայմանային կազմը
|
Վավերապայմանի անվանումը |
Վավերապայմանի նկարագրությունը |
Նույնականացուցիչը |
Տվյալների տեսակը |
Բազմ. |
|
1. Էլեկտրոնային փաստաթղթի (տեղեկությունների) վերնագիրը (ccdo:EDocHeader) |
էլեկտրոնային փաստաթղթի (տեղեկությունների) տեխնոլոգիական վավերապայմանների ամբողջությունը |
M.CDE.90001 |
ccdo:EDocHeaderType (M.CDT.90001) Որոշվում է ներդրված տարրերի արժեքների տիրույթներով |
1 |
|
1.1. Ընդհանուր գործընթացի հաղորդագրության ծածկագիրը (csdo:InfEnvelopeCode) |
ընդհանուր գործընթացի հաղորդագրության ծածկագրային նշագիրը |
M.SDE.90010 |
csdo:InfEnvelopeCodeType (M.SDT.90004) Ծածկագրի արժեքը՝ Տեղեկատվական փոխգործակցության կանոնակարգին համապատասխան: Ձևանմուշը՝ P\.[A-Z]{2}\.[0- 9]{2}\.MSG\.[0-9]{3} |
1 |
|
1.2. Էլեկտրոնային փաստաթղթի (տեղեկությունների) ծածկագիրը (csdo:EDocCode) |
էլեկտրոնային փաստաթղթի (տեղեկությունների) ծածկագրային նշագիրը՝ էլեկտրոնային փաստաթղթերի և տեղեկությունների կառուցվածքների ռեեստրին համապատասխան |
M.SDE.90001 |
csdo:EDocCodeType (M.SDT.90001) Ծածկագրի արժեքը՝ էլեկտրոնային փաստաթղթերի և տեղեկությունների կառուցվածքների ռեեստրին համապատասխան: Ձևանմուշը՝ R(\.[A-Z]{2}\.[A-Z]{2}\.[0-9]{2})?\[0-9]{3} |
1 |
|
1.3. Էլեկտրոնային փաստաթղթի (տեղեկությունների) նույնականացուցիչը (csdo:EDocId) |
էլեկտրոնային փաստաթուղթը (տեղեկությունները) միանշանակ նույնականացնող պայմանանշանների տողը |
M.SDE.90007 |
csdo:UniversallyUniqueIdType (M.SDT.90003) Նույնականացուցչի արժեքը՝ ISO/IEC 9834-8-ին համապատասխան։ Ձևանմուշը՝ [0-9a-fA-F]{8}-[0-9a-fA- F]{4}-[0-9a-fA-F]{4}-[0-9a-fA-F]{4}- [0-9a-fA-F]{12} |
1 |
|
1.4. Սկզբնական էլեկտրոնային փաստաթղթի (տեղեկությունների) նույնականացուցիչը (csdo:EDocRefId) |
էլեկտրոնային փաստաթղթի (տեղեկությունների) նույնականացուցիչը, որին ի պատասխան ձևավորվել է տվյալ էլեկտրոնային փաստաթուղթը (տեղեկությունները) |
M.SDE.90008 |
csdo:UniversallyUniqueIdType (M.SDT.90003) Նույնականացուցչի արժեքը՝ ISO/IEC 9834-8-ին համապատասխան։ Ձևանմուշը՝ [0-9a-fA-F]{8}-[0-9a-fA- F]{4}-[0-9a-fA-F]{4}-[0-9a-fA-F]{4}- [0-9a-fA-F]{12} |
0..1 |
|
1.5. Էլեկտրոնային փաստաթղթի (տեղեկությունների) ամսաթիվը և ժամը (csdo:EDocDateTime) |
էլեկտրոնային փաստաթղթի (տեղեկությունների) ստեղծման ամսաթիվը և ժամը |
M.SDE.90002 |
bdt:DateTimeType (M.BDT.00006) Ամսաթվի և ժամի նշագիրը՝ ԳՕՍՏ ԻՍՕ 8601-2001-ին համապատասխան |
1 |
|
1.6. Լեզվի ծածկագիրը (csdo:LanguageCode) |
լեզվի ծածկագրային նշագիրը |
M.SDE.00051 |
csdo:LanguageCodeType (M.SDT.00051) Լեզվի երկտառ ծածկագիրը՝ ISO 639-1-ին համապատասխան։ Ձևանմուշը՝ [a-z]{2} |
0..1 |
|
2. Մաքսային մարմինը (cacdo:CustomsOfficeFunctionalDetails) |
մեկնման վայրի մաքսային մարմինը (լիազորված մաքսային մարմինը) |
M.CA.CDE.00359 |
cacdo:CustomsOfficeFunctionalDetailsType (M.CA.CDT.00316) Որոշվում է ներդրված տարրերի արժեքների տիրույթներով |
1..2 |
|
2.1. Մաքսային մարմնի ծածկագիրը (csdo:CustomsOfficeCode) |
մաքսային մարմնի ծածկագրային նշագիրը |
M.SDE.00255 |
csdo:CustomsOfficeCodeType M.SDT.00184 Ծածկագրի արժեքը՝ Եվրասիական տնտեսական միության անդամ պետությունների մաքսային մարմինների դասակարգչին համապատասխան։ Ձևանմուշը՝ [0-9]{2}|[0-9] {5}|[0-9]{8} |
0..1 |
|
2.2. Մաքսային մարմնի անվանումը (csdo:CustomsOfficeName) |
մաքսային մարմնի անվանումը |
M.SDE.00300 |
csdo:Name50Type (M.SDT.00204) Պայմանանշանների նորմալացված տողը: Նվազագույն երկարությունը՝ 1։ Առավելագույն երկարությունը՝ 50 |
0..1 |
|
2.3. Երկրի ծածկագիրը (csdo:UnifiedCountryCode) |
երկրի ծածկագրային նշագիրը |
M.SDE.00162 |
csdo:UnifiedCountryCodeType (M.SDT.00112) Երկրի երկտառ ծածկագրի արժեքն այն տեղեկագրքին (դասակարգչին) համապատասխան, որի նույնականացուցիչը սահմանված է «Տեղեկագրքի (դասակարգչի) նույնականացուցիչը» ատրիբուտում։ Ձևանմուշը՝ [A-Z]{2} |
0..1 |
|
ա) Տեղեկագրքի (դասակարգչի) նույնականացուցիչը (codeListId ատրիբուտ) |
այն տեղեկագրքի (դասակարգչի) նշագիրը, որին համապատասխան նշված է ծածկագիրը |
- |
csdo:ReferenceDataIdType (M.SDT.00091) Պայմանանշանների նորմալացված տողը: Նվազագույն երկարությունը՝ 1։ Առավելագույն երկարությունը՝ 20 |
1 |
|
2.4. Դերի ծածկագիրը (casdo:RoleCode) |
մաքսային մարմնի գործառութային դերի ծածկագրային նշագիրը մաքսային գործառնությունների կատարման գործընթացում |
M.CA.SDE.00315 |
csdo:Code20Type (M.SDT.00160) Պայմանանշանների նորմալացված տողը։ Նվազագույն երկարությունը՝ 1։ Առավելագույն երկարությունը՝ 20 |
0..1 |
|
3. Ապրանքների փաստացի արտահանումը։ Ապրանքների արտահանման (հետագծման) մասին տեղեկություններ (cacdo:FEFactDetails) |
ապրանքների փաստացի արտահանման (հետագծման) մասին տեղեկություններ |
M.CA.CDE.00263 |
cacdo:FEF actDetailsType (M.CA.CDT.00238) Որոշվում է ներդրված տարրերի արժեքների տիրույթներով |
1..* |
|
3.1. Մաքսային փաստաթղթի գրանցման համարը (cacdo:CustomsDeclarationIdDetails) |
ապրանքների հայտարարագրի գրանցման համարը |
M.CA.CDE.00291 |
cacdo:CustomsDocumentIdDetailsType (M.CA.CDT.00258) Որոշվում է ներդրված տարրերի արժեքների տիրույթներով |
1 |
|
3.1.1. Մաքսային մարմնի ծածկագիրը (csdo:CustomsOfficeCode) |
մաքսային մարմնի ծածկագրային նշագիրը |
M.SDE.00255 |
csdo:CustomsOfficeCodeType M.SDT.00184 Ծածկագրի արժեքը՝ Եվրասիական տնտեսական միության անդամ պետությունների մաքսային մարմինների դասակարգչին համապատասխան։ Ձևանմուշը՝ [0-9]{2}|[0-9]{5}|[0-9]{8} |
1 |
|
3.1.2. Փաստաթղթի ամսաթիվը (csdo:DocCreationDate) |
փաստաթղթի գրանցման ամսաթիվը |
M.SDE.00045 |
bdt:DateType (M.BDT.00005) Ամսաթվի նշագիրը՝ ԳՕՍՏ ԻՍՕ 8601-2001-ին համապատասխան |
1 |
|
3.1.3. Մաքսային փաստաթղթի համարը՝ ըստ գրանցամատյանի (casdo:CustomsDocumentId) |
մաքսային փաստաթղթի համարը՝ ըստ գրանցամատյանի |
M.CA.SDE.00478 |
casdo:CustomsDocumentIdType (M.CA.SDT.00118) Պայմանանշանների նորմալացված տողը: Նվազագույն երկարությունը՝ 5։ Առավելագույն երկարությունը՝ 7 |
1 |
|
3.2. Ապրանքների մեկնման (հետագծման) թույլտվության գրանցման համարը, որը ձևավորվել է անդամ պետության օրենսդրությանը համապատասխան (cacdo:FERegistrationIdDetails) |
ապրանքների մեկնման (հետագծման) թույլտվության գրանցման համարը, որը ձևավորվել է անդամ պետության օրենսդրությանը համապատասխան |
M.CA.CDE.00259 |
cacdo:FERegistrationIdDetailsType (M.CA.CDT.00235) Որոշվում է ներդրված տարրերի արժեքների տիրույթներով |
1 |
|
3.2.1. Մաքսային մարմնի ծածկագիրը (csdo:CustomsOfficeCode) |
մաքսային մարմնի ծածկագրային նշագիրը |
M.SDE.00255 |
csdo:CustomsOfficeCodeType M.SDT.00184 Ծածկագրի արժեքը՝ Եվրասիական տնտեսական միության անդամ պետությունների մաքսային մարմինների դասակարգչին համապատասխան։ Ձևանմուշը՝ [0-9]{2}|[0-9]{5}|[0-9]{8} |
1 |
|
3.2.2. Փաստաթղթի ամսաթիվը (csdo:DocCreationDate) |
փաստաթղթի գրանցման ամսաթիվը |
M.SDE.00045 |
bdt:DateType (M.BDT.00005) Ամսաթվի նշագիրը՝ ԳՕՍՏ ԻՍՕ 8601-2001-ին համապատասխան |
1 |
|
3.2.3. Մաքսային փաստաթղթի համարը՝ ըստ գրանցամատյանի (casdo:CustomsDocumentId) |
մաքսային փաստաթղթի համարը՝ ըստ գրանցամատյանի |
M.CA.SDE.00478 |
casdo:CustomsDocumentIdType (M.CA.SDT.00118) Պայմանանշանների նորմալացված տողը: Նվազագույն երկարությունը՝ 5։ Առավելագույն երկարությունը՝ 7 |
1 |
|
3.2.4. Հերթական համարը (csdo:ObjectOrdinal) |
միևնույն տրանսպորտային միջոցով (տրանսպորտային միջոցների կազմով) փոխադրվող ապրանքների բեռնագրի հերթական համարը |
M.SDE.00148 |
csdo:Ordinal3Type (M.SDT.00105) Հաշվարկման տասական համակարգում ոչ բացասական ամբողջ թիվը։ Թվանշանների առավելագույն քանակը՝ 3 |
0..1 |
|
3.2.5. Բեռնման նույնականացուցիչը (casdo:LoadingId) |
ծովային բեռնման նույնականացուցիչը |
M.CA.SDE.00435 |
csdo:Id20Type (M.SDT.00092) Պայմանանշանների նորմալացված տողը: Նվազագույն երկարությունը՝ 1։ Առավելագույն երկարությունը՝ 20 |
0..1 |
|
3.2.6. Ծովային հանձնարարականի նույնականացուցիչը (casdo:ShippingOrderId) |
ծովային հանձնարարականի նույնականացուցիչը |
M.CA.SDE.00436 |
csdo:Id20Type (M.SDT.00092) Պայմանանշանների նորմալացված տողը: Նվազագույն երկարությունը՝ 1։ Առավելագույն երկարությունը՝ 20 |
0..1 |
|
3.3. Ամսաթիվը և ժամը (csdo:EventDateTime) |
ապրանքների մեկնման ամսաթիվը և ժամանակը |
M.SDE.00132 |
bdt:DateTimeType (M.BDT.00006) Ամսաթվի և ժամի նշագիրը՝ ԳՕՍՏ ԻՍՕ 8601-2001-ին համապատասխան |
1 |
|
3.4. Մաքսային մարմնի պաշտոնատար անձը (cacdo:CustomsPersonDetails) |
մաքսային մարմնի պաշտոնատար անձի մասին տեղեկությունները |
M.CA.CDE.00096 |
cacdo:CustomsPersonDetailsType (M.CA.CDT.00209) Որոշվում է ներդրված տարրերի արժեքների տիրույթներով |
1 |
|
3.4.1. ԱԱՀ (ccdo:FullNameDetails) |
ազգանունը, անունը, հայրանունը |
M.CDE.00029 |
ccdo:FullNameDetailsType (M.CDT.00016) Որոշվում է ներդրված տարրերի արժեքների տիրույթներով |
0..1 |
|
*.1. Անունը (csdo:FirstName) |
ֆիզիկական անձի անունը |
M.SDE.00109 |
csdo:Name120Type (M.SDT.00055) Պայմանանշանների նորմալացված տողը։ Նվազագույն երկարությունը՝ 1։ Առավելագույն երկարությունը՝ 120 |
0..1 |
|
*.2. Հայրանունը (csdo:MiddleName) |
ֆիզիկական անձի հայրանունը (երկրորդ կամ միջին անունը) |
M.SDE.00111 |
csdo:Name120Type (M.SDT.00055) Պայմանանշանների նորմալացված տողը։ Նվազագույն երկարությունը՝ 1։ Առավելագույն երկարությունը՝ 120 |
0..1 |
|
*.3. Ազգանունը (csdo:LastName) |
ֆիզիկական անձի ազգանունը |
M.SDE.00110 |
csdo:Name120Type (M.SDT.00055) Պայմանանշանների նորմալացված տողը։ Նվազագույն երկարությունը՝ 1։ Առավելագույն երկարությունը՝ 120 |
0..1 |
|
3.4.2. Պաշտոնի անվանումը (csdo:PositionName) |
աշխատակցի պաշտոնի անվանումը |
M.SDE.00127 |
csdo:Name120Type (M.SDT.00055) Պայմանանշանների նորմալացված տողը։ Նվազագույն երկարությունը՝ 1։ Առավելագույն երկարությունը՝ 120 |
0..1 |
|
3.4.3. Մաքսային մարմնի պաշտոնատար անձի ԱՀԿ-ի համարը (casdo:LNPId) |
մաքսային մարմնի պաշտոնատար անձի ԱՀԿ-ի համարը |
M.CA.SDE.00413 |
casdo:LNPIdType (M.CA.SDT.00090) Պայմանանշանների նորմալացված տող: Նվազագույն երկարությունը՝ 1։ Առավելագույն երկարությունը՝ 4 |
0..1 |
|
3.4.4. Մաքսային մարմնի ծածկագիրը (csdo:CustomsOfficeCode) |
ԱՀԿ-ի դրոշմվածքի վրա նշված մաքսային մարմնի ծածկագրային նշագիրը |
M.SDE.00255 |
csdo:CustomsOfficeCodeType M.SDT.00184 Ծածկագրի արժեքը՝ Եվրասիական տնտեսական միության անդամ պետությունների մաքսային մարմինների դասակարգչին համապատասխան։ Ձևանմուշը՝ [0-9]{2}|[0-9]{5}|[0-9]{8} |
0..1 |
|
3.5. Տրանսպորտային միջոցը սահմանին (cacdo:BorderTransportsDetails) |
սահմանին գտնվող տրանսպորտային միջոցի մասին տեղեկությունները |
M.CA.CDE.00252 |
cacdo:TransportMeansDetailsType (M.CA.CDT.00214) Որոշվում է ներդրված տարրերի արժեքների տիրույթներով |
0..1 |
|
3.5.1. Տրանսպորտի տեսակի ծածկագիրը (csdo:UnifiedTransportModeCode) |
տրանսպորտի տեսակի ծածկագրային նշագիրը |
M.SDE.00166 |
csdo:UnifiedCode20Type (M.SDT.00140) Ծածկագրի արժեքն այն տեղեկագրքին (դասակարգչին) համապատասխան, որի նույնականացուցիչը սահմանված է «Տեղեկագրքի (դասակարգչի) նույնականացուցիչը» ատրիբուտում։ Նվազագույն երկարությունը՝ 1։ Առավելագույն երկարությունը՝ 20 |
0..1 |
|
ա) Տեղեկագրքի (դասակարգչի) նույնականացուցիչը (codeListId ատրիբուտ) |
այն տեղեկագրքի (դասակարգչի) նշագիրը, որին համապատասխան նշված է ծածկագիրը |
- |
csdo:ReferenceDataIdType (M.SDT.00091) Պայմանանշանների նորմալացված տողը: Նվազագույն երկարությունը՝ 1։ Առավելագույն երկարությունը՝ 20 |
1 |
|
3.5.2. Տրանսպորտային միջոցի գրանցման երկրի ծածկագիրը (casdo:RegistrationNationalityCode) |
տրանսպորտային միջոցի գրանցման երկրի ծածկագրային նշագիրը |
M.CA.SDE.00429 |
casdo:CACountryCodeType (M.CA.SDT.00181) Երկրի երկտառ ծածկագրի արժեքն այն տեղեկագրքին (դասակարգչին) համապատասխան, որի նույնականացուցիչը սահմանված է «Տեղեկագրքի (դասակարգչի) նույնականացուցիչը» ատրիբուտում, կամ փաստաթղթի (տեղեկությունների) լրացման կարգը կանոնակարգող նորմատիվ իրավական ակտերով սահմանված ծածկագրի արժեքը։ Ձևանմուշը՝ ([A-Z]{2})|(\d{2}) |
0..1 |
|
ա) Տեղեկագրքի (դասակարգչի) նույնականացուցիչը (codeListId ատրիբուտ) |
այն տեղեկագրքի (դասակարգչի) նշագիրը, որին համապատասխան նշված է ծածկագիրը |
- |
csdo:ReferenceDataIdType (M.SDT.00091) Պայմանանշանների նորմալացված տողը: Նվազագույն երկարությունը՝ 1։ Առավելագույն երկարությունը՝ 20 |
1 |
|
3.5.3. Տրանսպորտային միջոցների քանակը (casdo:TransportMeansQuantity) |
տրանսպորտային միջոցների քանակը |
M.CA.SDE.00140 |
csdo:Quantity5Type (M.SDT.00155) Հաշվարկման տասական համակարգում ոչ բացասական ամբողջ թիվը։ Թվանշանների առավելագույն քանակը՝ 5 |
0..1 |
|
3.5.4. Տրանսպորտային միջոցի մասին տեղեկատվությունը (cacdo:TransportMeans RegistrationIdDetails) |
տրանսպորտային միջոցի մասին տեղեկությունները |
M.CA.CDE.00361 |
cacdo:TransportMeansRegistrationIdDetailsType (M.CA.CDT.00321) Որոշվում է ներդրված տարրերի արժեքների տիրույթներով |
0..* |
|
*.1. Տրանսպորտային միջոցի գրանցման համարը (csdo:TransportMeansRegId) |
տրանսպորտային միջոցի գրանցման համարը, նավի անվանումը, ավիաչվերթի համարը, գնացքի համարը, երկաթուղային վագոնի (հարթակների, ցիստեռնների և այլնի) համարը |
M.SDE.00154 |
csdo:TransportMeansRegIdType (M.SDT.00101) Պայմանանշանների նորմալացված տողը: Նվազագույն երկարությունը՝ 1։ Առավելագույն երկարությունը՝ 40 |
1 |
|
ա) Երկրի ծածկագիրը (countryCode ատրիբուտ) |
այն երկրի ծածկագրային նշագիրը, որի կանոններով ձևավորվել է նշված գրանցման համարը |
- |
csdo:UnqualifiedCountryCodeType (M.SDT.00159) Երկրի երկտառ ծածկագրի արժեքն այն տեղեկագրքին (դասակարգչին) համապատասխան, որի նույնականացուցիչը սահմանված է «Տեղեկագրքի (դասակարգչի) նույնականացուցիչը» ատրիբուտում։ Ձևանմուշը՝ [A-Z]{2} |
0..1 |
|
բ) տեղեկագրքի (դասակարգչի) նույնականացուցիչը (countryCodeListId ատրիբուտ) |
աշխարհի երկրների դասակարգչի նույնականացուցիչը |
- |
csdo:ReferenceDataIdType (M.SDT.00091) Պայմանանշանների նորմալացված տողը: Նվազագույն երկարությունը՝ 1։ Առավելագույն երկարությունը՝ 20 |
0..1 |
|
*.2. Առաջին կցովի տրանսպորտային միջոցի գրանցման համարը (casdo:FirstTrailerRegId) |
առաջին կցովի տրանսպորտային միջոցի գրանցման համարը |
M.CA.SDE.00399 |
csdo:TransportMeansRegIdType (M.SDT.00101) Պայմանանշանների նորմալացված տողը: Նվազագույն երկարությունը՝ 1։ Առավելագույն երկարությունը՝ 40 |
0..1 |
|
ա) Երկրի ծածկագիրը (countryCode ատրիբուտ) |
այն երկրի ծածկագրային նշագիրը, որի կանոններով ձևավորվել է նշված գրանցման համարը |
- |
csdo:UnqualifiedCountryCodeType (M.SDT.00159) Երկրի երկտառ ծածկագրի արժեքն այն տեղեկագրքին (դասակարգչին) համապատասխան, որի նույնականացուցիչը սահմանված է «Տեղեկագրքի (դասակարգչի) նույնականացուցիչը» ատրիբուտում։ Ձևանմուշը՝ [A-Z]{2} |
0..1 |
|
բ) տեղեկագրքի (դասակարգչի) նույնականացուցիչը (countryCodeListId ատրիբուտ) |
աշխարհի երկրների դասակարգչի նույնականացուցիչը |
- |
csdo:ReferenceDataIdType (M.SDT.00091) Պայմանանշանների նորմալացված տողը: Նվազագույն երկարությունը՝ 1։ Առավելագույն երկարությունը՝ 20 |
0..1 |
|
*.3. Երկրորդ կցովի տրանսպորտային միջոցի գրանցման համարը (casdo:SecondTrailerRegId) |
երկրորդ կցովի տրանսպորտային միջոցի գրանցման համարը |
M.CA.SDE.00428 |
csdo:TransportMeansRegIdType (M.SDT.00101) Պայմանանշանների նորմալացված տողը: Նվազագույն երկարությունը՝ 1։ Առավելագույն երկարությունը՝ 40 |
0..1 |
|
ա) Երկրի ծածկագիրը (countryCode ատրիբուտ) |
այն երկրի ծածկագրային նշագիրը, որի կանոններով ձևավորվել է նշված գրանցման համարը |
- |
csdo:UnqualifiedCountryCodeType (M.SDT.00159) Երկրի երկտառ ծածկագրի արժեքն այն տեղեկագրքին (դասակարգչին) համապատասխան, որի նույնականացուցիչը սահմանված է «Տեղեկագրքի (դասակարգչի) նույնականացուցիչը» ատրիբուտում։ Ձևանմուշը՝ [A-Z]{2} |
0..1 |
|
բ) տեղեկագրքի (դասակարգչի) նույնականացուցիչը (countryCodeListId ատրիբուտ) |
աշխարհի երկրների դասակարգչի նույնականացուցիչը |
- |
csdo:ReferenceDataIdType (M.SDT.00091) Պայմանանշանների նորմալացված տողը: Նվազագույն երկարությունը՝ 1։ Առավելագույն երկարությունը՝ 20 |
0..1 |
|
*.4. Փաստաթղթի համարը (csdo:DocId) |
տրանսպորտային միջոցի գրանցման վկայականի համարը |
M.SDE.00044 |
csdo:Id50Type (M.SDT.00093) Պայմանանշանների նորմալացված տողը։ Նվազագույն երկարությունը՝ 1։ Առավելագույն երկարությունը՝ 50 |
0..1 |
|
*.5. Տրանսպորտային միջոցի նույնականացման համարը (csdo:VehicleId) |
տրանսպորտային միջոցի (տրանսպորտային միջոցի ամրաշրջանակի, ինքնագնաց մեքենայի)՝ արտադրողի կողմից տրված նույնականացման համարը |
M.SDE.00212 |
csdo:VehicleIdType (M.SDT.00161) Պայմանանշանների նորմալացված տողը: Նվազագույն երկարությունը՝ 1։ Առավելագույն երկարությունը՝ 17 |
0..1 |
|
*.6. Միջազգային փոխադրման տրանսպորտային միջոցի տիպի ծածկագիրը (casdo:TransportTypeCode) |
տրանսպորտային միջոցի տիպի ծածկագրային նշագիրը |
M.CA.SDE.00371 |
casdo:TransportTypeCodeType (M.CA.SDT.00205) Միջազգային փոխադրման տրանսպորտային միջոցի տիպի ծածկագրի արժեքը՝ տեղեկագրքին (դասակարգչին) համապատասխան, որի նույնականացուցիչը սահմանված է «Տեղեկագրքի (դասակարգչի) նույնականացուցիչը» ատրիբուտում: Ձևանմուշը՝ \d{3} |
0..1 |
|
ա) տեղեկագրքի (դասակարգչի) նույնականացուցիչը (codeListId ատրիբուտ) |
այն տեղեկագրքի (դասակարգչի) նշագիրը, որին համապատասխան նշված է ծածկագիրը |
- |
csdo:ReferenceDataIdType (M.SDT.00091) Պայմանանշանների նորմալացված տողը: Նվազագույն երկարությունը՝ 1։ Առավելագույն երկարությունը՝ 20 |
1 |
|
*.7. Տրանսպորտային միջոցի մակնիշի ծածկագիրը (csdo:VehicleMakeCode) |
տրանսպորտային միջոցի մակնիշի ծածկագրային նշագիրը |
M.SDE.00303 |
csdo:VehicleMakeCodeType (M.SDT.00203) Ճանապարհային տրանսպորտային միջոցի մակնիշի ծածկագրի արժեքը՝ տեղեկագրքին (դասակարգչին) համապատասխան, որի նույնականացուցիչը սահմանված է «Տեղեկագրքի (դասակարգչի) նույնականացուցիչը» ատրիբուտում: Ձևանմուշը՝ \d{3} |
0..1 |
|
ա) տեղեկագրքի (դասակարգչի) նույնականացուցիչը (codeListId ատրիբուտ) |
այն տեղեկագրքի (դասակարգչի) նշագիրը, որին համապատասխան նշված է ծածկագիրը |
- |
csdo:ReferenceDataIdType (M.SDT.00091) Պայմանանշանների նորմալացված տողը: Նվազագույն երկարությունը՝ 1։ Առավելագույն երկարությունը՝ 20 |
1 |
|
3.6. Արտահանվող ապրանքի մասին տեղեկատվություն (cacdo:FEGoodsDetails) |
արտահանվող ապրանքի մասին տեղեկատվություն պարունակող տեղեկությունները |
M.CA.CDE.00360 |
cacdo:FEGoodsDetailsType (M.CA.CDT.00320) Որոշվում է ներդրված տարրերի արժեքների տիրույթներով |
1..* |
|
3.6.1. Ապրանքը (cacdo:FEGoodsInfoDetails) |
փաստացի արտահանման ժամանակ ապրանքի մասին տեղեկությունները |
M.CA.CDE.00261 |
cacdo:FEGoodsInfoDetailsType (M.CA.CDT.00237) Որոշվում է ներդրված տարրերի արժեքների տիրույթներով |
1 |
|
*.1. Ապրանքի հերթական համարը (casdo:ConsignmentItemOrdinal) |
ապրանքի հերթական համարը |
M.CA.SDE.00183 |
csdo:Ordinal3Type (M.SDT.00105) Հաշվարկման տասական համակարգում ոչ բացասական ամբողջ թիվը։ Թվանշանների առավելագույն քանակը՝ 3 |
0..1 |
|
*.2. Ապրանքի ծածկագիրը՝ ըստ ԵԱՏՄ ԱՏԳ ԱԱ-ի (csdo:CommodityCode) |
ապրանքի ծածկագրային նշագիրը՝ ԵԱՏՄ ԱՏԳ ԱԱ-ին համապատասխան |
M.SDE.00091 |
csdo:CommodityCodeType (M.SDT.00065) ԵԱՏՄ ԱՏԳ ԱԱ-ից ծածկագրի արժեքը՝ 2, 4, 6, 8, 9 կամ 10 նիշերի մակարդակով։ Ձևանմուշը՝ \d{2}|\d{4}|\d{6}|\d{8,10} |
0..1 |
|
*.3. Ապրանքի անվանումը (casdo:GoodsDescriptionText) |
ապրանքի նկարագրությունը, ներառյալ՝ ապրանքի առևտրային, ֆիրմային կամ այլ ավանդական անվանումը |
M.CA.SDE.00164 |
csdo:Text250Type (M.SDT.00072) Պայմանանշանների տողը: Նվազագույն երկարությունը՝ 1։ Առավելագույն երկարությունը՝ 250 |
0..4 |
|
*.4. Համաքաշը (csdo:UnifiedGrossMassMeasure) |
ապրանքի քաշը, բրուտտո |
M.SDE.00168 |
csdo:UnifiedPhysicalMeasureType (M.SDT.00122) Թիվը՝ հաշվարկման տասական համակարգում։ Թվանշանների առավելագույն քանակը՝ 24. Կոտորակային թվերի առավելագույն քանակը՝ 6 |
0..1 |
|
ա) չափման միավորը (measurementUnitCode ատրիբուտ) |
չափման միավորի ծածկագրային նշագիրը |
- |
csdo:MeasurementUnitCodeType (M.SDT.00074) Տառաթվային ծածկագիրը: Ձևանմուշը՝ [0-9A-Z]{2,3}|\d{3,4} |
1 |
|
բ) տեղեկագրքի (դասակարգչի) նույնականացուցիչը (measurementUnitCodeListId ատրիբուտ) |
չափման միավորների դասակարգչի նույնականացուցիչը |
- |
csdo:ReferenceDataIdType (M.SDT.00091) Պայմանանշանների նորմալացված տողը: Նվազագույն երկարությունը՝ 1։ Առավելագույն երկարությունը՝ 20 |
1 |
|
*.5. Զտաքաշը (csdo:UnifiedNetMassMeasure) |
ապրանքի քաշը, զտաքաշը |
M.SDE.00174 |
csdo:UnifiedPhysicalMeasureType (M.SDT.00122) Թիվը՝ հաշվարկման տասական համակարգում։ Թվանշանների առավելագույն քանակը՝ 24. Կոտորակային թվերի առավելագույն քանակը՝ 6 |
0..1 |
|
ա) չափման միավորը (measurementUnitCode ատրիբուտ) |
չափման միավորի ծածկագրային նշագիրը |
- |
csdo:MeasurementUnitCodeType (M.SDT.00074) Տառաթվային ծածկագիրը: Ձևանմուշը՝ [0-9A-Z]{2,3}|\d{3,4} |
1 |
|
բ) տեղեկագրքի (դասակարգչի) նույնականացուցիչը (measurementUnitCodeListId ատրիբուտ) |
չափման միավորների դասակարգչի նույնականացուցիչը |
- |
csdo:ReferenceDataIdType (M.SDT.00091) Պայմանանշանների նորմալացված տողը: Նվազագույն երկարությունը՝ 1։ Առավելագույն երկարությունը՝ 20 |
1 |
|
*.6. Ապրանքի քանակը (cacdo:GoodsMeasureDetails) |
ապրանքի քանակը՝ լրացուցիչ չափման միավորի նշմամբ |
M.CA.CDE.00153 |
cacdo:GoodsMeasureDetailsType (M.CA.CDT.00109) Որոշվում է ներդրված տարրերի արժեքների տիրույթներով |
0..1 |
|
*.6.1. Ապրանքի քանակը՝ չափման միավորի նշմամբ (casdo:GoodsMeasure) |
ապրանքի քանակի մասին տեղեկությունները՝ չափման միավորի նշմամբ |
M.CA.SDE.00215 |
csdo:UnifiedPhysicalMeasureType (M.SDT.00122) Թիվը՝ հաշվարկման տասական համակարգում։ Թվանշանների առավելագույն քանակը՝ 24. Կոտորակային թվերի առավելագույն քանակը՝ 6 |
1 |
|
ա) չափման միավորը (measurementUnitCode ատրիբուտ) |
չափման միավորի ծածկագրային նշագիրը |
- |
csdo:MeasurementUnitCodeType (M.SDT.00074) Տառաթվային ծածկագիրը: Ձևանմուշը՝ [0-9A-Z]{2,3}|\d{3,4} |
1 |
|
բ) տեղեկագրքի (դասակարգչի) նույնականացուցիչը (measurementUnitCodeListId ատրիբուտ) |
չափման միավորների դասակարգչի նույնականացուցիչը |
- |
csdo:ReferenceDataIdType (M.SDT.00091) Պայմանանշանների նորմալացված տողը: Նվազագույն երկարությունը՝ 1։ Առավելագույն երկարությունը՝ 20 |
1 |
|
*.6.2. Չափման միավորի պայմանական նշագիրը (casdo:MeasureUnitAbbreviationCode) |
չափման միավորի պայմանական նշագիրը |
M.CA.SDE.00222 |
casdo:MeasureUnitAbbreviationCodeType (M.CA.SDT.00409) Պայմանանշանների նորմալացված տողը: Նվազագույն երկարությունը՝ 1։ Առավելագույն երկարությունը՝ 50 |
0..1 |
|
*.7. Ապրանքի մնացորդը (casdo:RemainGrossWeightMeasure) |
ըստ քաշի (համաքաշի)՝ ապրանքի մնացորդը |
M.CA.SDE.00455 |
casdo:UnifiedFractionNumber246 MeasureType (M.CA.SDT.00822) Չափման որևէ միավորով ֆիզիկական պարամետրերի չափման արդյունքում որոշված թվային արժեքը։ Թվանշանների առավելագույն քանակը՝ 24. Կոտորակային թվերի առավելագույն քանակը՝ 6 |
0..1 |
|
ա) չափման միավորը (measurementUnitCode ատրիբուտ) |
չափման միավորի ծածկագրային նշագիրը |
- |
csdo:MeasurementUnitCodeType (M.SDT.00074) Տառաթվային ծածկագիրը: Ձևանմուշը՝ [0-9A-Z]{2,3}|\d{3,4} |
1 |
|
բ) տեղեկագրքի (դասակարգչի) նույնականացուցիչը (measurementUnitCodeListId ատրիբուտ) |
չափման միավորների դասակարգչի նույնականացուցիչը |
- |
csdo:ReferenceDataIdType (M.SDT.00091) Պայմանանշանների նորմալացված տողը: Նվազագույն երկարությունը՝ 1։ Առավելագույն երկարությունը՝ 20 |
1 |
|
*.8. Ապրանքների մնացորդը՝ լրացուցիչ չափման միավորով (cacdo:RemainGoodsMeasureDetails) |
չափման լրացուցիչ միավորով ապրանքի մնացորդների մասին տեղեկությունները |
M.CA.CDE.00262 |
cacdo:GoodsMeasureDetailsType (M.CA.CDT.00109) Որոշվում է ներդրված տարրերի արժեքների տիրույթներով |
0..1 |
|
*.8.1. Ապրանքի քանակը՝ չափման միավորի նշմամբ (casdo:GoodsMeasure) |
ապրանքի քանակի մասին տեղեկությունները՝ չափման միավորի նշմամբ |
M.CA.SDE.00215 |
csdo:UnifiedPhysicalMeasureType (M.SDT.00122) Թիվը՝ հաշվարկման տասական համակարգում։ Թվանշանների առավելագույն քանակը՝ 24. Կոտորակային թվերի առավելագույն քանակը՝ 6 |
1 |
|
ա) չափման միավորը (measurementUnitCode ատրիբուտ) |
չափման միավորի ծածկագրային նշագիրը |
- |
csdo:MeasurementUnitCodeType (M.SDT.00074) Տառաթվային ծածկագիրը: Ձևանմուշը՝ [0-9A-Z]{2,3}|\d{3,4} |
1 |
|
բ) տեղեկագրքի (դասակարգչի) նույնականացուցիչը (measurementUnitCodeListId ատրիբուտ) |
չափման միավորների դասակարգչի նույնականացուցիչը |
- |
csdo:ReferenceDataIdType (M.SDT.00091) Պայմանանշանների նորմալացված տողը: Նվազագույն երկարությունը՝ 1։ Առավելագույն երկարությունը՝ 20 |
1 |
|
*.8.2. Չափման միավորի պայմանական նշագիրը (casdo:MeasureUnitAbbreviationCode) |
չափման միավորի պայմանական նշագիրը |
M.CA.SDE.00222 |
casdo:MeasureUnitAbbreviationCodeType (M.CA.SDT.00409) Պայմանանշանների նորմալացված տողը: Նվազագույն երկարությունը՝ 1։ Առավելագույն երկարությունը՝ 50 |
0..1 |
|
*.9. Ապրանքի լիակատար արտահանման հատկանիշը (casdo:GoodsFullyExportedIndicator) |
ապրանքի լիակատար արտահանման հատկանիշը |
M.CA.SDE.00851 |
bdt:IndicatorType (M.BDT.00013) Երկու արժեքներից մեկը՝ «true» (ճիշտ է) կամ «false» (սխալ է) |
0..1 |
|
*.10. Մաքսային ընթացակարգի ծածկագիրը (casdo:CustomsProcedureCode) |
մաքսային ընթացակարգի ծածկագրային նշագիրը |
M.CA.SDE.00086 |
casdo:CustomsProcedureCodeType (M.CA.SDT.00043) Մաքսային ընթացակարգի տեսակի ծածկագրի արժեքը՝ տեղեկագրքին (դասակարգչին) համապատասխան, որի նույնականացուցիչը սահմանված է «Տեղեկագրքի (դասակարգչի) նույնականացուցիչը» ատրիբուտում: Երկարությունը՝ 2 |
0..1 |
|
ա) տեղեկագրքի (դասակարգչի) նույնականացուցիչը (codeListId ատրիբուտ) |
այն տեղեկագրքի (դասակարգչի) նշագիրը, որին համապատասխան նշված է ծածկագիրը |
- |
csdo:ReferenceDataIdType (M.SDT.00091) Պայմանանշանների նորմալացված տողը: Նվազագույն երկարությունը՝ 1։ Առավելագույն երկարությունը՝ 20 |
1 |
|
*.11. Որոշման ծածկագիրը (casdo:CustomsDecisionModeCode) |
մաքսային մարմինների կողմից ընդունվող որոշման ծածկագրային նշագիրը |
M.CA.SDE.00121 |
casdo:CustomsDecisionCodeType (M.CA.SDT.00058) Ծածկագրի արժեքն այն տեղեկագրքին (դասակարգչին) համապատասխան, որի նույնականացուցիչը սահմանված է «Տեղեկագրքի (դասակարգչի) նույնականացուցիչը» ատրիբուտում, կամ փաստաթղթի (տեղեկությունների) լրացման կարգը կանոնակարգող նորմատիվ իրավական ակտերով սահմանված ծածկագրի արժեքը։ Երկարությունը՝ 2 |
0..1 |
|
ա) տեղեկագրքի (դասակարգչի) նույնականացուցիչը (codeListId ատրիբուտ) |
այն տեղեկագրքի (դասակարգչի) նշագիրը, որին համապատասխան նշված է ծածկագիրը |
- |
csdo:ReferenceDataIdType (M.SDT.00091) Պայմանանշանների նորմալացված տողը: Նվազագույն երկարությունը՝ 1։ Առավելագույն երկարությունը՝ 20 |
0..1 |
|
*.12. Նույնականացման եղանակը (casdo:GoodsIdentificationMethodText) |
ապրանքի նույնականացման եղանակի նկարագրությունը |
M.CA.SDE.00634 |
csdo:Text4000Type (M.SDT.00088) Պայմանանշանների տողը: Նվազագույն երկարությունը՝ 1։ Առավելագույն երկարությունը՝ 4000 |
0..1 |
|
*.13. Բազմաշրջանառու տարայի հատկանիշը (casdo:ReusableContainerIndicator) |
ապրանքի բազմաշրջանառու տարա լինելը սահմանող հատկանիշը․ 1՝ ապրանքը բազմաշրջանառու տարա է 0՝ ապրանքը բազմաշրջանառու տարա չէ |
M.CA.SDE.00440 |
bdt:IndicatorType (M.BDT.00013) Երկու արժեքներից մեկը՝ «true» (ճիշտ է) կամ «false» (սխալ է) |
0..1 |
|
*.14. Մաքսային փաստաթղթի գրանցման համարը (cacdo:CustomsDeclarationIdDetails) |
Տարանցիկ փոխադրման հայտարարագրի գրանցման համարը |
M.CA.CDE.00291 |
cacdo:CustomsDocumentIdDetailsType (M.CA.CDT.00258) Որոշվում է ներդրված տարրերի արժեքների տիրույթներով |
0..1 |
|
*.14.1. Մաքսային մարմնի ծածկագիրը (csdo:CustomsOfficeCode) |
մաքսային մարմնի ծածկագրային նշագիրը |
M.SDE.00255 |
csdo:CustomsOfficeCodeType M.SDT.00184 Ծածկագրի արժեքը՝ Եվրասիական տնտեսական միության անդամ պետությունների մաքսային մարմինների դասակարգչին համապատասխան։ Ձևանմուշը՝ [0-9]{2}|[0-9]{5}|[0-9]{8} |
1 |
|
*.14.2. Փաստաթղթի ամսաթիվը (csdo:DocCreationDate) |
փաստաթղթի գրանցման ամսաթիվը |
M.SDE.00045 |
bdt:DateType (M.BDT.00005) Ամսաթվի նշագիրը՝ ԳՕՍՏ ԻՍՕ 8601-2001-ին համապատասխան |
1 |
|
*.14.3. Մաքսային փաստաթղթի համարը՝ ըստ գրանցամատյանի (casdo:CustomsDocumentId) |
մաքսային փաստաթղթի համարը՝ ըստ գրանցամատյանի |
M.CA.SDE.00478 |
casdo:CustomsDocumentIdType (M.CA.SDT.00118) Պայմանանշանների նորմալացված տողը: Նվազագույն երկարությունը՝ 5։ Առավելագույն երկարությունը՝ 7 |
1 |
|
3.6.2. Փաստաթղթի մասին տեղեկությունները (cacdo:CADocDetails) |
ներկայացված փաստաթղթերի մասին տեղեկությունները |
M.CA.CDE.00307 |
cacdo:CADocDetailsType (M.CA.CDT.00324) Որոշվում է ներդրված տարրերի արժեքների տիրույթներով |
0..* |
|
*.1. Փաստաթղթի տեսակի ծածկագիրը (csdo:DocKindCode) |
փաստաթղթի տեսակի ծածկագրային նշագիրը |
M.SDE.00054 |
csdo:UnifiedCode20Type (M.SDT.00140) Ծածկագրի արժեքն այն տեղեկագրքին (դասակարգչին) համապատասխան, որի նույնականացուցիչը սահմանված է «Տեղեկագրքի (դասակարգչի) նույնականացուցիչը» ատրիբուտում։ Նվազագույն երկարությունը՝ 1: Առավելագույն երկարությունը՝ 20 |
0..1 |
|
ա) տեղեկագրքի (դասակարգչի) նույնականացուցիչը (codeListId ատրիբուտ) |
այն տեղեկագրքի (դասակարգչի) նշագիրը, որին համապատասխան նշված է ծածկագիրը |
- |
csdo:ReferenceDataIdType (M.SDT.00091) Պայմանանշանների նորմալացված տողը: Նվազագույն երկարությունը՝ 1։ Առավելագույն երկարությունը՝ 20 |
1 |
|
*.2. Փաստաթղթի անվանումը (csdo:DocName) |
փաստաթղթի անվանումը |
M.SDE.00108 |
csdo:Name500Type (M.SDT.00134) Պայմանանշանների նորմալացված տողը։ Նվազագույն երկարությունը՝ 1։ Առավելագույն երկարությունը՝ 500 |
0..1 |
|
*.3. Փաստաթղթի համարը (csdo:DocId) |
փաստաթղթի գրանցման ժամանակ դրան շնորհված թվային կամ տառաթվային նշագիրը |
M.SDE.00044 |
csdo:Id50Type (M.SDT.00093) Պայմանանշանների նորմալացված տողը։ Նվազագույն երկարությունը՝ 1։ Առավելագույն երկարությունը՝ 50 |
0..1 |
|
*.4. Փաստաթղթի ամսաթիվը (csdo:DocCreationDate) |
փաստաթղթի տրման, ստորագրման, հաստատման կամ գրանցման ամսաթիվը |
M.SDE.00045 |
bdt:DateType (M.BDT.00005) Ամսաթվի նշագիրը՝ ԳՕՍՏ ԻՍՕ 8601-2001-ին համապատասխան |
0..1 |
|
*.5. Փաստաթղթի գործողության ժամկետի մեկնարկի ամսաթիվը (csdo:DocStartDate) |
այն ժամկետի մեկնարկի ամսաթիվը, որի ընթացքում փաստաթուղթն ուժի մեջ է |
M.SDE.00137 |
bdt:DateType (M.BDT.00005) Ամսաթվի նշագիրը՝ ԳՕՍՏ ԻՍՕ 8601-2001-ին համապատասխան |
0..1 |
|
*.6. Փաստաթղթի գործողության ժամկետը լրանալու ամսաթիվը (csdo:DocValidityDate) |
այն ժամկետի ավարտի ամսաթիվը, որի ընթացքում փաստաթուղթն ուժի մեջ է |
M.SDE.00052 |
bdt:DateType (M.BDT.00005) Ամսաթվի նշագիրը՝ ԳՕՍՏ ԻՍՕ 8601-2001-ին համապատասխան |
0..1 |
|
*.7. Երկրի ծածկագիրը (csdo:UnifiedCountryCode) |
երկրի ծածկագրային նշագիրը |
M.SDE.00162 |
csdo:UnifiedCountryCodeType (M.SDT.00112) Երկրի երկտառ ծածկագրի արժեքն այն տեղեկագրքին (դասակարգչին) համապատասխան, որի նույնականացուցիչը սահմանված է «Տեղեկագրքի (դասակարգչի) նույնականացուցիչը» ատրիբուտում։ Ձևանմուշը՝ [A-Z]{2} |
0..1 |
|
ա) տեղեկագրքի (դասակարգչի) նույնականացուցիչը (codeListId ատրիբուտ) |
այն տեղեկագրքի (դասակարգչի) նշագիրը, որին համապատասխան նշված է ծածկագիրը |
- |
csdo:ReferenceDataIdType (M.SDT.00091) Պայմանանշանների նորմալացված տողը: Նվազագույն երկարությունը՝ 1։ Առավելագույն երկարությունը՝ 20 |
1 |
|
*.8. Լիազորված մարմնի անվանումը (csdo:AuthorityName) |
անդամ պետության պետական իշխանության մարմնի կամ դրա կողմից լիազորված՝ փաստաթուղթը տրամադրած կազմակերպության լրիվ անվանումը |
M.SDE.00066 |
csdo:Name300Type (M.SDT.00056) Պայմանանշանների նորմալացված տողը։ Նվազագույն երկարությունը՝ 1։ Առավելագույն երկարությունը՝ 300 |
0..1 |
|
*.9. Լիազորված մարմնի նույնականացուցիչը (csdo:AuthorityId) |
փաստաթուղթը տրամադրած կամ հաստատած՝ պետական կամ միջպետական մարմինը (կազմակերպությունը) նույնականացնող պայմանանշանների տողը |
M.SDE.00068 |
csdo:Id20Type (M.SDT.00092) Պայմանանշանների նորմալացված տողը։ Նվազագույն երկարությունը՝ 1։ Առավելագույն երկարությունը՝ 20 |
0..1 |
|
3.7. Այլ տեղեկություններ (csdo:AdditionalInfoText) |
նկարագրվող օբյեկտի վերաբերյալ լրացուցիչ տեղեկատվությունը |
M.SDE.00046 |
csdo:Text4000Type (M.SDT.00088) Պայմանանշանների տողը: Նվազագույն երկարությունը՝ 1։ Առավելագույն երկարությունը՝ 4000 |
0..* |
22. «Բաց թողնված ապրանքների մասին տեղեկություններ» (R.CA.CP.02.004) էլեկտրոնային փաստաթղթի (տեղեկությունների) կառուցվածքի նկարագրությունը բերված է 14-րդ աղյուսակում։
Աղյուսակ 14
«Բաց թողնված ապրանքների մասին տեղեկություններ» (R.CA.CP.02.004) էլեկտրոնային փաստաթղթի (տեղեկությունների) կառուցվածքի նկարագրությունը
|
թիվ ը/կ |
Տարրի նշագիրը |
Նկարագրությունը |
|
1 |
2 |
3 |
|
1 |
անվանումը |
Բաց թողնված ապրանքների մասին տեղեկություններ |
|
2 |
Նույնականացուցիչը |
R.CA.CP.02.004 |
|
3 |
Տարբերակը |
1.1.1 |
|
4 |
Սահմանումը |
Բաց թողնված ապրանքների մասին տեղեկություններ |
|
5 |
Օգտագործումը |
- |
|
6 |
Անվանումների տարածության նույնականացուցիչը |
urn:EEC:R:CA:CP:02:ExportInformation:v1.1.1 |
|
7 |
XML փաստաթղթի արմատական տարրը |
ExportInformation |
|
8 |
XML սխեմայի ֆայլի անվանումը |
EEC_R_CA_CP_02_ExportInformation_v1.1.1.xsd |
23. Ներմուծվող անվանումների տարածությունները ներկայացված են 15-րդ աղյուսակում:
Աղյուսակ 15
Ներմուծվող անվանումների տարածությունները
|
թիվ ը/կ |
Անվանումների տարածության նույնականացուցիչը |
Նախածանցը |
|
1 |
2 |
3 |
|
1 |
urn:EEC:M:CA:ComplexDataObjects:vX.X.X |
cacdo |
|
2 |
urn:EEC :M:CA:Simpl eDataObjects: vX.X.X |
casdo |
|
3 |
urn:EEC:M:ComplexDataObjects:vX.X.X |
ccdo |
|
4 |
urn:EEC:M:SimpleDataObjects:vX.X.X |
csdo |
Ներմուծվող անվանումների տարածություններում «X.X.X» պայմանանշանները համապատասխանում են կառուցվածքների ռեեստրում ներառման ենթակա՝ էլեկտրոնային փաստաթղթի (տեղեկությունների) կառուցվածքի տեխնիկական սխեման սույն նկարագրությանը համապատասխան մշակելիս օգտագործված տվյալների բազիսային մոդելի և առարկայական ոլորտի տվյալների մոդելի տարբերակի համարին:
24. «Բաց թողնված ապրանքների մասին տեղեկություններ» (R.CA.CP.02.004) էլեկտրոնային փաստաթղթի (տեղեկությունների) կառուցվածքի վավերապայմանների կազմը բերված է 16–րդ աղյուսակում։
Աղյուսակ 16
«Բաց թողնված ապրանքների մասին տեղեկություններ» էլեկտրոնային փաստաթղթի (տեղեկությունների) կառուցվածքի վավերապայմանների կազմը (R.CA.CP.02.004)
|
Վավերապայմանի անվանումը |
Վավերապայմանի նկարագրությունը |
Նույնա-կանացուցիչը |
Տվյալների տեսակը |
Բազմ. |
|
1. Էլեկտրոնային փաստաթղթի (տեղեկությունների) վերնագիրը (ccdo:EDocHeader) |
էլեկտրոնային փաստաթղթի (տեղեկությունների) տեխնոլոգիական վավերապայմանների ամբողջությունը |
M.CDE.90001 |
ccdo:EDocHeaderType (M.CDT.90001) Որոշվում է ներդրված տարրերի արժեքների տիրույթներով |
1 |
|
1.1. Ընդհանուր գործընթացի հաղորդագրության ծածկագիրը (csdo:InfEnvelopeCode) |
ընդհանուր գործընթացի հաղորդագրության ծածկագրային նշագիրը |
M.SDE.90010 |
csdo:InfEnvelopeCodeType (M.SDT.90004) Ծածկագրի արժեքը՝ Տեղեկատվական փոխգործակցության կանոնակարգին համապատասխան: Ձևանմուշը՝ P\.[A-Z]{2}\.[0- 9]{2}\.MSG\.[0-9]{3} |
1 |
|
1.2. Էլեկտրոնային փաստաթղթի (տեղեկությունների) ծածկագիրը (csdo:EDocCode) |
էլեկտրոնային փաստաթղթի (տեղեկությունների) ծածկագրային նշագիրը՝ էլեկտրոնային փաստաթղթերի և տեղեկությունների կառուցվածքների ռեեստրին համապատասխան |
M.SDE.90001 |
csdo:EDocCodeType (M.SDT.90001) Ծածկագրի արժեքը՝ էլեկտրոնային փաստաթղթերի և տեղեկությունների կառուցվածքների ռեեստրին համապատասխան: Ձևանմուշը՝ R(\.[A-Z]{2}\.[A-Z]{2}\.[0-9]{2})?\[0-9]{3} |
1 |
|
1.3. Էլեկտրոնային փաստաթղթի (տեղեկությունների) նույնականացուցիչը (csdo:EDocId) |
էլեկտրոնային փաստաթուղթը (տեղեկությունները) միանշանակ նույնականացնող պայմանանշանների տողը |
M.SDE.90007 |
csdo:UniversallyUniqueIdType (M.SDT.90003) Նույնականացուցչի արժեքը՝ ISO/IEC 9834-8-ին համապատասխան։ Ձևանմուշը՝ [0-9a-fA-F]{8}-[0-9a-fA- F]{4}-[0-9a-fA-F]{4}-[0-9a-fA-F]{4}- [0-9a-fA-F]{12} |
1 |
|
1.4. Սկզբնական էլեկտրոնային փաստաթղթի (տեղեկությունների) նույնականացուցիչը (csdo:EDocRefId) |
էլեկտրոնային փաստաթղթի (տեղեկությունների) նույնականացուցիչը, որին ի պատասխան ձևավորվել է տվյալ էլեկտրոնային փաստաթուղթը (տեղեկությունները) |
M.SDE.90008 |
csdo:UniversallyUniqueIdType (M.SDT.90003) Նույնականացուցչի արժեքը՝ ISO/IEC 9834-8-ին համապատասխան։ Ձևանմուշը՝ [0-9a-fA-F]{8}-[0-9a-fA- F]{4}-[0-9a-fA-F]{4}-[0-9a-fA-F]{4}- [0-9a-fA-F]{12} |
0..1 |
|
1.5. Էլեկտրոնային փաստաթղթի (տեղեկությունների) ամսաթիվը և ժամը (csdo:EDocDateTime) |
էլեկտրոնային փաստաթղթի (տեղեկությունների) ստեղծման ամսաթիվը և ժամը |
M.SDE.90002 |
bdt:DateTimeType (M.BDT.00006) Ամսաթվի և ժամի նշագիրը՝ ԳՕՍՏ ԻՍՕ 8601-2001-ին համապատասխան |
1 |
|
1.6. Լեզվի ծածկագիրը (csdo:LanguageCode) |
լեզվի ծածկագրային նշագիրը |
M.SDE.00051 |
csdo:LanguageCodeType (M.SDT.00051) Լեզվի երկտառ ծածկագիրը՝ ISO 639-1-ին համապատասխան։ Ձևանմուշը՝ [a-z]{2} |
0..1 |
|
2. Երկրի ծածկագիրը (csdo:UnifiedCountryCode) |
տեղեկատվությունը (տեղեկությունները) ներկայացրած անդամ պետության ծածկագիրը |
M.SDE.00162 |
csdo:UnifiedCountryCodeType (M.SDT.00112) Երկրի երկտառ ծածկագրի արժեքն այն տեղեկագրքին (դասակարգչին) համապատասխան, որի նույնականացուցիչը սահմանված է «Տեղեկագրքի (դասակարգչի) նույնականացուցիչը» ատրիբուտում։ Ձևանմուշը՝ [A-Z]{2} |
1 |
|
ա) Տեղեկագրքի (դասակարգչի) նույնականացուցիչը (codeListId ատրիբուտ) |
այն տեղեկագրքի (դասակարգչի) նշագիրը, որին համապատասխան նշված է ծածկագիրը |
- |
csdo:ReferenceDataIdType (M.SDT.00091) Պայմանանշանների նորմալացված տողը: Նվազագույն երկարությունը՝ 1։ Առավելագույն երկարությունը՝ 20 |
1 |
|
3. Ապրանքի փաստացի արտահանումը։ Արտահանման ենթակա ապրանքների խմբաքանակի մասին տեղեկություններ (cacdo:FEConsignmentDetails) |
արտահանման ենթակա ապրանքների խմբաքանակի մասին տեղեկությունները |
M.CA.CDE.00264 |
cacdo:FEConsignmentDetailsType (M.CA.CDT.00239) Որոշվում է ներդրված տարրերի արժեքների տիրույթներով |
1 |
|
3.1. Մաքսային փաստաթղթի գրանցման համարը (cacdo:CustomsDeclarationIdDetails) |
ապրանքների հայտարարագրի գրանցման համարը |
M.CA.CDE.00291 |
cacdo:CustomsDocumentIdDetailsType (M.CA.CDT.00258) Որոշվում է ներդրված տարրերի արժեքների տիրույթներով |
1 |
|
3.1.1. Մաքսային մարմնի ծածկագիրը (csdo:CustomsOfficeCode) |
մաքսային մարմնի ծածկագրային նշագիրը |
M.SDE.00255 |
csdo:CustomsOfficeCodeType M.SDT.00184 Ծածկագրի արժեքը՝ Եվրասիական տնտեսական միության անդամ պետությունների մաքսային մարմինների դասակարգչին համապատասխան։ Ձևանմուշը՝ [0-9]{2}|[0-9]{5}|[0-9]{8} |
1 |
|
3.1.2. Փաստաթղթի ամսաթիվը (csdo:DocCreationDate) |
փաստաթղթի գրանցման ամսաթիվը |
M.SDE.00045 |
bdt:DateType (M.BDT.00005) Ամսաթվի նշագիրը՝ ԳՕՍՏ ԻՍՕ 8601-2001-ին համապատասխան |
1 |
|
3.1.3. Մաքսային փաստաթղթի համարը՝ ըստ գրանցամատյանի (casdo:CustomsDocumentId) |
մաքսային փաստաթղթի համարը՝ ըստ գրանցամատյանի |
M.CA.SDE.00478 |
casdo:CustomsDocumentIdType (M.CA.SDT.00118) Պայմանանշանների նորմալացված տողը: Նվազագույն երկարությունը՝ 5։ Առավելագույն երկարությունը՝ 7 |
1 |
|
3.2. Մաքսային մարմինը (ccdo:CustomsOfficeDetails) |
ապրանքի բացթողումն իրականացնող մաքսային մարմինը |
M.CDE.00102 |
ccdo:CustomsOfficeDetailsType (M.CDT.00104) Որոշվում է ներդրված տարրերի արժեքների տիրույթներով |
1 |
|
3.2.1. Մաքսային մարմնի ծածկագիրը (csdo:CustomsOfficeCode) |
մաքսային մարմնի ծածկագրային նշագիրը |
M.SDE.00255 |
csdo:CustomsOfficeCodeType (M.SDT.00184) Ծածկագրի արժեքը՝ Եվրասիական տնտեսական միության անդամ պետությունների մաքսային մարմինների դասակարգչին համապատասխան։ Ձևանմուշը՝ [0-9]{2}|[0-9]{5}|[0-9]{8} |
0..1 |
|
3.2.2. Մաքսային մարմնի անվանումը (csdo:CustomsOfficeName) |
մաքսային մարմնի անվանումը |
M.SDE.00300 |
csdo:Name50Type (M.SDT.00204) Պայմանանշանների նորմալացված տողը։ Նվազագույն երկարությունը՝ 1։ Առավելագույն երկարությունը՝ 50 |
0..1 |
|
3.2.3. Երկրի ծածկագիրը (csdo:UnifiedCountryCode) |
երկրի ծածկագրային նշագիրը |
M.SDE.00162 |
csdo:UnifiedCountryCodeType (M.SDT.00112) Երկրի երկտառ ծածկագրի արժեքն այն տեղեկագրքին (դասակարգչին) համապատասխան, որի նույնականացուցիչը սահմանված է «Տեղեկագրքի (դասակարգչի) նույնականացուցիչը» ատրիբուտում։ Ձևանմուշը՝ [A-Z]{2} |
0..1 |
|
ա) Տեղեկագրքի (դասակարգչի) նույնականացուցիչը (codeListId ատրիբուտ) |
այն տեղեկագրքի (դասակարգչի) նշագիրը, որին համապատասխան նշված է ծածկագիրը |
- |
csdo:ReferenceDataIdType (M.SDT.00091) Պայմանանշանների նորմալացված տողը: Նվազագույն երկարությունը՝ 1: Առավելագույն երկարությունը՝ 20 |
1 |
|
3.3. Ուղարկողը (cacdo:ConsignorDetails) |
ուղարկողի մասին տեղեկությունները |
M.CA.CDE.00469 |
cacdo:GoodsShipmentSubjectDetails Type (M.CA.CDT.00416) Որոշվում է ներդրված տարրերի արժեքների տիրույթներով |
0..1 |
|
3.3.1. Երկրի ծածկագիրը (csdo:UnifiedCountryCode) |
սուբյեկտի գրանցման երկրի ծածկագրային նշագիրը |
M.SDE.00162 |
csdo:UnifiedCountryCodeType (M.SDT.00112) Երկրի երկտառ ծածկագրի արժեքն այն տեղեկագրքին (դասակարգչին) համապատասխան, որի նույնականացուցիչը սահմանված է «Տեղեկագրքի (դասակարգչի) նույնականացուցիչը» ատրիբուտում։ Ձևանմուշը՝ [A-Z]{2} |
0..1 |
|
ա) Տեղեկագրքի (դասակարգչի) նույնականացուցիչը (codeListId ատրիբուտ) |
այն տեղեկագրքի (դասակարգչի) նշագիրը, որին համապատասխան նշված է ծածկագիրը |
- |
csdo:ReferenceDataIdType (M.SDT.00091) Պայմանանշանների նորմալացված տողը: Նվազագույն երկարությունը՝ 1։ Առավելագույն երկարությունը՝ 20 |
1 |
|
3.3.2. Սուբյեկտի անվանումը (csdo:SubjectName) |
տնտեսավարող սուբյեկտի լրիվ անվանումը կամ ֆիզիկական անձի ազգանունը, անունը և հայրանունը |
M.SDE.00224 |
csdo:Name300Type (M.SDT.00056) Պայմանանշանների նորմալացված տողը։ Նվազագույն երկարությունը՝ 1։ Առավելագույն երկարությունը՝ 300 |
0..1 |
|
3.3.3. Սուբյեկտի կրճատ անվանումը (csdo:SubjectBriefName) |
տնտեսավարող սուբյեկտի համառոտ անվանումը կամ ֆիզիկական անձի ազգանունը, անունը և հայրանունը |
M.SDE.00225 |
csdo:Name120Type (M.SDT.00055) Պայմանանշանների նորմալացված տողը: Նվազագույն երկարությունը՝ 1: Առավելագույն երկարությունը՝ 120 |
0..1 |
|
3.3.4. Կազմակերպաիրավական ձևի ծածկագիրը (csdo:BusinessEntityTypeCode) |
այն կազմակերպաիրավական ձևի ծածկագրային նշագիրը, որով գրանցված է տնտեսավարող սուբյեկտը |
M.SDE.00023 |
csdo:UnifiedCode20Type (M.SDT.00140) Ծածկագրի արժեքն այն տեղեկագրքին (դասակարգչին) համապատասխան, որի նույնականացուցիչը սահմանված է «Տեղեկագրքի (դասակարգչի) նույնականացուցիչը» ատրիբուտում։ Նվազագույն երկարությունը՝ 1: Առավելագույն երկարությունը՝ 20 |
0..1 |
|
ա) Տեղեկագրքի (դասակարգչի) նույնականացուցիչը (codeListId ատրիբուտ) |
այն տեղեկագրքի (դասակարգչի) նշագիրը, որին համապատասխան նշված է ծածկագիրը |
- |
csdo:ReferenceDataIdType (M.SDT.00091) Պայմանանշանների նորմալացված տողը: Նվազագույն երկարությունը՝ 1։ Առավելագույն երկարությունը՝ 20 |
1 |
|
3.3.5. Կազմակերպաիրավական ձևի անվանումը (csdo:BusinessEntityTypeName) |
այն կազմակերպաիրավական ձևի անվանումը, որով գրանցված է տնտեսավարող սուբյեկտը |
M.SDE.00090 |
csdo:Name300Type (M.SDT.00056) Պայմանանշանների նորմալացված տողը։ Նվազագույն երկարությունը՝ 1։ Առավելագույն երկարությունը՝ 300 |
0..1 |
|
3.3.6. Տնտեսավարող սուբյեկտի նույնականացուցիչը (csdo:BusinessEntityId) |
պետական գրանցման ժամանակ ըստ ռեեստրի (ռեգիստրի) տրված գրառման համարը (ծածկագիրը) |
M.SDE.00189 |
csdo:BusinessEntityIdType (M.SDT.00157) Պայմանանշանների նորմալացված տողը: Նվազագույն երկարությունը՝ 1: Առավելագույն երկարությունը՝ 20 |
0..1 |
|
ա) նույնականացման մեթոդը (kindId ատրիբուտ) |
տնտեսավարող սուբյեկտների նույնականացման մեթոդը |
- |
csdo:BusinessEntityIdKindIdType (M.SDT.00158) Տնտեսավարող սուբյեկտների նույնականացման մեթոդների տեղեկագրքից նույնականացուցչի արժեքը։ Նվազագույն երկարությունը՝ 1: Առավելագույն երկարությունը՝ 20 |
1 |
|
3.3.7. Նույնականացման եզակի մաքսային համարը (casdo:CAUniqueCustomsNumberId) |
նույնականացման (նույնականացման եզակի) մաքսային համարի մասին տեղեկությունները |
M.CA.SDE.00626 |
casdo:CAUniqueCustomsNumberIdType (M.CA.SDT.00188) Պայմանանշանների նորմալացված տողը: Նվազագույն երկարությունը՝ 1: Առավելագույն երկարությունը՝ 40 |
0..1 |
|
ա) Երկրի ծածկագիրը (countryCode ատրիբուտ) |
այն երկրի ծածկագրային նշագիրը, որի կանոններով ձևավորվել է նշված նույնականացման համարը |
- |
csdo:UnqualifiedCountryCodeType (M.SDT.00159) Երկրի երկտառ ծածկագրի արժեքն այն տեղեկագրքին (դասակարգչին) համապատասխան, որի նույնականացուցիչը սահմանված է «Տեղեկագրքի (դասակարգչի) նույնականացուցիչը» ատրիբուտում։ Ձևանմուշը՝ [A-Z]{2} |
0..1 |
|
բ) Տեղեկագրքի (դասակարգչի) նույնականացուցիչը (countryCodeListId ատրիբուտ) |
աշխարհի երկրների դասակարգչի նույնականացուցիչը |
- |
csdo:ReferenceDataIdType (M.SDT.00091) Պայմանանշանների նորմալացված տողը: Նվազագույն երկարությունը՝ 1։ Առավելագույն երկարությունը՝ 20 |
0..1 |
|
3.3.8. Հարկ վճարողի նույնականացուցիչը (csdo:TaxpayerId) |
սուբյեկտի նույնականացուցիչը հարկ վճարողի գրանցման երկրի հարկ վճարողների ռեեստրում |
M.SDE.00025 |
csdo:TaxpayerIdType (M.SDT.00025) Նույնականացուցչի արժեքը՝ հարկ վճարողի գրանցման երկրում ընդունված կանոններին համապատասխան։ Նվազագույն երկարությունը՝ 1։ Առավելագույն երկարությունը՝ 20 |
0..1 |
|
3.3.9. Հաշվառման վերցնելու պատճառի ծածկագիրը (csdo:TaxRegistrationReasonCode) |
Ռուսաստանի Դաշնությունում սուբյեկտին հարկային հաշվառման վերցնելու պատճառը նույնականացնող ծածկագիրը |
M.SDE.00030 |
csdo:TaxRegistrationReasonCodeType (M.SDT.00030) Պայմանանշանների նորմալացված տողը: Ձևանմուշը՝ \d{9} |
0..1 |
|
3.3.10. Ֆիզիկական անձի նույնականացուցիչը (casdo:PersonId) |
ֆիզիկական անձի եզակի նույնականացուցիչը |
M.CA.SDE.00129 |
casdo:PersonIdType (M.CA.SDT.00190) Նույնականացուցչի արժեքը՝ ֆիզիկական անձի գրանցման երկրում ընդունված կանոններին համապատասխան։ Նվազագույն երկարությունը՝ 1։ Առավելագույն երկարությունը՝ 20 |
0..1 |
|
3.3.11. Անձը հաստատող վկայականը (ccdo:IdentityDocV3Details) |
ֆիզիկական անձի՝ անձը հաստատող փաստաթղթի մասին տեղեկությունները |
M.CDE.00056 |
ccdo:IdentityDocDetailsV3Type (M.CDT.00062) Որոշվում է ներդրված տարրերի արժեքների տիրույթներով |
0..1 |
|
*.1. Երկրի ծածկագիրը (csdo:UnifiedCountryCode) |
երկրի ծածկագրային նշագիրը |
M.SDE.00162 |
csdo:UnifiedCountryCodeType (M.SDT.00112) Երկրի երկտառ ծածկագրի արժեքն այն տեղեկագրքին (դասակարգչին) համապատասխան, որի նույնականացուցիչը սահմանված է «Տեղեկագրքի (դասակարգչի) նույնականացուցիչը» ատրիբուտում։ Ձևանմուշը՝ [A-Z]{2} |
1 |
|
ա) տեղեկագրքի (դասակարգչի) նույնականացուցիչը (codeListId ատրիբուտ) |
այն տեղեկագրքի (դասակարգչի) նշագիրը, որին համապատասխան նշված է ծածկագիրը |
- |
csdo:ReferenceDataIdType (M.SDT.00091) Պայմանանշանների նորմալացված տողը: Նվազագույն երկարությունը՝ 1։ Առավելագույն երկարությունը՝ 20 |
1 |
|
*.2. Անձը հաստատող փաստաթղթի տեսակի ծածկագիրը (csdo:IdentityDocKindCode) |
անձը հաստատող փաստաթղթի տեսակի ծածկագրային նշագիրը |
M.SDE.00136 |
csdo:IdentityDocKindCodeType (M.SDT.00098) Պայմանանշանների նորմալացված տողը: Նվազագույն երկարությունը՝ 1։ Առավելագույն երկարությունը՝ 20 |
0..1 |
|
ա) տեղեկագրքի (դասակարգչի) նույնականացուցիչը (codeListId ատրիբուտ) |
այն տեղեկագրքի (դասակարգչի) նշագիրը, որին համապատասխան նշված է ծածկագիրը |
- |
csdo:ReferenceDataIdType (M.SDT.00091) Պայմանանշանների նորմալացված տողը: Նվազագույն երկարությունը՝ 1։ Առավելագույն երկարությունը՝ 20 |
0..1 |
|
*.3. Փաստաթղթի տեսակի անվանումը (csdo:DocKindName) |
փաստաթղթի տեսակի անվանումը |
M.SDE.00095 |
csdo:Name500Type (M.SDT.00134) Պայմանանշանների նորմալացված տողը։ Նվազագույն երկարությունը՝ 1։ Առավելագույն երկարությունը՝ 500 |
0..1 |
|
*.4. Փաստաթղթի սերիան (csdo:DocSeriesId) |
փաստաթղթի սերիայի թվային կամ տառաթվային նշագիրը |
M.SDE.00157 |
csdo:Id20Type (M.SDT.00092) Պայմանանշանների նորմալացված տողը։ Նվազագույն երկարությունը՝ 1։ Առավելագույն երկարությունը՝ 20 |
0..1 |
|
*.5. Փաստաթղթի համարը (csdo:DocId) |
փաստաթղթի գրանցման ժամանակ դրան տրված թվային կամ տառաթվային նշագիրը |
M.SDE.00044 |
csdo:Id50Type (M.SDT.00093) Պայմանանշանների նորմալացված տողը։ Նվազագույն երկարությունը՝ 1։ Առավելագույն երկարությունը՝ 50 |
1 |
|
*.6. Փաստաթղթի ամսաթիվը (csdo:DocCreationDate) |
փաստաթղթի տրման, ստորագրման, հաստատման կամ գրանցման ամսաթիվը |
M.SDE.00045 |
bdt:DateType (M.BDT.00005) Ամսաթվի նշագիրը՝ ԳՕՍՏ ԻՍՕ 8601-2001-ին համապատասխան |
0..1 |
|
*.7. Փաստաթղթի գործողության ժամկետը լրանալու ամսաթիվը (csdo:DocValidityDate) |
այն ժամկետի ավարտի ամսաթիվը, որի ընթացքում փաստաթուղթն ուժի մեջ է |
M.SDE.00052 |
bdt:DateType (M.BDT.00005) Ամսաթվի նշագիրը՝ ԳՕՍՏ ԻՍՕ 8601-2001-ին համապատասխան |
0..1 |
|
*.8. Լիազորված մարմնի նույնականացուցիչը (csdo:AuthorityId) |
անդամ պետության պետական իշխանության մարմինը կամ դրա կողմից լիազորված՝ փաստաթուղթը տրամադրած կազմակերպությունը նույնականացնող տողը |
M.SDE.00068 |
csdo:Id20Type (M.SDT.00092) Պայմանանշանների նորմալացված տողը։ Նվազագույն երկարությունը՝ 1։ Առավելագույն երկարությունը՝ 20 |
0..1 |
|
*.9. Լիազորված մարմնի անվանումը (csdo:AuthorityName) |
փաստաթուղթը տրամադրած՝ պետական իշխանության մարմնի կամ դրա կողմից լիազորված կազմակերպության լրիվ անվանումը |
M.SDE.00066 |
csdo:Name300Type (M.SDT.00056) Պայմանանշանների նորմալացված տողը։ Նվազագույն երկարությունը՝ 1։ Առավելագույն երկարությունը՝ 300 |
0..1 |
|
3.3.12. Հասցեն (ccdo:SubjectAddressDetails) |
հասցեն |
M.CDE.00058 |
ccdo:SubjectAddressDetailsType (M.CDT.00064) Որոշվում է ներդրված տարրերի արժեքների տիրույթներով |
0..* |
|
*.1. Հասցեի տեսակի ծածկագիրը (csdo:AddressKindCode) |
հասցեի տեսակի ծածկագրային նշագիրը |
M.SDE.00192 |
csdo:AddressKindCodeType (M.SDT.00162) Ծածկագրի արժեքը՝ հասցեների տեսակների տեղեկագրքին համապատասխան։ Նվազագույն երկարությունը՝ 1։ Առավելագույն երկարությունը՝ 20 |
0..1 |
|
*.2. Երկրի ծածկագիրը (csdo:UnifiedCountryCode) |
երկրի ծածկագրային նշագիրը |
M.SDE.00162 |
csdo:UnifiedCountryCodeType (M.SDT.00112) Երկրի երկտառ ծածկագրի արժեքն այն տեղեկագրքին (դասակարգչին) համապատասխան, որի նույնականացուցիչը սահմանված է «Տեղեկագրքի (դասակարգչի) նույնականացուցիչը» ատրիբուտում։ Ձևանմուշը՝ [A-Z]{2} |
0..1 |
|
ա) տեղեկագրքի (դասակարգչի) նույնականացուցիչը (codeListId ատրիբուտ) |
այն տեղեկագրքի (դասակարգչի) նշագիրը, որին համապատասխան նշված է ծածկագիրը |
- |
csdo:ReferenceDataIdType (M.SDT.00091) Պայմանանշանների նորմալացված տողը: Նվազագույն երկարությունը՝ 1։ Առավելագույն երկարությունը՝ 20 |
1 |
|
*.3. Տարածքի ծածկագիրը (csdo:TerritoryCode) |
վարչատարածքային բաժանման միավորի ծածկագիրը |
M.SDE.00031 |
csdo:TerritoryCodeType (M.SDT.00031) Պայմանանշանների նորմալացված տողը: Նվազագույն երկարությունը՝ 1։ Առավելագույն երկարությունը՝ 17 |
0..1 |
|
*.4. Տարածաշրջանը (csdo:RegionName) |
առաջին մակարդակի վարչատարածքային բաժանման միավորի անվանումը |
M.SDE.00007 |
csdo:Name120Type (M.SDT.00055) Պայմանանշանների նորմալացված տողը։ Նվազագույն երկարությունը՝ 1։ Առավելագույն երկարությունը՝ 120 |
0..1 |
|
*.5. Շրջանը (csdo:DistrictName) |
երկրորդ մակարդակի վարչատարածքային բաժանման միավորի անվանումը |
M.SDE.00008 |
csdo:Name120Type (M.SDT.00055) Պայմանանշանների նորմալացված տողը։ Նվազագույն երկարությունը՝ 1։ Առավելագույն երկարությունը՝ 120 |
0..1 |
|
*.6. Քաղաքը (csdo:CityName) |
քաղաքի անվանումը |
M.SDE.00009 |
csdo:Name120Type (M.SDT.00055) Պայմանանշանների նորմալացված տողը։ Նվազագույն երկարությունը՝ 1։ Առավելագույն երկարությունը՝ 120 |
0..1 |
|
*.7. Բնակավայրը (csdo:SettlementName) |
բնակավայրի անվանումը |
M.SDE.00057 |
csdo:Name120Type (M.SDT.00055) Պայմանանշանների նորմալացված տողը։ Նվազագույն երկարությունը՝ 1։ Առավելագույն երկարությունը՝ 120 |
0..1 |
|
*.8. Փողոցը (csdo:StreetName) |
քաղաքային ենթակառուցվածքի փողոցաճանապարհային ցանցի տարրի անվանումը |
M.SDE.00010 |
csdo:Name120Type (M.SDT.00055) Պայմանանշանների նորմալացված տողը։ Նվազագույն երկարությունը՝ 1։ Առավելագույն երկարությունը՝ 120 |
0..1 |
|
*.9. Շենքի համարը (csdo:BuildingNumberId) |
շենքի, մասնաշենքի, շինության նշագիրը |
M.SDE.00011 |
csdo:Id50Type (M.SDT.00093) Պայմանանշանների նորմալացված տողը։ Նվազագույն երկարությունը՝ 1։ Առավելագույն երկարությունը՝ 50 |
0..1 |
|
*.10. Սենքի համարը (csdo:RoomNumberId) |
գրասենյակի կամ բնակարանի նշագիրը |
M.SDE.00012 |
csdo:Id20Type (M.SDT.00092) Պայմանանշանների նորմալացված տողը։ Նվազագույն երկարությունը՝ 1։ Առավելագույն երկարությունը՝ 20 |
0..1 |
|
*.11. Փոստային դասիչը (csdo:PostCode) |
փոստային կապի ձեռնարկության փոստային դասիչը |
M.SDE.00006 |
csdo:PostCodeType (M.SDT.00006) Պայմանանշանների նորմալացված տողը։ Ձևանմուշը՝ [A-Z0-9][A-Z0-9-]{1,8}[A- Z0-9] |
0..1 |
|
*.12. Բաժանորդային արկղի համարը (csdo:PostOfficeBoxId) |
փոստային կապի ձեռնարկությունում բաժանորդային արկղի համարը |
M.SDE.00013 |
csdo:Id20Type (M.SDT.00092) Պայմանանշանների նորմալացված տողը։ Նվազագույն երկարությունը՝ 1։ Առավելագույն երկարությունը՝ 20 |
0..1 |
|
3.3.13. Կոնտակտային վավերապայմանը (ccdo:CommunicationDetails) |
սուբյեկտի կոնտակտային վավերապայմանը |
M.CDE.00003 |
ccdo:CommunicationDetailsType (M.CDT.00003) Որոշվում է ներդրված տարրերի արժեքների տիրույթներով |
0..* |
|
*.1. Կապի տեսակի ծածկագիրը (csdo:CommunicationChannelCode) |
կապի միջոցի (կապուղու) տեսակի (հեռախոս, ֆաքս, էլեկտրոնային փոստ և այլն) ծածկագրային նշագիրը |
M.SDE.00014 |
csdo:CommunicationChannelCodeV2Type (M.SDT.00163) Ծածկագրի արժեքը՝ կապի տեսակների տեղեկագրքին համապատասխան։ Նվազագույն երկարությունը՝ 1։ Առավելագույն երկարությունը՝ 20 |
0..1 |
|
*.2. Կապի տեսակի անվանումը (csdo:CommunicationChannelName) |
կապի միջոցի (կապուղու) տեսակի (հեռախոս, ֆաքս, էլեկտրոնային փոստ և այլն) անվանումը |
M.SDE.00093 |
csdo:Name120Type (M.SDT.00055) Պայմանանշանների նորմալացված տողը։ Նվազագույն երկարությունը՝ 1։ Առավելագույն երկարությունը՝ 120 |
0..1 |
|
*.3. Կապուղու նույնականացուցիչը (csdo:CommunicationChannelId) |
կապուղին նույնականացնող պայմանանշանների հաջորդականությունը (հեռախոսահամարի, ֆաքսի համարի, էլեկտրոնային փոստի հասցեի և այլնի նշում) |
M.SDE.00015 |
csdo:CommunicationChannelIdType (M.SDT.00015) Պայմանանշանների նորմալացված տողը: Նվազագույն երկարությունը՝ 1։ Առավելագույն երկարությունը՝ 1000 |
1..* |
|
3.3.14. Առանձնացված ստորաբաժանումը (cacdo:SubjectBranchDetails) |
առանձնացված ստորաբաժանման մասին տեղեկությունները |
M.CA.CDE.00465 |
cacdo:CAOrganizationType (M.CA.CDT.00298) Որոշվում է ներդրված տարրերի արժեքների տիրույթներով |
0..1 |
|
*.1. Երկրի ծածկագիրը (csdo:UnifiedCountryCode) |
սուբյեկտի գրանցման երկրի ծածկագրային նշագիրը |
M.SDE.00162 |
csdo:UnifiedCountryCodeType (M.SDT.00112) Երկրի երկտառ ծածկագրի արժեքն այն տեղեկագրքին (դասակարգչին) համապատասխան, որի նույնականացուցիչը սահմանված է «Տեղեկագրքի (դասակարգչի) նույնականացուցիչը» ատրիբուտում։ Ձևանմուշը՝ [A-Z]{2} |
0..1 |
|
ա) տեղեկագրքի (դասակարգչի) նույնականացուցիչը (codeListId ատրիբուտ) |
այն տեղեկագրքի (դասակարգչի) նշագիրը, որին համապատասխան նշված է ծածկագիրը |
- |
csdo:ReferenceDataIdType (M.SDT.00091) Պայմանանշանների նորմալացված տողը: Նվազագույն երկարությունը՝ 1։ Առավելագույն երկարությունը՝ 20 |
1 |
|
*.2. Սուբյեկտի անվանումը (csdo:SubjectName) |
տնտեսավարող սուբյեկտի լրիվ անվանումը կամ ֆիզիկական անձի ազգանունը, անունը և հայրանունը |
M.SDE.00224 |
csdo:Name300Type (M.SDT.00056) Պայմանանշանների նորմալացված տողը։ Նվազագույն երկարությունը՝ 1։ Առավելագույն երկարությունը՝ 300 |
0..1 |
|
*.3. Սուբյեկտի կրճատ անվանումը (csdo:SubjectBriefName) |
տնտեսավարող սուբյեկտի համառոտ անվանումը կամ ֆիզիկական անձի ազգանունը, անունը և հայրանունը |
M.SDE.00225 |
csdo:Name120Type (M.SDT.00055) Պայմանանշանների նորմալացված տողը։ Նվազագույն երկարությունը՝ 1։ Առավելագույն երկարությունը՝ 120 |
0..1 |
|
*.4. Կազմակերպաիրավական ձևի ծածկագիրը (csdo:BusinessEntityTypeCode) |
այն կազմակերպաիրավական ձևի ծածկագրային նշագիրը, որով գրանցված է տնտեսավարող սուբյեկտը |
M.SDE.00023 |
csdo:UnifiedCode20Type (M.SDT.00140) Ծածկագրի արժեքն այն տեղեկագրքին (դասակարգչին) համապատասխան, որի նույնականացուցիչը սահմանված է «Տեղեկագրքի (դասակարգչի) նույնականացուցիչը» ատրիբուտում։ Նվազագույն երկարությունը՝ 1։ Առավելագույն երկարությունը՝ 20 |
0..1 |
|
ա) տեղեկագրքի (դասակարգչի) նույնականացուցիչը (codeListId ատրիբուտ) |
այն տեղեկագրքի (դասակարգչի) նշագիրը, որին համապատասխան նշված է ծածկագիրը |
- |
csdo:ReferenceDataIdType (M.SDT.00091) Պայմանանշանների նորմալացված տողը: Նվազագույն երկարությունը՝ 1։ Առավելագույն երկարությունը՝ 20 |
1 |
|
*.5. Կազմակերպաիրավական ձևի անվանումը (csdo:BusinessEntityTypeName) |
այն կազմակերպաիրավական ձևի անվանումը, որով գրանցված է տնտեսավարող սուբյեկտը |
M.SDE.00090 |
csdo:Name300Type (M.SDT.00056) Պայմանանշանների նորմալացված տողը։ Նվազագույն երկարությունը՝ 1։ Առավելագույն երկարությունը՝ 300 |
0..1 |
|
*.6. Տնտեսավարող սուբյեկտի նույնականացուցիչը (csdo:BusinessEntityId) |
պետական գրանցման ժամանակ ըստ ռեեստրի (ռեգիստրի) տրված գրառման համարը (ծածկագիրը) |
M.SDE.00189 |
csdo:BusinessEntityIdType (M.SDT.00157) Պայմանանշանների նորմալացված տողը: Նվազագույն երկարությունը՝ 1։ Առավելագույն երկարությունը՝ 20 |
0..1 |
|
ա) նույնականացման մեթոդը (kindId ատրիբուտ) |
տնտեսավարող սուբյեկտների նույնականացման մեթոդը |
- |
csdo:BusinessEntityIdKindIdType (M.SDT.00158) Տնտեսավարող սուբյեկտների նույնականացման մեթոդների տեղեկագրքից նույնականացուցչի արժեքը։ Նվազագույն երկարությունը՝ 1։ Առավելագույն երկարությունը՝ 20 |
1 |
|
*.7. Նույնականացման եզակի մաքսային համարը (casdo:CAUniqueCustomsNumberId) |
նույնականացման (նույնականացման եզակի) մաքսային համարի մասին տեղեկությունները |
M.CA.SDE.00626 |
casdo:CAUniqueCustomsNumberIdType (M.CA.SDT.00188) Պայմանանշանների նորմալացված տողը։ Նվազագույն երկարությունը՝ 1։ Առավելագույն երկարությունը՝ 40 |
0..1 |
|
ա) Երկրի ծածկագիրը (countryCode ատրիբուտ) |
այն երկրի ծածկագրային նշագիրը, որի կանոններով ձևավորվել է նշված նույնականացման համարը |
- |
csdo:UnqualifiedCountryCodeType (M.SDT.00159) Երկրի երկտառ ծածկագրի արժեքն այն տեղեկագրքին (դասակարգչին) համապատասխան, որի նույնականացուցիչը սահմանված է «Տեղեկագրքի (դասակարգչի) նույնականացուցիչը» ատրիբուտում։ Ձևանմուշը՝ [A-Z]{2} |
0..1 |
|
բ) տեղեկագրքի (դասակարգչի) նույնականացուցիչը (countryCodeListId ատրիբուտ) |
աշխարհի երկրների դասակարգչի նույնականացուցիչը |
- |
csdo:ReferenceDataIdType (M.SDT.00091) Պայմանանշանների նորմալացված տողը: Նվազագույն երկարությունը՝ 1։ Առավելագույն երկարությունը՝ 20 |
0..1 |
|
*.8. Հարկ վճարողի նույնականացուցիչը (csdo:TaxpayerId) |
սուբյեկտի նույնականացուցիչը հարկ վճարողի գրանցման երկրի հարկ վճարողների ռեեստրում |
M.SDE.00025 |
csdo:TaxpayerIdType (M.SDT.00025) Նույնականացուցչի արժեքը՝ հարկ վճարողի գրանցման երկրում ընդունված կանոններին համապատասխան։ Նվազագույն երկարությունը՝ 1։ Առավելագույն երկարությունը՝ 20 |
0..1 |
|
*.9. Հաշվառման վերցնելու պատճառի ծածկագիրը (csdo:TaxRegistrationReasonCode) |
Ռուսաստանի Դաշնությունում սուբյեկտին հարկային հաշվառման վերցնելու պատճառը նույնականացնող ծածկագիրը |
M.SDE.00030 |
csdo:TaxRegistrationReasonCodeType (M.SDT.00030) Պայմանանշանների նորմալացված տողը: Ձևանմուշը՝ \d{9} |
0..1 |
|
*.10. Հասցեն (ccdo:SubjectAddressDetails) |
հասցեն |
M.CDE.00058 |
ccdo:SubjectAddressDetailsType (M.CDT.00064) Որոշվում է ներդրված տարրերի արժեքների տիրույթներով |
0..1 |
|
*.10.1. Հասցեի տեսակի ծածկագիրը (csdo:AddressKindCode) |
հասցեի տեսակի ծածկագրային նշագիրը |
M.SDE.00192 |
csdo:AddressKindCodeType (M.SDT.00162) Ծածկագրի արժեքը՝ հասցեների տեսակների տեղեկագրքին համապատասխան։ Նվազագույն երկարությունը՝ 1։ Առավելագույն երկարությունը՝ 20 |
0..1 |
|
*.10.2. Երկրի ծածկագիրը (csdo:UnifiedCountryCode) |
երկրի ծածկագրային նշագիրը |
M.SDE.00162 |
csdo:UnifiedCountryCodeType (M.SDT.00112) Երկրի երկտառ ծածկագրի արժեքն այն տեղեկագրքին (դասակարգչին) համապատասխան, որի նույնականացուցիչը սահմանված է «Տեղեկագրքի (դասակարգչի) նույնականացուցիչը» ատրիբուտում։ Ձևանմուշը՝ [A-Z]{2} |
0..1 |
|
ա) տեղեկագրքի (դասակարգչի) նույնականացուցիչը (codeListId ատրիբուտ) |
այն տեղեկագրքի (դասակարգչի) նշագիրը, որին համապատասխան նշված է ծածկագիրը |
- |
csdo:ReferenceDataIdType (M.SDT.00091) Պայմանանշանների նորմալացված տողը: Նվազագույն երկարությունը՝ 1։ Առավելագույն երկարությունը՝ 20 |
1 |
|
*.10.3. Տարածքի ծածկագիրը (csdo:TerritoryCode) |
վարչատարածքային բաժանման միավորի ծածկագիրը |
M.SDE.00031 |
csdo:TerritoryCodeType (M.SDT.00031) Պայմանանշանների նորմալացված տողը: Նվազագույն երկարությունը՝ 1։ Առավելագույն երկարությունը՝ 17 |
0..1 |
|
*.10.4. Տարածաշրջանը (csdo:RegionName) |
առաջին մակարդակի վարչատարածքային բաժանման միավորի անվանումը |
M.SDE.00007 |
csdo:Name120Type (M.SDT.00055) Պայմանանշանների նորմալացված տողը։ Նվազագույն երկարությունը՝ 1։ Առավելագույն երկարությունը՝ 120 |
0..1 |
|
*.10.5. Շրջանը (csdo:DistrictName) |
երկրորդ մակարդակի վարչատարածքային բաժանման միավորի անվանումը |
M.SDE.00008 |
csdo:Name120Type (M.SDT.00055) Պայմանանշանների նորմալացված տողը։ Նվազագույն երկարությունը՝ 1։ Առավելագույն երկարությունը՝ 120 |
0..1 |
|
*.10.6. Քաղաքը (csdo:CityName) |
քաղաքի անվանումը |
M.SDE.00009 |
csdo:Name120Type (M.SDT.00055) Պայմանանշանների նորմալացված տողը։ Նվազագույն երկարությունը՝ 1։ Առավելագույն երկարությունը՝ 120 |
0..1 |
|
*.10.7. Բնակավայրը (csdo:SettlementName) |
բնակավայրի անվանումը |
M.SDE.00057 |
csdo:Name120Type (M.SDT.00055) Պայմանանշանների նորմալացված տողը։ Նվազագույն երկարությունը՝ 1։ Առավելագույն երկարությունը՝ 120 |
0..1 |
|
*.10.8. Փողոցը (csdo:StreetName) |
քաղաքային ենթակառուցվածքի փողոցաճանապարհային ցանցի տարրի անվանումը |
M.SDE.00010 |
csdo:Name120Type (M.SDT.00055) Պայմանանշանների նորմալացված տողը։ Նվազագույն երկարությունը՝ 1։ Առավելագույն երկարությունը՝ 120 |
0..1 |
|
*.10.9. Շենքի համարը (csdo:BuildingNumberId) |
շենքի, մասնաշենքի, շինության նշագիրը |
M.SDE.00011 |
csdo:Id50Type (M.SDT.00093) Պայմանանշանների նորմալացված տողը։ Նվազագույն երկարությունը՝ 1։ Առավելագույն երկարությունը՝ 50 |
0..1 |
|
*.10.10. Սենքի համարը (csdo:RoomNumberId) |
գրասենյակի կամ բնակարանի նշագիրը |
M.SDE.00012 |
csdo:Id20Type (M.SDT.00092) Պայմանանշանների նորմալացված տողը։ Նվազագույն երկարությունը՝ 1։ Առավելագույն երկարությունը՝ 20 |
0..1 |
|
*.10.11. Փոստային դասիչը (csdo:PostCode) |
փոստային կապի ձեռնարկության փոստային դասիչը |
M.SDE.00006 |
csdo:PostCodeType (M.SDT.00006) Պայմանանշանների նորմալացված տողը։ Ձևանմուշը՝ [A-Z0-9][A-Z0-9-]{1,8}[A- Z0-9] |
0..1 |
|
*.10.12. Բաժանորդային արկղի համարը (csdo:PostOfficeBoxId) |
փոստային կապի ձեռնարկությունում բաժանորդային արկղի համարը |
M.SDE.00013 |
csdo:Id20Type (M.SDT.00092) Պայմանանշանների նորմալացված տողը։ Նվազագույն երկարությունը՝ 1։ Առավելագույն երկարությունը՝ 20 |
0..1 |
|
*.11. Կոնտակտային վավերապայմանը (ccdo:CommunicationDetails) |
կոնտակտային վավերապայմանը՝ կապի միջոցի (կապուղու) եղանակի և նույնականացուցչի նշմամբ |
M.CDE.00003 |
ccdo:CommunicationDetailsType (M.CDT.00003) Որոշվում է ներդրված տարրերի արժեքների տիրույթներով |
0..* |
|
*.11.1. Կապի տեսակի ծածկագիրը (csdo:CommunicationChannelCode) |
կապի միջոցի (կապուղու) տեսակի (հեռախոս, ֆաքս, էլեկտրոնային փոստ և այլն) ծածկագրային նշագիրը |
M.SDE.00014 |
csdo:CommunicationChannelCodeV2Type (M.SDT.00163) Ծածկագրի արժեքը՝ կապի տեսակների տեղեկագրքին համապատասխան։ Նվազագույն երկարությունը՝ 1։ Առավելագույն երկարությունը՝ 20 |
0..1 |
|
*.11.2. Կապի տեսակի անվանումը (csdo:CommunicationChannelName) |
կապի միջոցի (կապուղու) տեսակի (հեռախոս, ֆաքս, էլեկտրոնային փոստ և այլն) անվանումը |
M.SDE.00093 |
csdo:Name120Type (M.SDT.00055) Պայմանանշանների նորմալացված տողը։ Նվազագույն երկարությունը՝ 1։ Առավելագույն երկարությունը՝ 120 |
0..1 |
|
*.11.3. Կապուղու նույնականացուցիչը (csdo:CommunicationChannelId) |
կապուղին նույնականացնող պայմանանշանների հաջորդականությունը (հեռախոսահամարի, ֆաքսի համարի, էլեկտրոնային փոստի հասցեի և այլնի նշում) |
M.SDE.00015 |
csdo:CommunicationChannelIdType (M.SDT.00015) Պայմանանշանների նորմալացված տողը: Նվազագույն երկարությունը՝ 1։ Առավելագույն երկարությունը՝ 1000 |
1..* |
|
3.3.15. Տեղեկությունների համընկնման հատկանիշը (casdo:EqualIndicator) |
տեղեկությունների՝ հայտարարատուի (հայտատուի) մասին տեղեկությունների հետ համընկնելու (չհամընկնելու) հատկանիշը |
M.CA.SDE.00616 |
bdt:IndicatorType (M.BDT.00013) Երկու արժեքներից մեկը՝ «true» (ճիշտ է) կամ «false» (սխալ է) |
0..1 |
|
3.3.16. Միջազգային փոստային առաքանիների փոխանակման (հանձնման) հիմնարկության ծածկագիրը (casdo:ExchangePostOfficeCode) |
միջազգային փոստային առաքանիների փոխանակման (հանձնման) հիմնարկության ծածկագրային նշագիրը |
M.CA.SDE.00307 |
csdo:Code6Type (M.SDT.00181) Պայմանանշանների նորմալացված տողը։ Երկարությունը՝ 6 |
0..1 |
|
3.3.17. Նշված տեղեկությունների առանձնահատկության ծածկագիրը (casdo:SubjectAdditionalCode) |
սուբյեկտի վերաբերյալ տեղեկությունների առանձնահատկության ծածկագրային նշագիրը |
M.CA.SDE.00308 |
csdo:Code1Type (M.SDT.00169) Պայմանանշանների նորմալացված տողը։ Երկարությունը՝ 1 |
0..1 |
|
3.4. Նշանակման երկիրը (cacdo:DestinationCountryDetails) |
նշանակման երկրի մասին տեղեկությունները |
M.CA.CDE.00205 |
cacdo:CACountryDetailsType (M.CA.CDT.00079) Որոշվում է ներդրված տարրերի արժեքների տիրույթներով |
0..1 |
|
3.4.41. Երկրի ծածկագիրը (casdo:CACountryCode) |
երկրի ծածկագրային նշագիրը |
M.CA.SDE.00615 |
casdo:CACountryCodeType (M.CA.SDT.00181) Երկրի երկտառ ծածկագրի արժեքն այն տեղեկագրքին (դասակարգչին) համապատասխան, որի նույնականացուցիչը սահմանված է «Տեղեկագրքի (դասակարգչի) նույնականացուցիչը» ատրիբուտում, կամ փաստաթղթի (տեղեկությունների) լրացման կարգը կանոնակարգող նորմատիվ իրավական ակտերով սահմանված ծածկագրի արժեքը։ Ձևանմուշը՝ ([A-Z]{2})|(\d{2}) |
1 |
|
ա) Տեղեկագրքի (դասակարգչի) նույնականացուցիչը (codeListId ատրիբուտ) |
այն տեղեկագրքի (դասակարգչի) նշագիրը, որին համապատասխան նշված է ծածկագիրը |
- |
csdo:ReferenceDataIdType (M.SDT.00091) Պայմանանշանների նորմալացված տողը: Նվազագույն երկարությունը՝ 1։ Առավելագույն երկարությունը՝ 20 |
1 |
|
3.4.2. Երկրի կրճատ անվանումը (casdo:ShortCountryName) |
երկրի կրճատ անվանումը |
M.CA.SDE.00123 |
csdo:Name40Type (M.SDT.00069) Պայմանանշանների նորմալացված տողը։ Նվազագույն երկարությունը՝ 1։ Առավելագույն երկարությունը՝ 40 |
0..1 |
|
3.4.3. Տարածքի ծածկագիրը (csdo:TerritoryCode) |
վարչատարածքային բաժանման միավորի ծածկագրային նշագիրը |
M.SDE.00031 |
csdo:TerritoryCodeType (M.SDT.00031) Պայմանանշանների նորմալացված տողը: Նվազագույն երկարությունը՝ 1։ Առավելագույն երկարությունը՝ 17 |
0..1 |
|
3.5. Մեկնման վայրի մաքսային մարմնի ծածկագիրը (casdo:BorderCustomsOfficeCode) |
մեկնման վայրի մաքսային մարմնի ծածկագիրը |
M.CA.SDE.00257 |
csdo:CustomsOfficeCodeType M.SDT.00184 Ծածկագրի արժեքը՝ Եվրասիական տնտեսական միության անդամ պետությունների մաքսային մարմինների դասակարգչին համապատասխան։ Ձևանմուշը՝ [0-9]{2}|[0-9]{5}|[0-9]{8} |
0..1 |
|
3.6. Արտահանվող ապրանքի մասին տեղեկությունները (cacdo:FEGoodsDetails) |
արտահանվող ապրանքի մասին տեղեկատվություն պարունակող տեղեկությունները |
M.CA.CDE.00360 |
cacdo:FEGoodsDetailsType (M.CA.CDT.00320) Որոշվում է ներդրված տարրերի արժեքների տիրույթներով |
1..* |
|
3.6.1. Ապրանքը (cacdo:FEGoodsInfoDetails) |
փաստացի արտահանման ժամանակ ապրանքի մասին տեղեկությունները |
M.CA.CDE.00261 |
cacdo:FEGoodsInfoDetailsType (M.CA.CDT.00237) Որոշվում է ներդրված տարրերի արժեքների տիրույթներով |
1 |
|
*.1. Ապրանքի հերթական համարը (casdo:ConsignmentItemOrdinal) |
ապրանքի հերթական համարը |
M.CA.SDE.00183 |
csdo:Ordinal3Type (M.SDT.00105) Հաշվարկման տասական համակարգում ոչ բացասական ամբողջ թիվը։ Թվանշանների առավելագույն քանակը՝ 3 |
0..1 |
|
*.2. Ապրանքի ծածկագիրը՝ ըստ ԵԱՏՄ ԱՏԳ ԱԱ-ի (csdo:CommodityCode) |
ապրանքի ծածկագրային նշագիրը՝ ԵԱՏՄ ԱՏԳ ԱԱ-ին համապատասխան |
M.SDE.00091 |
csdo:CommodityCodeType (M.SDT.00065) ԵԱՏՄ ԱՏԳ ԱԱ-ից ծածկագրի արժեքը՝ 2, 4, 6, 8, 9 կամ 10 նիշերի մակարդակով։ Ձևանմուշը՝ \d{2}|\d{4}|\d{6}|\d{8,10} |
0..1 |
|
*.3. Ապրանքի անվանումը (casdo:GoodsDescriptionText) |
ապրանքի նկարագրությունը, ներառյալ՝ ապրանքի առևտրային, ֆիրմային կամ այլ ավանդական անվանումը |
M.CA.SDE.00164 |
csdo:Text250Type (M.SDT.00072) Պայմանանշանների տողը: Նվազագույն երկարությունը՝ 1։ Առավելագույն երկարությունը՝ 250 |
0..4 |
|
*.4. Համաքաշը (csdo:UnifiedGrossMassMeasure) |
ապրանքի քաշը, բրուտտո |
M.SDE.00168 |
csdo:UnifiedPhysicalMeasureType (M.SDT.00122) Թիվը՝ հաշվարկման տասական համակարգում։ Թվանշանների առավելագույն քանակը՝ 24. Կոտորակային թվերի առավելագույն քանակը՝ 6 |
0..1 |
|
ա) չափման միավորը (measurementUnitCode ատրիբուտ) |
չափման միավորի ծածկագրային նշագիրը |
- |
csdo:MeasurementUnitCodeType (M.SDT.00074) Տառաթվային ծածկագիրը: Ձևանմուշը՝ [0-9A-Z]{2,3}|\d{3,4} |
1 |
|
բ) Տեղեկագրքի (դասակարգչի) նույնականացուցիչը (measurementUnitCodeListld ատրիբուտ) |
չափման միավորների դասակարգչի նույնականացուցիչը |
- |
csdo:ReferenceDataIdType (M.SDT.00091) Պայմանանշանների նորմալացված տողը: Նվազագույն երկարությունը՝ 1։ Առավելագույն երկարությունը՝ 20 |
1 |
|
*.5. Զտաքաշը (csdo:UnifiedNetMassMeasure) |
ապրանքի քաշը, նետտո |
M.SDE.00174 |
csdo:UnifiedPhysicalMeasureType (M.SDT.00122) Թիվը՝ հաշվարկման տասական համակարգում։ Թվանշանների առավելագույն քանակը՝ 24. Կոտորակային թվերի առավելագույն քանակը՝ 6 |
0..1 |
|
ա) չափման միավորը (measurementUnitCode ատրիբուտ) |
չափման միավորի ծածկագրային նշագիրը |
- |
csdo:MeasurementUnitCodeType (M.SDT.00074) Տառաթվային ծածկագիրը: Ձևանմուշը՝ [0-9A-Z]{2,3}|\d{3,4} |
1 |
|
բ) տեղեկագրքի (դասակարգչի) նույնականացուցիչը (measurementUnitCodeListIdատրիբուտ) |
չափման միավորների դասակարգչի նույնականացուցիչը |
- |
csdo:ReferenceDataIdType (M.SDT.00091) Պայմանանշանների նորմալացված տողը: Նվազագույն երկարությունը՝ 1։ Առավելագույն երկարությունը՝ 20 |
1 |
|
*.6. Ապրանքի քանակը (cacdo:GoodsMeasureDetails) |
ապրանքի քանակը՝ լրացուցիչ չափման միավորի նշմամբ |
M.CA.CDE.00153 |
cacdo:GoodsMeasureDetailsType (M.CA.CDT.00109) Որոշվում է ներդրված տարրերի արժեքների տիրույթներով |
0..1 |
|
*.6.1. Ապրանքի քանակը՝ չափման միավորի նշմամբ (casdo:GoodsMeasure) |
ապրանքի քանակի մասին տեղեկությունները՝ չափման միավորի նշմամբ |
M.CA.SDE.00215 |
csdo:UnifiedPhysicalMeasureType (M.SDT.00122) Թիվը՝ հաշվարկման տասական համակարգում։ Թվանշանների առավելագույն քանակը՝ 24. Կոտորակային թվերի առավելագույն քանակը՝ 6 |
1 |
|
ա) չափման միավորը (measurementUnitCode ատրիբուտ) |
չափման միավորի ծածկագրային նշագիրը |
- |
csdo:MeasurementUnitCodeType (M.SDT.00074) Տառաթվային ծածկագիրը: Ձևանմուշը՝ [0-9A-Z]{2,3}|\d{3,4} |
1 |
|
բ) տեղեկագրքի (դասակարգչի) նույնականացուցիչը (measurementUnitCodeListId ատրիբուտ) |
չափման միավորների դասակարգչի նույնականացուցիչը |
- |
csdo:ReferenceDataIdType (M.SDT.00091) Պայմանանշանների նորմալացված տողը: Նվազագույն երկարությունը՝ 1։ Առավելագույն երկարությունը՝ 20 |
1 |
|
*.6.2. Չափման միավորի պայմանական նշագիրը (casdo:MeasureUnitAbbreviationCode) |
չափման միավորի պայմանական նշագիրը |
M.CA.SDE.00222 |
casdo:MeasureUnitAbbreviationCodeType (M.CA.SDT.00409) Պայմանանշանների նորմալացված տողը: Նվազագույն երկարությունը՝ 1։ Առավելագույն երկարությունը՝ 50 |
0..1 |
|
*.7. Ապրանքի մնացորդը (casdo:RemainGrossWeightMeasure) |
ըստ քաշի (համաքաշի)՝ ապրանքի մնացորդը |
M.CA.SDE.00455 |
casdo:UnifiedFractionNumber246MeasureType (M.CA.SDT.00822) Չափման որևէ միավորով ֆիզիկական պարամետրերի չափման արդյունքում որոշված թվային արժեքը։ Թվանշանների առավելագույն քանակը՝ 24. Կոտորակային թվերի առավելագույն քանակը՝ 6 |
0..1 |
|
ա) չափման միավորը (measurementUnitCode ատրիբուտ) |
չափման միավորի ծածկագրային նշագիրը |
- |
csdo:MeasurementUnitCodeType (M.SDT.00074) Տառաթվային ծածկագիրը: Ձևանմուշը՝ [0-9A-Z]{2,3}|\d{3,4} |
1 |
|
բ) տեղեկագրքի (դասակարգչի) նույնականացուցիչը (measurementUnitCodeListId ատրիբուտ) |
չափման միավորների դասակարգչի նույնականացուցիչը |
- |
csdo:ReferenceDataIdType (M.SDT.00091) Պայմանանշանների նորմալացված տողը: Նվազագույն երկարությունը՝ 1։ Առավելագույն երկարությունը՝ 20 |
1 |
|
*.8. Ապրանքների մնացորդը՝ լրացուցիչ չափման միավորով (cacdo:RemainGoodsMeasureDetails) |
չափման լրացուցիչ միավորով ապրանքի մնացորդների մասին տեղեկությունները |
M.CA.CDE.00262 |
cacdo:GoodsMeasureDetailsType (M.CA.CDT.00109) Որոշվում է ներդրված տարրերի արժեքների տիրույթներով |
0..1 |
|
*.8.1. Ապրանքի քանակը՝ չափման միավորի նշմամբ (casdo:GoodsMeasure) |
ապրանքի քանակի մասին տեղեկությունները՝ չափման միավորի նշմամբ |
M.CA.SDE.00215 |
csdo:UnifiedPhysicalMeasureType (M.SDT.00122) Թիվը՝ հաշվարկման տասական համակարգում։ Թվանշանների առավելագույն քանակը՝ 24. Կոտորակային թվերի առավելագույն քանակը՝ 6 |
1 |
|
ա) չափման միավորը (measurementUnitCode ատրիբուտ) |
չափման միավորի ծածկագրային նշագիրը |
- |
csdo:MeasurementUnitCodeType (M.SDT.00074) Տառաթվային ծածկագիրը: Ձևանմուշը՝ [0-9A-Z]{2,3}|\d{3,4} |
1 |
|
բ) տեղեկագրքի (դասակարգչի) նույնականացուցիչը (measurementUnitCodeListId ատրիբուտ) |
չափման միավորների դասակարգչի նույնականացուցիչը |
- |
csdo:ReferenceDataIdType (M.SDT.00091) Պայմանանշանների նորմալացված տողը: Նվազագույն երկարությունը՝ 1։ Առավելագույն երկարությունը՝ 20 |
1 |
|
*.8.2. Չափման միավորի պայմանական նշագիրը (casdo:MeasureUnitAbbreviationCode) |
չափման միավորի պայմանական նշագիրը |
M.CA.SDE.00222 |
casdo:MeasureUnitAbbreviationCodeType (M.CA.SDT.00409) Պայմանանշանների նորմալացված տողը: Նվազագույն երկարությունը՝ 1։ Առավելագույն երկարությունը՝ 50 |
0..1 |
|
*.9. Ապրանքի լիակատար արտահանման հատկանիշը (casdo:GoodsFullyExportedIndicator) |
ապրանքի լիակատար արտահանման հատկանիշը |
M.CA.SDE.00851 |
bdt:IndicatorType (M.BDT.00013) Երկու արժեքներից մեկը՝ «true» (ճիշտ է) կամ «false» (սխալ է) |
0..1 |
|
*.10. Մաքսային ընթացակարգի ծածկագիրը (casdo:CustomsProcedureCode) |
մաքսային ընթացակարգի ծածկագրային նշագիրը |
M.CA.SDE.00086 |
casdo:CustomsProcedureCodeType (M.CA.SDT.00043) Մաքսային ընթացակարգի տեսակի ծածկագրի արժեքը՝ տեղեկագրքին (դասակարգչին) համապատասխան, որի նույնականացուցիչը սահմանված է «Տեղեկագրքի (դասակարգչի) նույնականացուցիչը» ատրիբուտում: Երկարությունը՝ 2 |
0..1 |
|
ա) տեղեկագրքի (դասակարգչի) նույնականացուցիչը (codeListId ատրիբուտ) |
այն տեղեկագրքի (դասակարգչի) նշագիրը, որին համապատասխան նշված է ծածկագիրը |
- |
csdo:ReferenceDataIdType (M.SDT.00091) Պայմանանշանների նորմալացված տողը: Նվազագույն երկարությունը՝ 1։ Առավելագույն երկարությունը՝ 20 |
1 |
|
*.11. Որոշման ծածկագիրը (casdo:CustomsDecisionModeCode) |
մաքսային մարմինների կողմից ընդունվող որոշման ծածկագրային նշագիրը |
M.CA.SDE.00121 |
casdo:CustomsDecisionCodeType (M.CA.SDT.00058) Ծածկագրի արժեքն այն տեղեկագրքին (դասակարգչին) համապատասխան, որի նույնականացուցիչը սահմանված է «Տեղեկագրքի (դասակարգչի) նույնականացուցիչը» ատրիբուտում, կամ փաստաթղթի (տեղեկությունների) լրացման կարգը կանոնակարգող նորմատիվ իրավական ակտերով սահմանված ծածկագրի արժեքը։ Երկարությունը՝ 2 |
0..1 |
|
ա) տեղեկագրքի (դասակարգչի) նույնականացուցիչը (codeListId ատրիբուտ) |
այն տեղեկագրքի (դասակարգչի) նշագիրը, որին համապատասխան նշված է ծածկագիրը |
- |
csdo:ReferenceDataIdType (M.SDT.00091) Պայմանանշանների նորմալացված տողը: Նվազագույն երկարությունը՝ 1։ Առավելագույն երկարությունը՝ 20 |
0..1 |
|
*.12. Նույնականացման եղանակը (casdo:GoodsIdentificationMethodText) |
ապրանքի նույնականացման եղանակի նկարագրությունը |
M.CA.SDE.00634 |
csdo:Text4000Type (M.SDT.00088) Պայմանանշանների տողը: Նվազագույն երկարությունը՝ 1։ Առավելագույն երկարությունը՝ 4000 |
0..1 |
|
*.13. Բազմաշրջանառու տարայի հատկանիշը (casdo:ReusableContainerIndicator) |
ապրանքի բազմաշրջանառու տարա լինելը սահմանող հատկանիշը. 1՝ ապրանքը բազմաշրջանառու տարա է 0՝ ապրանքը բազմաշրջանառու տարա չէ |
M.CA.SDE.00440 |
bdt:IndicatorType (M.BDT.00013) Երկու արժեքներից մեկը՝ «true» (ճիշտ է) կամ «false» (սխալ է) |
0..1 |
|
*.14. Մաքսային փաստաթղթի գրանցման համարը (cacdo:CustomsDeclarationIdDetails) |
տարանցիկ փոխադրման հայտարարագրի գրանցման համարը |
M.CA.CDE.00291 |
cacdo:CustomsDocumentIdDetailsType (M.CA.CDT.00258) Որոշվում է ներդրված տարրերի արժեքների տիրույթներով |
0..1 |
|
*.14.1. Մաքսային մարմնի ծածկագիրը (csdo:CustomsOfficeCode) |
մաքսային մարմնի ծածկագրային նշագիրը |
M.SDE.00255 |
csdo:CustomsOfficeCodeType M.SDT.00184 Ծածկագրի արժեքը՝ Եվրասիական տնտեսական միության անդամ պետությունների մաքսային մարմինների դասակարգչին համապատասխան։ Ձևանմուշը՝ [0-9]{2}|[0-9]{5}|[0-9]{8} |
1 |
|
*.14.2. Փաստաթղթի ամսաթիվը (csdo:DocCreationDate) |
փաստաթղթի գրանցման ամսաթիվը |
M.SDE.00045 |
bdt:DateType (M.BDT.00005) Ամսաթվի նշագիրը՝ ԳՕՍՏ ԻՍՕ 8601-2001-ին համապատասխան |
1 |
|
*.14.3. Մաքսային փաստաթղթի համարը՝ ըստ գրանցման մատյանի (casdo:CustomsDocumentId) |
մաքսային փաստաթղթի համարը՝ ըստ գրանցամատյանի |
M.CA.SDE.00478 |
casdo:CustomsDocumentIdType (M.CA.SDT.00118) Պայմանանշանների նորմալացված տողը: Նվազագույն երկարությունը՝ 5։ Առավելագույն երկարությունը՝ 7 |
1 |
|
3.6.2. Փաստաթղթի մասին տեղեկությունները (cacdo:CADocDetails) |
ներկայացված փաստաթղթերի մասին տեղեկությունները |
M.CA.CDE.00307 |
cacdo:CADocDetailsType (M.CA.CDT.00324) Որոշվում է ներդրված տարրերի արժեքների տիրույթներով |
0..* |
|
*.1. Փաստաթղթի տեսակի ծածկագիրը (csdo:DocKindCode) |
փաստաթղթի տեսակի ծածկագրային նշագիրը |
M.SDE.00054 |
csdo:UnifiedCode20Type (M.SDT.00140) Ծածկագրի արժեքն այն տեղեկագրքին (դասակարգչին) համապատասխան, որի նույնականացուցիչը սահմանված է «Տեղեկագրքի (դասակարգչի) նույնականացուցիչը» ատրիբուտում։ Նվազագույն երկարությունը՝ 1։ Առավելագույն երկարությունը՝ 20 |
0..1 |
|
ա) տեղեկագրքի (դասակարգչի) նույնականացուցիչը (codeListId ատրիբուտ) |
այն տեղեկագրքի (դասակարգչի) նշագիրը, որին համապատասխան նշված է ծածկագիրը |
- |
csdo:ReferenceDataIdType (M.SDT.00091) Պայմանանշանների նորմալացված տողը: Նվազագույն երկարությունը՝ 1։ Առավելագույն երկարությունը՝ 20 |
1 |
|
*.2. Փաստաթղթի անվանումը (csdo:DocName) |
փաստաթղթի անվանումը |
M.SDE.00108 |
csdo:Name500Type (M.SDT.00134) Պայմանանշանների նորմալացված տողը: Նվազագույն երկարությունը՝ 1։ Առավելագույն երկարությունը՝ 500 |
0..1 |
|
*.3. Փաստաթղթի համարը (csdo:DocId) |
փաստաթղթի գրանցման ժամանակ դրան շնորհված թվային կամ տառաթվային նշագիրը |
M.SDE.00044 |
csdo:Id50Type (M.SDT.00093) Պայմանանշանների նորմալացված տողը։ Նվազագույն երկարությունը՝ 1։ Առավելագույն երկարությունը՝ 50 |
0..1 |
|
*.4. Փաստաթղթի ամսաթիվը (csdo:DocCreationDate) |
փաստաթղթի տրման, ստորագրման, հաստատման կամ գրանցման ամսաթիվը |
M.SDE.00045 |
bdt:DateType (M.BDT.00005) Ամսաթվի նշագիրը՝ ԳՕՍՏ ԻՍՕ 8601-2001-ին համապատասխան |
0..1 |
|
*.5. Փաստաթղթի գործողության ժամկետի մեկնարկի ամսաթիվը (csdo:DocStartDate) |
այն ժամկետի մեկնարկի ամսաթիվը, որի ընթացքում փաստաթուղթն ուժի մեջ է |
M.SDE.00137 |
bdt:DateType (M.BDT.00005) Ամսաթվի նշագիրը՝ ԳՕՍՏ ԻՍՕ 8601-2001-ին համապատասխան |
0..1 |
|
*.6. Փաստաթղթի գործողության ժամկետը լրանալու ամսաթիվը (csdo:DocValidityDate) |
այն ժամկետի ավարտի ամսաթիվը, որի ընթացքում փաստաթուղթն ուժի մեջ է |
M.SDE.00052 |
bdt:DateType (M.BDT.00005) Ամսաթվի նշագիրը՝ ԳՕՍՏ ԻՍՕ 8601-2001-ին համապատասխան |
0..1 |
|
*.7. Երկրի ծածկագիրը (csdo:UnifiedCountryCode) |
երկրի ծածկագրային նշագիրը |
M.SDE.00162 |
csdo:UnifiedCountryCodeType (M.SDT.00112) Երկրի երկտառ ծածկագրի արժեքն այն տեղեկագրքին (դասակարգչին) համապատասխան, որի նույնականացուցիչը սահմանված է «Տեղեկագրքի (դասակարգչի) նույնականացուցիչը» ատրիբուտում։ Ձևանմուշը՝ [A-Z]{2} |
0..1 |
|
ա) տեղեկագրքի (դասակարգչի) նույնականացուցիչը (codeListId ատրիբուտ) |
այն տեղեկագրքի (դասակարգչի) նշագիրը, որին համապատասխան նշված է ծածկագիրը |
- |
csdo:ReferenceDataIdType (M.SDT.00091) Պայմանանշանների նորմալացված տողը: Նվազագույն երկարությունը՝ 1։ Առավելագույն երկարությունը՝ 20 |
1 |
|
*.8. Լիազորված մարմնի անվանումը (csdo:AuthorityName) |
անդամ պետության պետական իշխանության մարմնի կամ դրա կողմից լիազորված՝ փաստաթուղթը տրամադրած կազմակերպության լրիվ անվանումը |
M.SDE.00066 |
csdo:Name300Type (M.SDT.00056) Պայմանանշանների նորմալացված տողը։ Նվազագույն երկարությունը՝ 1։ Առավելագույն երկարությունը՝ 300 |
0..1 |
|
*.9. Լիազորված մարմնի նույնականացուցիչը (csdo:AuthorityId) |
փաստաթուղթը տրամադրած կամ հաստատած՝ պետական կամ միջպետական մարմինը (կազմակերպությունը) նույնականացնող պայմանանշանների տողը |
M.SDE.00068 |
csdo:Id20Type (M.SDT.00092) Պայմանանշանների նորմալացված տողը։ Նվազագույն երկարությունը՝ 1։ Առավելագույն երկարությունը՝ 20 |
0..1 |
|
3.7. Տրանսպորտային միջոցը սահմանին (cacdo:BorderTransportsDetails) |
սահմանին գտնվող տրանսպորտային միջոցի մասին տեղեկությունները |
M.CA.CDE.00252 |
cacdo:TransportMeansIDDetailsType (M.CA.CDT.00214) Որոշվում է ներդրված տարրերի արժեքների տիրույթներով |
0..1 |
|
3.7.1. Տրանսպորտի տեսակի ծածկագիրը (csdo:UnifiedTransportModeCode) |
տրանսպորտի տեսակի ծածկագրային նշագիրը |
M.SDE.00166 |
csdo:UnifiedCode20Type (M.SDT.00140) Ծածկագրի արժեքն այն տեղեկագրքին (դասակարգչին) համապատասխան, որի նույնականացուցիչը սահմանված է «Տեղեկագրքի (դասակարգչի) նույնականացուցիչը» ատրիբուտում։ Նվազագույն երկարությունը՝ 1։ Առավելագույն երկարությունը՝ 20 |
0..1 |
|
ա) Տեղեկագրքի (դասակարգչի) նույնականացուցիչը (codeListId ատրիբուտ) |
այն տեղեկագրքի (դասակարգչի) նշագիրը, որին համապատասխան նշված է ծածկագիրը |
- |
csdo:ReferenceDataIdType (M.SDT.00091) Պայմանանշանների նորմալացված տողը: Նվազագույն երկարությունը՝ 1։ Առավելագույն երկարությունը՝ 20 |
1 |
|
3.7.2. Տրանսպորտային միջոցի գրանցման երկրի ծածկագիրը (casdo:RegistrationNationalityCode) |
տրանսպորտային միջոցի գրանցման երկրի ծածկագրային նշագիրը |
M.CA.SDE.00429 |
casdo:CACountryCodeType (M.CA.SDT.00181) Երկրի երկտառ ծածկագրի արժեքն այն տեղեկագրքին (դասակարգչին) համապատասխան, որի նույնականացուցիչը սահմանված է «Տեղեկագրքի (դասակարգչի) նույնականացուցիչը» ատրիբուտում, կամ փաստաթղթի (տեղեկությունների) լրացման կարգը կանոնակարգող նորմատիվ իրավական ակտերով սահմանված ծածկագրի արժեքը։ Ձևանմուշը՝ ([A-Z]{2})|(\d{2}) |
0..1 |
|
ա) Տեղեկագրքի (դասակարգչի) նույնականացուցիչը (codeListId ատրիբուտ) |
այն տեղեկագրքի (դասակարգչի) նշագիրը, որին համապատասխան նշված է ծածկագիրը |
- |
csdo:ReferenceDataIdType (M.SDT.00091) Պայմանանշանների նորմալացված տողը: Նվազագույն երկարությունը՝ 1։ Առավելագույն երկարությունը՝ 20 |
1 |
|
3.7.3. Տրանսպորտային միջոցների քանակը (casdo:TransportMeansQuantity) |
տրանսպորտային միջոցների քանակը |
M.CA.SDE.00140 |
csdo:Quantity5Type (M.SDT.00155) Հաշվարկման տասական համակարգում ոչ բացասական ամբողջ թիվը։ Թվանշանների առավելագույն քանակը՝ 5 |
0..1 |
|
3.7.4. Տրանսպորտային միջոցի մասին տեղեկատվությունը (cacdo:TransportMeansRegistrationIdDetails) |
տրանսպորտային միջոցի մասին տեղեկությունները |
M.CA.CDE.00361 |
cacdo:TransportMeansRegistrationIdDetailsType (M.CA.CDT.00321) Որոշվում է ներդրված տարրերի արժեքների տիրույթներով |
0..* |
|
*.1. Տրանսպորտային միջոցի գրանցման համարը (csdo:TransportMeansRegId) |
տրանսպորտային միջոցի գրանցման համարը, նավի անվանումը, ավիաչվերթի համարը, գնացքի համարը, երկաթուղային վագոնի (հարթակների, ցիստեռնների և այլնի) համարը |
M.SDE.00154 |
csdo:TransportMeansRegIdType (M.SDT.00101) Պայմանանշանների նորմալացված տողը: Նվազագույն երկարությունը՝ 1։ Առավելագույն երկարությունը՝ 40 |
1 |
|
ա) Երկրի ծածկագիրը (countryCode ատրիբուտ) |
այն երկրի ծածկագրային նշագիրը, որի կանոններով ձևավորվել է նշված գրանցման համարը |
- |
csdo:UnqualifiedCountryCodeType (M.SDT.00159) Երկրի երկտառ ծածկագրի արժեքն այն տեղեկագրքին (դասակարգչին) համապատասխան, որի նույնականացուցիչը սահմանված է «Տեղեկագրքի (դասակարգչի) նույնականացուցիչը» ատրիբուտում։ Ձևանմուշը՝ [A-Z]{2} |
0..1 |
|
բ) տեղեկագրքի (դասակարգչի) նույնականացուցիչը (countryCodeListId ատրիբուտ) |
աշխարհի երկրների դասակարգչի նույնականացուցիչը |
- |
csdo:ReferenceDataIdType (M.SDT.00091) Պայմանանշանների նորմալացված տողը: Նվազագույն երկարությունը՝ 1։ Առավելագույն երկարությունը՝ 20 |
0..1 |
|
*.2. Առաջին կցովի տրանսպորտային միջոցի գրանցման համարը (casdo:FirstTrailerRegId) |
առաջին կցովի տրանսպորտային միջոցի գրանցման համարը |
M.CA.SDE.00399 |
csdo:TransportMeansRegIdType (M.SDT.00101) Պայմանանշանների նորմալացված տողը: Նվազագույն երկարությունը՝ 1։ Առավելագույն երկարությունը՝ 40 |
0..1 |
|
ա) Երկրի ծածկագիրը (countryCode ատրիբուտ) |
այն երկրի ծածկագրային նշագիրը, որի կանոններով ձևավորվել է նշված գրանցման համարը |
- |
csdo:UnqualifiedCountryCodeType (M.SDT.00159) Երկրի երկտառ ծածկագրի արժեքն այն տեղեկագրքին (դասակարգչին) համապատասխան, որի նույնականացուցիչը սահմանված է «Տեղեկագրքի (դասակարգչի) նույնականացուցիչը» ատրիբուտում։ Ձևանմուշը՝ [A-Z]{2} |
0..1 |
|
բ) տեղեկագրքի (դասակարգչի) նույնականացուցիչը (countryCodeListId ատրիբուտ) |
աշխարհի երկրների դասակարգչի նույնականացուցիչը |
- |
csdo:ReferenceDataIdType (M.SDT.00091) Պայմանանշանների նորմալացված տողը: Նվազագույն երկարությունը՝ 1։ Առավելագույն երկարությունը՝ 20 |
0..1 |
|
*.3. Երկրորդ կցովի տրանսպորտային միջոցի գրանցման համարը (casdo:SecondTrailerRegId) |
երկրորդ կցովի տրանսպորտային միջոցի գրանցման համարը |
M.CA.SDE.00428 |
csdo:TransportMeansRegIdType (M.SDT.00101) Պայմանանշանների նորմալացված տողը: Նվազագույն երկարությունը՝ 1։ Առավելագույն երկարությունը՝ 40 |
0..1 |
|
ա) Երկրի ծածկագիրը (countryCode ատրիբուտ) |
այն երկրի ծածկագրային նշագիրը, որի կանոններով ձևավորվել է նշված գրանցման համարը |
- |
csdo:UnqualifiedCountryCodeType (M.SDT.00159) Երկրի երկտառ ծածկագրի արժեքն այն տեղեկագրքին (դասակարգչին) համապատասխան, որի նույնականացուցիչը սահմանված է «Տեղեկագրքի (դասակարգչի) նույնականացուցիչը» ատրիբուտում։ Ձևանմուշը՝ [A-Z]{2} |
0..1 |
|
բ) տեղեկագրքի (դասակարգչի) նույնականացուցիչը (countryCodeListId ատրիբուտ) |
աշխարհի երկրների դասակարգչի նույնականացուցիչը |
- |
csdo:ReferenceDataIdType (M.SDT.00091) Պայմանանշանների նորմալացված տողը: Նվազագույն երկարությունը՝ 1։ Առավելագույն երկարությունը՝ 20 |
0..1 |
|
*.4. Փաստաթղթի համարը (csdo:DocId) |
տրանսպորտային միջոցի գրանցման վկայականի համարը |
M.SDE.00044 |
csdo:Id50Type (M.SDT.00093) Պայմանանշանների նորմալացված տողը։ Նվազագույն երկարությունը՝ 1։ Առավելագույն երկարությունը՝ 50 |
0..1 |
|
*.5. Տրանսպորտային միջոցի նույնականացման համարը (csdo:VehicleId) |
տրանսպորտային միջոցի (տրանսպորտային միջոցի ամրաշրջանակի, ինքնագնաց մեքենայի)՝ արտադրողի կողմից տրված նույնականացման համարը |
M.SDE.00212 |
csdo:VehicleIdType (M.SDT.00161) Պայմանանշանների նորմալացված տողը: Նվազագույն երկարությունը՝ 1։ Առավելագույն երկարությունը՝ 17 |
0..1 |
|
*.6. Միջազգային փոխադրման տրանսպորտային միջոցի տիպի ծածկագիրը (casdo:TransportTypeCode) |
տրանսպորտային միջոցի տիպի ծածկագրային նշագիրը |
M.CA.SDE.00371 |
casdo:TransportTypeCodeType (M.CA.SDT.00205) Միջազգային փոխադրման տրանսպորտային միջոցի տիպի ծածկագրի արժեքը՝ տեղեկագրքին (դասակարգչին) համապատասխան, որի նույնականացուցիչը սահմանված է «Տեղեկագրքի (դասակարգչի) նույնականացուցիչը» ատրիբուտում: Ձևանմուշը՝ \d{3} |
0..1 |
|
ա) տեղեկագրքի (դասակարգչի) նույնականացուցիչը (codeListId ատրիբուտ) |
այն տեղեկագրքի (դասակարգչի) նշագիրը, որին համապատասխան նշված է ծածկագիրը |
- |
csdo:ReferenceDataIdType (M.SDT.00091) Պայմանանշանների նորմալացված տողը: Նվազագույն երկարությունը՝ 1։ Առավելագույն երկարությունը՝ 20 |
1 |
|
*.7. Տրանսպորտային միջոցի մակնիշի ծածկագիրը (csdo:VehicleMakeCode) |
տրանսպորտային միջոցի մակնիշի ծածկագրային նշագիրը |
M.SDE.00303 |
csdo:VehicleMakeCodeType (M.SDT.00203) Ճանապարհային տրանսպորտային միջոցի մակնիշի ծածկագրի արժեքը՝ տեղեկագրքին (դասակարգչին) համապատասխան, որի նույնականացուցիչը սահմանված է «Տեղեկագրքի (դասակարգչի) նույնականացուցիչը» ատրիբուտում: Ձևանմուշը՝ \d{3} |
0..1 |
|
ա) տեղեկագրքի (դասակարգչի) նույնականացուցիչը (codeListId ատրիբուտ) |
այն տեղեկագրքի (դասակարգչի) նշագիրը, որին համապատասխան նշված է ծածկագիրը |
- |
csdo:ReferenceDataIdType (M.SDT.00091) Պայմանանշանների նորմալացված տողը: Նվազագույն երկարությունը՝ 1։ Առավելագույն երկարությունը՝ 20 |
1 |
|
3.8. Փոխադրողը (cacdo:CarrierDetails) |
ապրանքները փոխադրողի մասին տեղեկությունները |
M.CA.CDE.00197 |
cacdo:CarrierDetailsType (M.CA.CDT.00349) Որոշվում է ներդրված տարրերի արժեքների տիրույթներով |
0..* |
|
3.8.1. Երկրի ծածկագիրը (csdo:UnifiedCountryCode) |
սուբյեկտի գրանցման երկրի ծածկագրային նշագիրը |
M.SDE.00162 |
csdo:UnifiedCountryCodeType (M.SDT.00112) Երկրի երկտառ ծածկագրի արժեքն այն տեղեկագրքին (դասակարգչին) համապատասխան, որի նույնականացուցիչը սահմանված է «Տեղեկագրքի (դասակարգչի) նույնականացուցիչը» ատրիբուտում։ Ձևանմուշը՝ [A-Z]{2} |
0..1 |
|
ա) Տեղեկագրքի (դասակարգչի) նույնականացուցիչը (codeListId ատրիբուտ) |
այն տեղեկագրքի (դասակարգչի) նշագիրը, որին համապատասխան նշված է ծածկագիրը |
- |
csdo:ReferenceDataIdType (M.SDT.00091) Պայմանանշանների նորմալացված տողը: Նվազագույն երկարությունը՝ 1։ Առավելագույն երկարությունը՝ 20 |
1 |
|
3.8.2. Սուբյեկտի անվանումը (csdo:SubjectName) |
տնտեսավարող սուբյեկտի լրիվ անվանումը կամ ֆիզիկական անձի ազգանունը, անունը և հայրանունը |
M.SDE.00224 |
csdo:Name300Type (M.SDT.00056) Պայմանանշանների նորմալացված տողը: Նվազագույն երկարությունը՝ 1։ Առավելագույն երկարությունը՝ 300 |
0..1 |
|
3.8.3. Սուբյեկտի կրճատ անվանումը (csdo:SubjectBriefName) |
տնտեսավարող սուբյեկտի համառոտ անվանումը կամ ֆիզիկական անձի ազգանունը, անունը և հայրանունը |
M.SDE.00225 |
csdo:Name120Type (M.SDT.00055) Պայմանանշանների նորմալացված տողը։ Նվազագույն երկարությունը՝ 1։ Առավելագույն երկարությունը՝ 120 |
0..1 |
|
3.8.4. Կազմակերպաիրավական ձևի ծածկագիրը (csdo:BusinessEntityTypeCode) |
այն կազմակերպաիրավական ձևի ծածկագրային նշագիրը, որով գրանցված է տնտեսավարող սուբյեկտը |
M.SDE.00023 |
csdo:UnifiedCode20Type (M.SDT.00140) Ծածկագրի արժեքն այն տեղեկագրքին (դասակարգչին) համապատասխան, որի նույնականացուցիչը սահմանված է «Տեղեկագրքի (դասակարգչի) նույնականացուցիչը» ատրիբուտում։ Նվազագույն երկարությունը՝ 1։ Առավելագույն երկարությունը՝ 20 |
0..1 |
|
ա) Տեղեկագրքի (դասակարգչի) նույնականացուցիչը (codeListId ատրիբուտ) |
այն տեղեկագրքի (դասակարգչի) նշագիրը, որին համապատասխան նշված է ծածկագիրը |
- |
csdo:ReferenceDataIdType (M.SDT.00091) Պայմանանշանների նորմալացված տողը: Նվազագույն երկարությունը՝ 1։ Առավելագույն երկարությունը՝ 20 |
1 |
|
3.8.5. Կազմակերպաիրավական ձևի անվանումը (csdo:BusinessEntityTypeName) |
այն կազմակերպաիրավական ձևի անվանումը, որով գրանցված է տնտեսավարող սուբյեկտը |
M.SDE.00090 |
csdo:Name300Type (M.SDT.00056) Պայմանանշանների նորմալացված տողը: Նվազագույն երկարությունը՝ 1։ Առավելագույն երկարությունը՝ 300 |
0..1 |
|
3.8.6. Տնտեսավարող սուբյեկտի նույնականացուցիչը (csdo:BusinessEntityId) |
պետական գրանցման ժամանակ ըստ ռեեստրի (ռեգիստրի) տրված գրառման համարը (ծածկագիրը) |
M.SDE.00189 |
csdo:BusinessEntityIdType (M.SDT.00157) Պայմանանշանների նորմալացված տողը: Նվազագույն երկարությունը՝ 1։ Առավելագույն երկարությունը՝ 20 |
0..1 |
|
ա) Նույնականացման մեթոդը (kindId ատրիբուտ) |
տնտեսավարող սուբյեկտների նույնականացման մեթոդը |
- |
csdo:BusinessEntityIdKindIdType (M.SDT.00158) Տնտեսավարող սուբյեկտների նույնականացման մեթոդների տեղեկագրքից նույնականացուցչի արժեքը։ Նվազագույն երկարությունը՝ 1։ Առավելագույն երկարությունը՝ 20 |
1 |
|
3.8.7. Նույնականացման եզակի մաքսային համարը (casdo:CAUniqueCustomsNumberId) |
նույնականացման (նույնականացման եզակի) մաքսային համարի մասին տեղեկությունները |
M.CA.SDE.00626 |
casdo:CAUniqueCustomsNumberIdType (M.CA.SDT.00188) Պայմանանշանների նորմալացված տողը։ Նվազագույն երկարությունը՝ 1։ Առավելագույն երկարությունը՝ 40 |
0..1 |
|
ա) Երկրի ծածկագիրը (countryCode ատրիբուտ) |
այն երկրի ծածկագրային նշագիրը, որի կանոններով ձևավորվել է նշված նույնականացման համարը |
- |
csdo:UnqualifiedCountryCodeType (M.SDT.00159) Երկրի երկտառ ծածկագրի արժեքն այն տեղեկագրքին (դասակարգչին) համապատասխան, որի նույնականացուցիչը սահմանված է «Տեղեկագրքի (դասակարգչի) նույնականացուցիչը» ատրիբուտում։ Ձևանմուշը՝ [A-Z]{2} |
0..1 |
|
բ) Տեղեկագրքի (դասակարգչի) նույնականացուցիչը (countryCodeListId ատրիբուտ) |
աշխարհի երկրների դասակարգչի նույնականացուցիչը |
- |
csdo:ReferenceDataIdType (M.SDT.00091) Պայմանանշանների նորմալացված տողը: Նվազագույն երկարությունը՝ 1։ Առավելագույն երկարությունը՝ 20 |
0..1 |
|
3.8.8. Հարկ վճարողի նույնականացուցիչը (csdo:TaxpayerId) |
սուբյեկտի նույնականացուցիչը հարկ վճարողի գրանցման երկրի հարկ վճարողների ռեեստրում |
M.SDE.00025 |
csdo:TaxpayerIdType (M.SDT.00025) Նույնականացուցչի արժեքը՝ հարկ վճարողի գրանցման երկրում ընդունված կանոններին համապատասխան։ Նվազագույն երկարությունը՝ 1։ Առավելագույն երկարությունը՝ 20 |
0..1 |
|
3.8.9. Հաշվառման վերցնելու պատճառի ծածկագիրը (csdo:TaxRegistrationReasonCode) |
Ռուսաստանի Դաշնությունում սուբյեկտին հարկային հաշվառման վերցնելու պատճառը նույնականացնող ծածկագիրը |
M.SDE.00030 |
csdo:TaxRegistrationReasonCodeType (M.SDT.00030) Պայմանանշանների նորմալացված տողը: Ձևանմուշը՝ \d{9} |
0..1 |
|
3.8.10. Ֆիզիկական անձի նույնականացուցիչը (casdo:PersonId) |
ֆիզիկական անձի եզակի նույնականացուցիչը |
M.CA.SDE.00129 |
casdo:PersonIdType (M.CA.SDT.00190) Նույնականացուցչի արժեքը՝ ֆիզիկական անձի գրանցման երկրում ընդունված կանոններին համապատասխան։ Նվազագույն երկարությունը՝ 1։ Առավելագույն երկարությունը՝ 20 |
0..1 |
|
3.8.11. Անձը հաստատող վկայականը (ccdo:IdentityDocV3Details) |
ֆիզիկական անձի՝ անձը հաստատող փաստաթղթի մասին տեղեկությունները |
M.CDE.00056 |
ccdo:IdentityDocDetailsV3Type (M.CDT.00062) Որոշվում է ներդրված տարրերի արժեքների տիրույթներով |
0..1 |
|
*.1. Երկրի ծածկագիրը (csdo:UnifiedCountryCode) |
երկրի ծածկագրային նշագիրը |
M.SDE.00162 |
csdo:UnifiedCountryCodeType (M.SDT.00112) Երկրի երկտառ ծածկագրի արժեքն այն տեղեկագրքին (դասակարգչին) համապատասխան, որի նույնականացուցիչը սահմանված է «Տեղեկագրքի (դասակարգչի) նույնականացուցիչը» ատրիբուտում։ Ձևանմուշը՝ [A-Z]{2} |
1 |
|
ա) տեղեկագրքի (դասակարգչի) նույնականացուցիչը (codeListId ատրիբուտ) |
այն տեղեկագրքի (դասակարգչի) նշագիրը, որին համապատասխան նշված է ծածկագիրը |
- |
csdo:ReferenceDataIdType (M.SDT.00091) Պայմանանշանների նորմալացված տողը: Նվազագույն երկարությունը՝ 1։ Առավելագույն երկարությունը՝ 20 |
1 |
|
*.2. Անձը հաստատող փաստաթղթի տեսակի ծածկագիրը (csdo:IdentityDocKindCode) |
անձը հաստատող փաստաթղթի տեսակի ծածկագրային նշագիրը |
M.SDE.00136 |
csdo:IdentityDocKindCodeType (M.SDT.00098) Պայմանանշանների նորմալացված տողը: Նվազագույն երկարությունը՝ 1։ Առավելագույն երկարությունը՝ 20 |
0..1 |
|
ա) տեղեկագրքի (դասակարգչի) նույնականացուցիչը (codeListId ատրիբուտ) |
այն տեղեկագրքի (դասակարգչի) նշագիրը, որին համապատասխան նշված է ծածկագիրը |
- |
csdo:ReferenceDataIdType (M.SDT.00091) Պայմանանշանների նորմալացված տողը: Նվազագույն երկարությունը՝ 1։ Առավելագույն երկարությունը՝ 20 |
0..1 |
|
*.3. Փաստաթղթի տեսակի անվանումը (csdo:DocKindName) |
փաստաթղթի տեսակի անվանումը |
M.SDE.00095 |
csdo:Name500Type (M.SDT.00134) Պայմանանշանների նորմալացված տողը։ Նվազագույն երկարությունը՝ 1; Առավելագույն երկարությունը՝ 500 |
0..1 |
|
*.4. Փաստաթղթի սերիան (csdo:DocSeriesId) |
փաստաթղթի սերիայի թվային կամ տառաթվային նշագիրը |
M.SDE.00157 |
csdo:Id20Type (M.SDT.00092) Պայմանանշանների նորմալացված տողը։ Նվազագույն երկարությունը՝ 1։ Առավելագույն երկարությունը՝ 20 |
0..1 |
|
*.5. Փաստաթղթի համարը (csdo:DocId) |
փաստաթղթի գրանցման ժամանակ դրան տրված թվային կամ տառաթվային նշագիրը |
M.SDE.00044 |
csdo:Id50Type (M.SDT.00093) Պայմանանշանների նորմալացված տողը։ Նվազագույն երկարությունը՝ 1։ Առավելագույն երկարությունը՝ 50 |
1 |
|
*.6. Փաստաթղթի ամսաթիվը (csdo:DocCreationDate) |
փաստաթղթի տրման, ստորագրման, հաստատման կամ գրանցման ամսաթիվը |
M.SDE.00045 |
bdt:DateType (M.BDT.00005) Ամսաթվի նշագիրը՝ ԳՕՍՏ ԻՍՕ 8601-2001-ին համապատասխան |
0..1 |
|
*.7. Փաստաթղթի գործողության ժամկետը լրանալու ամսաթիվը (csdo:DocValidityDate) |
այն ժամկետի ավարտի ամսաթիվը, որի ընթացքում փաստաթուղթն ուժի մեջ է |
M.SDE.00052 |
bdt:DateType (M.BDT.00005) Ամսաթվի նշագիրը՝ ԳՕՍՏ ԻՍՕ 8601-2001-ին համապատասխան |
0..1 |
|
*.8. Լիազորված մարմնի նույնականացուցիչը (csdo:AuthorityId) |
անդամ պետության պետական իշխանության մարմինը կամ դրա կողմից լիազորված՝ փաստաթուղթը տրամադրած կազմակերպությունը նույնականացնող տողը |
M.SDE.00068 |
csdo:Id20Type (M.SDT.00092) Պայմանանշանների նորմալացված տողը։ Նվազագույն երկարությունը՝ 1։ Առավելագույն երկարությունը՝ 20 |
0..1 |
|
*.9. Լիազորված մարմնի անվանումը (csdo:AuthorityName) |
փաստաթուղթը տրամադրած՝ պետական իշխանության մարմնի կամ դրա կողմից լիազորված կազմակերպության լրիվ անվանումը |
M.SDE.00066 |
csdo:Name300Type (M.SDT.00056) Պայմանանշանների նորմալացված տողը։ Նվազագույն երկարությունը՝ 1։ Առավելագույն երկարությունը՝ 300 |
0..1 |
|
3.8.12. Հասցեն (ccdo:SubjectAddressDetails) |
հասցեն |
M.CDE.00058 |
ccdo:SubjectAddressDetailsType (M.CDT.00064) Որոշվում է ներդրված տարրերի արժեքների տիրույթներով |
0..* |
|
*.1. Հասցեի տեսակի ծածկագիրը (csdo:AddressKindCode) |
հասցեի տեսակի ծածկագրային նշագիրը |
M.SDE.00192 |
csdo:AddressKindCodeType (M.SDT.00162) Ծածկագրի արժեքը՝ հասցեների տեսակների տեղեկագրքին համապատասխան։ Նվազագույն երկարությունը՝ 1։ Առավելագույն երկարությունը՝ 20 |
0..1 |
|
*.2. Երկրի ծածկագիրը (csdo:UnifiedCountryCode) |
երկրի ծածկագրային նշագիրը |
M.SDE.00162 |
csdo:UnifiedCountryCodeType (M.SDT.00112) Երկրի երկտառ ծածկագրի արժեքն այն տեղեկագրքին (դասակարգչին) համապատասխան, որի նույնականացուցիչը սահմանված է «Տեղեկագրքի (դասակարգչի) նույնականացուցիչը» ատրիբուտում։ Ձևանմուշը՝ [A-Z]{2} |
0..1 |
|
ա) տեղեկագրքի (դասակարգչի) նույնականացուցիչը (codeListId ատրիբուտ) |
այն տեղեկագրքի (դասակարգչի) նշագիրը, որին համապատասխան նշված է ծածկագիրը |
- |
csdo:ReferenceDataIdType (M.SDT.00091) Պայմանանշանների նորմալացված տողը: Նվազագույն երկարությունը՝ 1։ Առավելագույն երկարությունը՝ 20 |
1 |
|
*.3. Տարածքի ծածկագիրը (csdo:TerritoryCode) |
վարչատարածքային բաժանման միավորի ծածկագիրը |
M.SDE.00031 |
csdo:TerritoryCodeType (M.SDT.00031) Պայմանանշանների նորմալացված տողը: Նվազագույն երկարությունը՝ 1։ Առավելագույն երկարությունը՝ 17 |
0..1 |
|
*.4. Տարածաշրջանը (csdo:RegionName) |
առաջին մակարդակի վարչատարածքային բաժանման միավորի անվանումը |
M.SDE.00007 |
csdo:Name120Type (M.SDT.00055) Պայմանանշանների նորմալացված տողը։ Նվազագույն երկարությունը՝ 1։ Առավելագույն երկարությունը՝ 120 |
0..1 |
|
*.5. Շրջանը (csdo:DistrictName) |
երկրորդ մակարդակի վարչատարածքային բաժանման միավորի անվանումը |
M.SDE.00008 |
csdo:Name120Type (M.SDT.00055) Պայմանանշանների նորմալացված տողը։ Նվազագույն երկարությունը՝ 1։ Առավելագույն երկարությունը՝ 120 |
0..1 |
|
*.6. Քաղաքը (csdo:CityName) |
քաղաքի անվանումը |
M.SDE.00009 |
csdo:Name120Type (M.SDT.00055) Պայմանանշանների նորմալացված տողը։ Նվազագույն երկարությունը՝ 1։ Առավելագույն երկարությունը՝ 120 |
0..1 |
|
*.7. Բնակավայրը (csdo:SettlementName) |
բնակավայրի անվանումը |
M.SDE.00057 |
csdo:Name120Type (M.SDT.00055) Պայմանանշանների նորմալացված տողը։ Նվազագույն երկարությունը՝ 1։ Առավելագույն երկարությունը՝ 120 |
0..1 |
|
*.8. Փողոցը (csdo:StreetName) |
քաղաքային ենթակառուցվածքի փողոցաճանապարհային ցանցի տարրի անվանումը |
M.SDE.00010 |
csdo:Name120Type (M.SDT.00055) Պայմանանշանների նորմալացված տողը։ Նվազագույն երկարությունը՝ 1։ Առավելագույն երկարությունը՝ 120 |
0..1 |
|
*.9. Շենքի համարը (csdo:BuildingNumberId) |
շենքի, մասնաշենքի, շինության նշագիրը |
M.SDE.00011 |
csdo:Id50Type (M.SDT.00093) Պայմանանշանների նորմալացված տողը։ Նվազագույն երկարությունը՝ 1։ Առավելագույն երկարությունը՝ 50 |
0..1 |
|
*.10. Սենքի համարը (csdo:RoomNumberId) |
գրասենյակի կամ բնակարանի նշագիրը |
M.SDE.00012 |
csdo:Id20Type (M.SDT.00092) Պայմանանշանների նորմալացված տողը։ Նվազագույն երկարությունը՝ 1։ Առավելագույն երկարությունը՝ 20 |
0..1 |
|
*.11. Փոստային դասիչը (csdo:PostCode) |
փոստային կապի ձեռնարկության փոստային դասիչը |
M.SDE.00006 |
csdo:PostCodeType (M.SDT.00006) Պայմանանշանների նորմալացված տողը: Ձևանմուշը՝ [A-Z0-9][A-Z0-9-]{1,8}[A-Z0-9] |
0..1 |
|
*.12. Բաժանորդային արկղի համարը (csdo:PostOfficeBoxId) |
փոստային կապի ձեռնարկությունում բաժանորդային արկղի համարը |
M.SDE.00013 |
csdo:Id20Type (M.SDT.00092) Պայմանանշանների նորմալացված տողը։ Նվազագույն երկարությունը՝ 1։ Առավելագույն երկարությունը՝ 20 |
0..1 |
|
3.8.13. Կոնտակտային վավերապայմանը (ccdo:CommunicationDetails) |
սուբյեկտի կոնտակտային վավերապայմանը |
M.CDE.00003 |
ccdo:CommunicationDetailsType (M.CDT.00003) Որոշվում է ներդրված տարրերի արժեքների տիրույթներով |
0..* |
|
*.1. Կապի տեսակի ծածկագիրը (csdo:CommunicationChannelCode) |
կապի միջոցի (կապուղու) տեսակի (հեռախոս, ֆաքս, էլեկտրոնային փոստ և այլն) ծածկագրային նշագիրը |
M.SDE.00014 |
csdo:CommunicationChannelCodeV2Type (M.SDT.00163) Ծածկագրի արժեքը՝ կապի տեսակների տեղեկագրքին համապատասխան։ Նվազագույն երկարությունը՝ 1։ Առավելագույն երկարությունը՝ 20 |
0..1 |
|
*.2. Կապի տեսակի անվանումը (csdo:CommunicationChannelName) |
կապի միջոցի (կապուղու) տեսակի (հեռախոս, ֆաքս, էլեկտրոնային փոստ և այլն) անվանումը |
M.SDE.00093 |
csdo:Name120Type (M.SDT.00055) Պայմանանշանների նորմալացված տողը։ Նվազագույն երկարությունը՝ 1։ Առավելագույն երկարությունը՝ 120 |
0..1 |
|
*.3. Կապուղու նույնականացուցիչը (csdo:CommunicationChannelId) |
կապուղին նույնականացնող պայմանանշանների հաջորդականությունը (հեռախոսահամարի, ֆաքսի համարի, էլեկտրոնային փոստի հասցեի և այլնի նշում) |
M.SDE.00015 |
csdo:CommunicationChannelIdType (M.SDT.00015) Պայմանանշանների նորմալացված տողը: Նվազագույն երկարությունը՝ 1։ Առավելագույն երկարությունը՝ 1000 |
1..* |
|
3.8.14. Փոխադրողի ներկայացուցիչը (cacdo:CarrierRepresentativeDetails) |
փոխադրողի աշխատակից կամ լիազորված ներկայացուցիչ հանդիսացող անձի մասին տեղեկությունները |
M.CA.CDE.00196 |
cacdo:CarrierRepresentativeDetailsTуре (M.CA.CDT.00304) Որոշվում է ներդրված տարրերի արժեքների տիրույթներով |
0..* |
|
*1. ԱԱՀ (ccdo:FullNameDetails) |
ազգանունը, անունը, հայրանունը |
M.CDE.00029 |
ccdo:FullNameDetailsType (M.CDT.00016) Որոշվում է ներդրված տարրերի արժեքների տիրույթներով |
1 |
|
*.1.1. Անունը (csdo:FirstName) |
ֆիզիկական անձի անունը |
M.SDE.00109 |
csdo:Name120Type (M.SDT.00055) Պայմանանշանների նորմալացված տողը: Նվազագույն երկարությունը՝ 1։ Առավելագույն երկարությունը՝ 120 |
0..1 |
|
*.1.2. Հայրանունը (csdo:MiddleName) |
ֆիզիկական անձի հայրանունը (երկրորդ կամ միջին անունը) |
M.SDE.00111 |
csdo:Name120Type (M.SDT.00055) Պայմանանշանների նորմալացված տողը։ Նվազագույն երկարությունը՝ 1։ Առավելագույն երկարությունը՝ 120 |
0..1 |
|
*.1.3. Ազգանունը (csdo:LastName) |
ֆիզիկական անձի ազգանունը |
M.SDE.00110 |
csdo:Name120Type (M.SDT.00055) Պայմանանշանների նորմալացված տողը։ Նվազագույն երկարությունը՝ 1։ Առավելագույն երկարությունը՝ 120 |
0..1 |
|
*.2. Պաշտոնի անվանումը (csdo:PositionName) |
աշխատակցի պաշտոնի անվանումը |
M.SDE.00127 |
csdo:Name120Type (M.SDT.00055) Պայմանանշանների նորմալացված տողը։ Նվազագույն երկարությունը՝ 1։ Առավելագույն երկարությունը՝ 120 |
0..1 |
|
*.3. Կոնտակտային վավերապայմանը (ccdo:CommunicationDetails) |
պաշտոնատար անձի կոնտակտային վավերապայմանը |
M.CDE.00003 |
ccdo:CommunicationDetailsType (M.CDT.00003) Որոշվում է ներդրված տարրերի արժեքների տիրույթներով |
0..* |
|
*.3.1. Կապի տեսակի ծածկագիրը (csdo:CommunicationChannelCode) |
կապի միջոցի (կապուղու) տեսակի (հեռախոս, ֆաքս, էլեկտրոնային փոստ և այլն) ծածկագրային նշագիրը |
M.SDE.00014 |
csdo:CommunicationChannelCodeV2Type (M.SDT.00163) Ծածկագրի արժեքը՝ կապի տեսակների տեղեկագրքին համապատասխան։ Նվազագույն երկարությունը՝ 1։ Առավելագույն երկարությունը՝ 20 |
0..1 |
|
*.3.2. Կապի տեսակի անվանումը (csdo:CommunicationChannelName) |
կապի միջոցի (կապուղու) տեսակի (հեռախոս, ֆաքս, էլեկտրոնային փոստ և այլն) անվանումը |
M.SDE.00093 |
csdo:Name120Type (M.SDT.00055) Պայմանանշանների նորմալացված տողը: Նվազագույն երկարությունը՝ 1։ Առավելագույն երկարությունը՝ 120 |
0..1 |
|
*.3.3. Կապուղու նույնականացուցիչը (csdo:CommunicationChannelId) |
կապուղին նույնականացնող պայմանանշանների հաջորդականությունը (հեռախոսահամարի, ֆաքսի համարի, էլեկտրոնային փոստի հասցեի և այլնի նշում) |
M.SDE.00015 |
csdo:CommunicationChannelIdType (M.SDT.00015) Պայմանանշանների նորմալացված տողը: Նվազագույն երկարությունը՝ 1։ Առավելագույն երկարությունը՝ 1000 |
1..* |
|
*.4. Անձը հաստատող վկայականը (ccdo:IdentityDocV3Details) |
ֆիզիկական անձի՝ անձը հաստատող փաստաթղթի մասին տեղեկությունները |
M.CDE.00056 |
ccdo:IdentityDocDetailsV3Type (M.CDT.00062) Որոշվում է ներդրված տարրերի արժեքների տիրույթներով |
0..1 |
|
*.4.1. Երկրի ծածկագիրը (csdo:UnifiedCountryCode) |
երկրի ծածկագրային նշագիրը |
M.SDE.00162 |
csdo:UnifiedCountryCodeType (M.SDT.00112) Երկրի երկտառ ծածկագրի արժեքն այն տեղեկագրքին (դասակարգչին) համապատասխան, որի նույնականացուցիչը սահմանված է «Տեղեկագրքի (դասակարգչի) նույնականացուցիչը» ատրիբուտում։ Ձևանմուշը՝ [A-Z]{2} |
1 |
|
ա) տեղեկագրքի (դասակարգչի) նույնականացուցիչը (codeListId ատրիբուտ) |
այն տեղեկագրքի (դասակարգչի) նշագիրը, որին համապատասխան նշված է ծածկագիրը |
- |
csdo:ReferenceDataIdType (M.SDT.00091) Պայմանանշանների նորմալացված տողը: Նվազագույն երկարությունը՝ 1։ Առավելագույն երկարությունը՝ 20 |
1 |
|
*.4.2. Անձը հաստատող փաստաթղթի տեսակի ծածկագիրը (csdo:IdentityDocKindCode) |
անձը հաստատող փաստաթղթի տեսակի ծածկագրային նշագիրը |
M.SDE.00136 |
csdo:IdentityDocKindCodeType (M.SDT.00098) Պայմանանշանների նորմալացված տողը: Նվազագույն երկարությունը՝ 1։ Առավելագույն երկարությունը՝ 20 |
0..1 |
|
ա) տեղեկագրքի (դասակարգչի) նույնականացուցիչը (codeListId ատրիբուտ) |
այն տեղեկագրքի (դասակարգչի) նշագիրը, որին համապատասխան նշված է ծածկագիրը |
- |
csdo:ReferenceDataIdType (M.SDT.00091) Պայմանանշանների նորմալացված տողը: Նվազագույն երկարությունը՝ 1։ Առավելագույն երկարությունը՝ 20 |
0..1 |
|
*.4.3. Փաստաթղթի տեսակի անվանումը (csdo:DocKindName) |
փաստաթղթի տեսակի անվանումը |
M.SDE.00095 |
csdo:Name500Type (M.SDT.00134) Պայմանանշանների նորմալացված տողը։ Նվազագույն երկարությունը՝ 1։ Առավելագույն երկարությունը՝ 500 |
0..1 |
|
*.4.4. Փաստաթղթի սերիան (csdo:DocSeriesId) |
փաստաթղթի սերիայի թվային կամ տառաթվային նշագիրը |
M.SDE.00157 |
csdo:Id20Type (M.SDT.00092) Պայմանանշանների նորմալացված տողը։ Նվազագույն երկարությունը՝ 1։ Առավելագույն երկարությունը՝ 20 |
0..1 |
|
*.4.5. Փաստաթղթի համարը (csdo:DocId) |
փաստաթղթի գրանցման ժամանակ դրան տրված թվային կամ տառաթվային նշագիրը |
M.SDE.00044 |
csdo:Id50Type (M.SDT.00093) Պայմանանշանների նորմալացված տողը։ Նվազագույն երկարությունը՝ 1։ Առավելագույն երկարությունը՝ 50 |
1 |
|
*.4.6. Փաստաթղթի ամսաթիվը (csdo:DocCreationDate) |
փաստաթղթի տրման, ստորագրման, հաստատման կամ գրանցման ամսաթիվը |
M.SDE.00045 |
bdt:DateType (M.BDT.00005) Ամսաթվի նշագիրը՝ ԳՕՍՏ ԻՍՕ 8601-2001-ին համապատասխան |
0..1 |
|
*.4.7. Փաստաթղթի գործողության ժամկետը լրանալու ամսաթիվը (csdo:DocValidityDate) |
այն ժամկետի ավարտի ամսաթիվը, որի ընթացքում փաստաթուղթն ուժի մեջ է |
M.SDE.00052 |
bdt:DateType (M.BDT.00005) Ամսաթվի նշագիրը՝ ԳՕՍՏ ԻՍՕ 8601-2001-ին համապատասխան |
0..1 |
|
*.4.8. Լիազորված մարմնի նույնականացուցիչը (csdo:AuthorityId) |
անդամ պետության պետական իշխանության մարմինը կամ դրա կողմից լիազորված՝ փաստաթուղթը տրամադրած կազմակերպությունը նույնականացնող տողը |
M.SDE.00068 |
csdo:Id20Type (M.SDT.00092) Պայմանանշանների նորմալացված տողը։ Նվազագույն երկարությունը՝ 1։ Առավելագույն երկարությունը՝ 20 |
0..1 |
|
*.4.9. Լիազորված մարմնի անվանումը (csdo:AuthorityName) |
փաստաթուղթը տրամադրած՝ պետական իշխանության մարմնի կամ դրա կողմից լիազորված կազմակերպության լրիվ անվանումը |
M.SDE.00066 |
csdo:Name300Type (M.SDT.00056) Պայմանանշանների նորմալացված տողը։ Նվազագույն երկարությունը՝ 1։ Առավելագույն երկարությունը՝ 300 |
0..1 |
|
*.5. Դերի ծածկագիրը (casdo:RoleCode) |
անձի կողմից կատարվող դերի ծածկագրային նշագիրը |
M.CA.SDE.00315 |
csdo:Code20Type (M.SDT.00160) Պայմանանշանների նորմալացված տողը։ Նվազագույն երկարությունը՝ 1։ Առավելագույն երկարությունը՝ 20 |
1 |
|
3.9. Այլ տեղեկություններ (csdo:AdditionalInfoText) |
լրացուցիչ տեղեկատվությունը |
M.SDE.00046 |
csdo:Text4000Type (M.SDT.00088) Պայմանանշանների տողը: Նվազագույն երկարությունը՝ 1։ Առավելագույն երկարությունը՝ 4000 |
0..* |
25. «Ապրանքների փաստացի արտահանման (մեկնման) մասին տեղեկությունների հարցում» (R.CA.CP.02.005) էլեկտրոնային փաստաթղթի (տեղեկությունների) կառուցվածքի նկարագրությունը բերված է 17-րդ աղյուսակում։
Աղյուսակ 17
«Ապրանքների փաստացի արտահանման (մեկնման ) մասին տեղեկությունների հարցում» (R.CA.CP.02.005) էլեկտրոնային փաստաթղթի (տեղեկությունների) կառուցվածքի նկարագրությունը
|
թիվ ը/կ |
Տարրի նշագիրը |
Նկարագրությունը |
|
1 |
2 |
3 |
|
1 |
Անվանումը |
Ապրանքների փաստացի արտահանման (մեկնման) մասին տեղեկությունների հարցում (R.CA.CP.02.005) |
|
2 |
Նույնականացուցիչը |
R.CA.CP.02.005 |
|
3 |
Տարբերակը |
1.1.1 |
|
4 |
Սահմանումը |
Ապրանքների փաստացի արտահանման (մեկնման) մասին տեղեկությունների հարցում (R.CA.CP.02.005) |
|
5 |
Օգտագործումը |
- |
|
6 |
Անվանումների տարածության նույնականացուցիչը |
urn:EEC:R:CA:CP:02:FactualExportQuery:v1.1.1 |
|
7 |
XML փաստաթղթի արմատական տարրը |
FactualExportQuery |
|
8 |
XML սխեմայի ֆայլի անվանումը |
EEC_R_CA_CP_02_FactualExportQuery_v1.1.1.xsd |
26. Անվանումների ներմուծվող տարածությունները ներկայացված են 18-րդ աղյուսակում:
Աղյուսակ 18
Անվանումների ներմուծվող տարածությունները
|
թիվ ը/կ |
Անվանումների տարածության նույնականացուցիչը |
Նախածանցը |
|
1 |
2 |
3 |
|
1 |
urn:EEC:M:CA:ComplexDataObjects:vX.X.X |
cacdo |
|
2 |
urn:EEC:M:CA:SimpleDataObjects:vX.X.X |
casdo |
|
3 |
urn:EEC:M:ComplexDataObjects:vX.X.X |
ccdo |
|
4 |
urn:EEC:M:SimpleDataObjects:vX.X.X |
csdo |
Անվանումների ներմուծվող տարածություններում «X.X.X» պայմանանշանները համապատասխանում են կառուցվածքների ռեեստրում ներառման ենթակա՝ էլեկտրոնային փաստաթղթի (տեղեկությունների) կառուցվածքի տեխնիկական սխեման սույն նկարագրությանը համապատասխան մշակելիս օգտագործված տվյալների բազիսային մոդելի և առարկայական ոլորտի տվյալների մոդելի տարբերակի համարին:
27. «Ապրանքների փաստացի արտահանման (մեկնման) մասին տեղեկությունների հարցում» (R.CA.CP.02.005) էլեկտրոնային փաստաթղթի (տեղեկությունների) կառուցվածքի վավերապայմանների կազմը բերված է 19-րդ աղյուսակում:
Աղյուսակ 19
«Ապրանքների փաստացի արտահանման (մեկնման) մասին տեղեկությունների հարցում» (R.CA.CP.02.005) էլեկտրոնային փաստաթղթի (տեղեկությունների) կառուցվածքի վավերապայմանների կազմը
|
Վավերապայմանի անվանումը |
Վավերապայմանի նկարագրությունը |
Նույնականացուցիչը |
Տվյալների տեսակը |
Բազմ. |
|
1. Էլեկտրոնային փաստաթղթի (տեղեկությունների) վերնագիրը (ccdo:EDocHeader) |
էլեկտրոնային փաստաթղթի (տեղեկությունների) տեխնոլոգիական վավերապայմանների ամբողջությունը |
M.CDE.90001 |
ccdo:EDocHeaderType (M.CDT.90001) Որոշվում է ներդրված տարրերի արժեքների տիրույթներով |
1 |
|
1.1. Ընդհանուր գործընթացի հաղորդագրության ծածկագիրը (csdo:InfEnvelopeCode) |
ընդհանուր գործընթացի հաղորդագրության ծածկագրային նշագիրը |
M.SDE.90010 |
csdo:InfEnvelopeCodeType (M.SDT.90004) Ծածկագրի արժեքը՝ Տեղեկատվական փոխգործակցության կանոնակարգին համապատասխան: Ձևանմուշը՝ P\.[A-Z]{2}\.[0- 9]{2}\.MSG\.[0-9]{3} |
1 |
|
1.2. Էլեկտրոնային փաստաթղթի (տեղեկությունների) ծածկագիրը (csdo:EDocCode) |
էլեկտրոնային փաստաթղթի (տեղեկությունների) ծածկագրային նշագիրը՝ էլեկտրոնային փաստաթղթերի և տեղեկությունների կառուցվածքների ռեեստրին համապատասխան |
M.SDE.90001 |
csdo:EDocCodeType (M.SDT.90001) Ծածկագրի արժեքը՝ էլեկտրոնային փաստաթղթերի և տեղեկությունների կառուցվածքների ռեեստրին համապատասխան: Ձևանմուշը՝ R(\.[A-Z]{2}\.[A-Z]{2}\.[0- 9]{2})?\[0-9]{3} |
1 |
|
1.3. Էլեկտրոնային փաստաթղթի (տեղեկությունների) նույնականացուցիչը (csdo:EDocId) |
էլեկտրոնային փաստաթուղթը (տեղեկությունները) միանշանակ նույնականացնող պայմանանշանների տողը |
M.SDE.90007 |
csdo:UniversallyUniqueIdType (M.SDT.90003) Նույնականացուցչի արժեքը՝ ISO/IEC 9834-8-ին համապատասխան։ Ձևանմուշը՝ [0-9a-fA-F]{8}-[0-9a-fA- F]{4}-[0-9a-fA-F]{4}-[0-9a-fA-F]{4}- [0-9a-fA-F]{12} |
1 |
|
1.4. Սկզբնական էլեկտրոնային փաստաթղթի (տեղեկությունների) նույնականացուցիչը (csdo:EDocRefId) |
էլեկտրոնային փաստաթղթի (տեղեկությունների) նույնականացուցիչը, որին ի պատասխան ձևավորվել է տվյալ էլեկտրոնային փաստաթուղթը (տեղեկությունները) |
M.SDE.90008 |
csdo:UniversallyUniqueIdType (M.SDT.90003) Նույնականացուցչի արժեքը՝ ISO/IEC 9834-8-ին համապատասխան։ Ձևանմուշը՝ [0-9a-fA-F]{8}-[0-9a-fA- F]{4}-[0-9a-fA-F]{4}-[0-9a-fA-F]{4}- [0-9a-fA-F]{12} |
0..1 |
|
1.5. Էլեկտրոնային փաստաթղթի (տեղեկությունների) ամսաթիվը և ժամը (csdo:EDocDateTime) |
էլեկտրոնային փաստաթղթի (տեղեկությունների) ստեղծման ամսաթիվը և ժամը |
M.SDE.90002 |
bdt:DateTimeType (M.BDT.00006) Ամսաթվի և ժամի նշագիրը՝ ԳՕՍՏ ԻՍՕ 86012001-ին համապատասխան |
1 |
|
1.6. Լեզվի ծածկագիրը (csdo:LanguageCode) |
լեզվի ծածկագրային նշագիրը |
M.SDE.00051 |
csdo:LanguageCodeType (M.SDT.00051) Լեզվի երկտառ ծածկագիրը՝ ISO 639-1-ին համապատասխան: Ձևանմուշը՝ [a-z]{2} |
0..1 |
|
2. Մաքսային մարմինը (ccdo:CustomsOfficeDetails) |
տեղեկությունների հարցում կատարած մաքսային մարմնի մասին տեղեկատվությունը |
M.CDE.00102 |
ccdo:CustomsOfficeDetailsType (M.CDT.00104) Որոշվում է ներդրված տարրերի արժեքների տիրույթներով |
1 |
|
2.1. Մաքսային մարմնի ծածկագիրը (csdo:CustomsOfficeCode) |
մաքսային մարմնի ծածկագրային նշագիրը |
M.SDE.00255 |
csdo:CustomsOfficeCodeType M.SDT.00184 Ծածկագրի արժեքը՝ Եվրասիական տնտեսական միության անդամ պետությունների մաքսային մարմինների դասակարգչին համապատասխան։ Ձևանմուշը՝ [0-9]{2}|[0-9]{5}|[0-9]{8} |
0..1 |
|
2.2. Մաքսային մարմնի անվանումը (csdo:CustomsOfficeName) |
մաքսային մարմնի անվանումը |
M.SDE.00300 |
csdo:Name50Type (M.SDT.00204) Պայմանանշանների նորմալացված տողը: Նվազագույն երկարությունը՝ 1։ Առավելագույն երկարությունը՝ 50 |
0..1 |
|
2.3. Երկրի ծածկագիրը (csdo:UnifiedCountryCode) |
երկրի ծածկագրային նշագիրը |
M.SDE.00162 |
csdo:UnifiedCountryCodeType (M.SDT.00112) Երկրի երկտառ ծածկագրի արժեքն այն տեղեկագրքին (դասակարգչին) համապատասխան, որի նույնականացուցիչը սահմանված է «Տեղեկագրքի (դասակարգչի) նույնականացուցիչը» ատրիբուտում։ Ձևանմուշը՝ [A-Z]{2} |
0..1 |
|
ա) Տեղեկագրքի (դասակարգչի) նույնականացուցիչը (codeListId ատրիբուտ) |
այն տեղեկագրքի (դասակարգչի) նշագիրը, որին համապատասխան նշված է ծածկագիրը |
- |
csdo:ReferenceDataIdType (M.SDT.00091) Պայմանանշանների նորմալացված տողը: Նվազագույն երկարությունը՝ 1։ Առավելագույն երկարությունը՝ 20 |
1 |
|
3. Ժամանակահատվածը (ccdo:PeriodDetails) |
ապրանքների փաստացի արտահանման (մեկնման) ամսաթվերի ենթադրվող տիրույթը |
M.CDE.00044 |
ccdo:PeriodDetailsType (M.CDT.00026) Որոշվում է ներդրված տարրերի արժեքների տիրույթներով |
0..1 |
|
3.1. Մեկնարկի ամսաթիվը և ժամը (csdo:StartDateTime) |
մեկնարկի ամսաթիվը և ժամը |
M.SDE.00133 |
bdt:DateTimeType (M.BDT.00006) Ամսաթվի և ժամի նշագիրը՝ ԳՕՍՏ ԻՍՕ 8601-2001-ին համապատասխան |
0..1 |
|
3.2. Ավարտի ամսաթիվը և ժամը (csdo:EndDateTime) |
ավարտի ամսաթիվը և ժամը |
M.SDE.00134 |
bdt:DateTimeType (M.BDT.00006) Ամսաթվի և ժամի նշագիրը՝ ԳՕՍՏ ԻՍՕ 8601-2001-ին համապատասխան |
0..1 |
|
4. Մաքսային փաստաթղթի գրանցման համարը (cacdo:CustomsDeclarationIdDetails) |
ապրանքների հայտարարագրի գրանցման համարը |
M.CA.CDE.00291 |
cacdo:CustomsDocumentIdDetailsType (M.CA.CDT.00258) Որոշվում է ներդրված տարրերի արժեքների տիրույթներով |
1 |
|
4.1. Մաքսային մարմնի ծածկագիրը (csdo:CustomsOfficeCode) |
մաքսային մարմնի ծածկագրային նշագիրը |
M.SDE.00255 |
csdo:CustomsOfficeCodeType (M.SDT.00184) Ծածկագրի արժեքը՝ Եվրասիական տնտեսական միության անդամ պետությունների մաքսային մարմինների դասակարգչին համապատասխան։ Ձևանմուշը՝[0-9]{2}|[0-9]{5}|[0-9]{8} |
1 |
|
4.2. Փաստաթղթի ամսաթիվը (csdo:DocCreationDate) |
փաստաթղթի գրանցման ամսաթիվը |
M.SDE.00045 |
bdt:DateType (M.BDT.00005) Ամսաթվի նշագիրը՝ ԳՕՍՏ ԻՍՕ 8601-2001-ին համապատասխան |
1 |
|
4.3. Մաքսային փաստաթղթի համարը՝ ըստ գրանցամատյանի (casdo:CustomsDocumentId) |
մաքսային փաստաթղթի համարը՝ ըստ գրանցամատյանի |
M.CA.SDE.00478 |
casdo:CustomsDocumentIdType (M.CA.SDT.00118) Պայմանանշանների նորմալացված տողը: Նվազագույն երկարությունը՝ 5. Առավելագույն երկարությունը՝ 7 |
1 |
|
5. Սահմանին տեղակայված մաքսային մարմինը (cacdo:BorderCustomsOfficeDetails) |
ապրանքների մեկնման ենթադրյալ մաքսային մարմնի մասին տեղեկությունները |
M.CA.CDE.00118 |
ccdo:CustomsOfficeDetailsType (M.CDT.00104) Որոշվում է ներդրված տարրերի արժեքների տիրույթներով |
0..* |
|
5.1. Մաքսային մարմնի ծածկագիրը (csdo:CustomsOfficeCode) |
մաքսային մարմնի ծածկագրային նշագիրը |
M.SDE.00255 |
csdo:CustomsOfficeCodeType M.SDT.00184 Ծածկագրի արժեքը՝ Եվրասիական տնտեսական միության անդամ պետությունների մաքսային մարմինների դասակարգչին համապատասխան։ Ձևանմուշը՝ [0-9]{2}|[0-9]{5}|[0-9]{8} |
0..1 |
|
5.2. Մաքսային մարմնի անվանումը (csdo:CustomsOfficeName) |
մաքսային մարմնի անվանումը |
M.SDE.00300 |
csdo:Name50Type (M.SDT.00204) Պայմանանշանների նորմալացված տողը: Նվազագույն երկարությունը՝ 1։ Առավելագույն երկարությունը՝ 50 |
0..1 |
|
5.3. Երկրի ծածկագիրը (csdo:UnifiedCountryCode) |
երկրի ծածկագրային նշագիրը |
M.SDE.00162 |
csdo:UnifiedCountryCodeType (M.SDT.00112) Երկրի երկտառ ծածկագրի արժեքն այն տեղեկագրքին (դասակարգչին) համապատասխան, որի նույնականացուցիչը սահմանված է «Տեղեկագրքի (դասակարգչի) նույնականացուցիչը» ատրիբուտում։ Ձևանմուշը՝ [A-Z]{2} |
0..1 |
|
ա) Տեղեկագրքի (դասակարգչի) նույնականացուցիչը (codeListId ատրիբուտ) |
այն տեղեկագրքի (դասակարգչի) նշագիրը, որին համապատասխան նշված է ծածկագիրը |
- |
csdo:ReferenceDataIdType (M.SDT.00091) Պայմանանշանների նորմալացված տողը: Նվազագույն երկարությունը՝ 1։ Առավելագույն երկարությունը՝ 20 |
1 |
|
6. Մաքսային մարմնի պաշտոնատար անձը (cacdo:CustomsPersonDetails) |
հարցում ձևավորած մաքսային մարմնի լիազորված պաշտոնատար անձը |
M.CA.CDE.00096 |
cacdo:CustomsPersonDetailsType (M.CA.CDT.00209) Որոշվում է ներդրված տարրերի արժեքների տիրույթներով |
1 |
|
6.1. ԱԱՀ (ccdo:FullNameDetails) |
ազգանուը, անունը, հայրանունը |
M.CDE.00029 |
ccdo:FullNameDetailsType (M.CDT.00016) Որոշվում է ներդրված տարրերի արժեքների տիրույթներով |
0..1 |
|
6.1.1. Անունը (csdo:FirstName) |
ֆիզիկական անձի անունը |
M.SDE.00109 |
csdo:Name120Type (M.SDT.00055) Պայմանանշանների նորմալացված տողը: Նվազագույն երկարությունը՝ 1։ Առավելագույն երկարությունը՝ 120 |
0..1 |
|
6.1.2. Հայրանունը (csdo:MiddleName) |
ֆիզիկական անձի հայրանունը (երկրորդ կամ միջին անունը) |
M.SDE.00111 |
csdo:Name120Type (M.SDT.00055) Պայմանանշանների նորմալացված տողը: Նվազագույն երկարությունը՝ 1։ Առավելագույն երկարությունը՝ 120 |
0..1 |
|
6.1.3. Աազգանունը (csdo:LastName) |
ֆիզիկական անձի ազգանունը |
M.SDE.00110 |
csdo:Name120Type (M.SDT.00055) Պայմանանշանների նորմալացված տողը։ Նվազագույն երկարությունը՝ 1։ Առավելագույն երկարությունը՝ 120 |
0..1 |
|
6.2. Պաշտոնի անվանումը (csdo:PositionName) |
աշխատակցի պաշտոնի անվանումը |
M.SDE.00127 |
csdo:Name120Type (M.SDT.00055) Պայմանանշանների նորմալացված տողը։ Նվազագույն երկարությունը՝ 1։ Առավելագույն երկարությունը՝ 120 |
0..1 |
|
6.3. Մաքսային մարմնի պաշտոնատար անձի ԱՀԿ-ի համարը (casdo:LNPIdentifier) |
մաքսային մարմնի պաշտոնատար անձի ԱՀԿ-ի համարը |
M.CA.SDE.00413 |
casdo:LNPIdType (M.CA.SDT.00090) Պայմանանշանների նորմալացված տողը: Նվազագույն երկարությունը՝ 1։ Առավելագույն երկարությունը՝ 4 |
0..1 |
|
6.4. Մաքսային մարմնի ծածկագիրը (csdo:CustomsOfficeCode) |
ԱՀԿ-ի դրոշմվածքի վրա նշված մաքսային մարմնի ծածկագրային նշագիրը |
M.SDE.00255 |
csdo:CustomsOfficeCodeType M.SDT.00184 Ծածկագրի արժեքը՝ Եվրասիական տնտեսական միության անդամ պետությունների մաքսային մարմինների դասակարգչին համապատասխան։ Ձևանմուշը՝ [0-9]{2}|[0-9]{5}|[0-9]{8} |
0..1 |
|
7. Ամսաթիվը և ժամը (csdo:EventDateTime) |
հարցման ձևավորման ամսաթիվը և ժամանակը |
M.SDE.00132 |
bdt:DateTimeType (M.BDT.00006) Ամսաթվի և ժամի նշագիրը՝ ԳՕՍՏ ԻՍՕ 8601-2001-ին համապատասխան |
1 |
4. Նշված որոշմամբ հաստատված՝ «Եվրասիական տնտեսական միության անդամ պետությունների մաքսային մարմինների միջև տեղեկությունների փոխանակման ապահովում՝ Եվրասիական տնտեսական միության մաքսային տարածքի սահմաններից դուրս ապրանքների փաստացի արտահանման հսկողության և հաստատման գործընթացում» ընդհանուր գործընթացին միանալու կարգը շարադրել հետևյալ խմբագրությամբ.
|
«ՀԱՍՏԱՏՎԱԾ Է Եվրասիական տնտեսական հանձնաժողովի կոլեգիայի 2018 թվականի օգոստոսի 21-ի թիվ 128 որոշմամբ (Եվրասիական տնտեսական հանձնաժողովի կոլեգիայի 20 թ. թիվ որոշման խմբագրությամբ) |
ԿԱՐԳ
«Եվրասիական տնտեսական միության անդամ պետությունների մաքսային մարմինների միջև տեղեկությունների փոխանակման ապահովում՝ Եվրասիական տնտեսական միության մաքսային տարածքի սահմաններից դուրս ապրանքների փաստացի արտահանման հսկողության և հաստատման գործընթացում» ընդհանուր գործընթացին միանալու
I. Ընդհանուր դրույթներ
1. Սույն կարգը մշակվել է Եվրասիական տնտեսական միության (այսուհետ՝ Միություն) իրավունքի մաս կազմող հետևյալ ակտերին համապատասխան՝
«Եվրասիական տնտեսական միության մասին» 2014 թվականի մայիսի 29-ի պայմանագիր.
Եվրասիական տնտեսական հանձնաժողովի կոլեգիայի 2014 թվականի նոյեմբերի 6-ի «Ընդհանուր գործընթացներն արտաքին և փոխադարձ առևտրի ինտեգրված տեղեկատվական համակարգի միջոցներով իրագործելիս տեղեկատվական փոխգործակցությունը կանոնակարգող տեխնոլոգիական փաստաթղթերի մասին» թիվ 200 որոշում.
Եվրասիական տնտեսական հանձնաժողովի կոլեգիայի 2015 թվականի հունվարի 27-ի «Արտաքին և փոխադարձ առևտրի ինտեգրված տեղեկատվական համակարգում տվյալների էլեկտրոնային փոխանակման կանոնները հաստատելու մասին» թիվ 5 որոշում.
Եվրասիական տնտեսական հանձնաժողովի կոլեգիայի 2015 թվականի ապրիլի 14-ի «Եվրասիական տնտեսական միության շրջանակներում ընդհանուր գործընթացների ցանկի ու Եվրասիական տնտեսական հանձնաժողովի կոլեգիայի 2014 թվականի օգոստոսի 19-ի թիվ 132 որոշման մեջ փոփոխություն կատարելու մասին» թիվ 29 որոշում.
Եվրասիական տնտեսական հանձնաժողովի կոլեգիայի 2015 թվականի հունիսի 9-ի «Եվրասիական տնտեսական միության շրջանակներում ընդհանուր գործընթացների վերլուծության, օպտիմալացման, ներդաշնակեցման և նկարագրության մեթոդիկայի մասին» թիվ 63 որոշում.
Եվրասիական տնտեսական հանձնաժողովի կոլեգիայի 2015 թվականի սեպտեմբերի 28-ի «Եվրասիական տնտեսական միության անդամ պետությունների պետական իշխանության մարմինների՝ միմյանց միջև և Եվրասիական տնտեսական հանձնաժողովի հետ անդրսահմանային փոխգործակցության ժամանակ էլեկտրոնային փաստաթղթերի փոխանակման վերաբերյալ հիմնադրույթը հաստատելու մասին» թիվ 125 որոշում.
Եվրասիական տնտեսական հանձնաժողովի կոլեգիայի 2016 թվականի դեկտեմբերի 19-ի «Եվրասիական տնտեսական միության շրջանակներում ընդհանուր գործընթացների իրագործման կարգը հաստատելու մասին» թիվ 169 որոշում.
Եվրասիական տնտեսական հանձնաժողովի կոլեգիայի 2017 թվականի նոյեմբերի 7-ի «Առանց «մաքսային տարանցում» մաքսային ընթացակարգով ձևակերպելու Եվրասիական տնտեսական միության անդամ չհանդիսացող պետությունների տարածքներով և (կամ) ծովով փոխադրվող ապրանքների առանձին կատեգորիաների ժամանման և մեկնման ժամանակ մաքսային գործառնությունների իրականացման որոշ հարցերի մասին» թիվ 134 որոշում (Եվրասիական տնտեսական հանձնաժողովի կոլեգիայի 2019 թվականի հոկտեմբերի 14-ի «Եվրասիական տնտեսական հանձնաժողովի կոլեգիայի որոշ որոշումներում փոփոխություններ կատարելու մասին» թիվ 181 որոշման խմբագրությամբ).
Եվրասիական տնտեսական հանձնաժողովի կոլեգիայի 2018 թվականի փետրվարի 7-ի «Եվրասիական տնտեսական միության մաքսային տարածքից ապրանքների փաստացի արտահանումը Միության անդամ պետությունների մաքսային մարմինների կողմից հաստատելու կարգի մասին» թիվ 25 որոշում (Եվրասիական տնտեսական հանձնաժողովի կոլեգիայի 2019 թվականի հոկտեմբերի 14-ի «Եվրասիական տնտեսական հանձնաժողովի կոլեգիայի որոշ որոշումներում փոփոխություններ կատարելու մասին» թիվ 181 որոշման խմբագրությամբ)։
II. Կիրառության ոլորտը
2. Սույն կարգը սահմանում է «Եվրասիական տնտեսական միության անդամ պետությունների մաքսային մարմինների միջև տեղեկությունների փոխանակման ապահովում՝ Եվրասիական տնտեսական միության մաքսային տարածքի սահմաններից դուրս ապրանքների փաստացի արտահանման հսկողության և հաստատման գործընթացում» (Р.СР.02) ընդհանուր գործընթացին (այսուհետ՝ ընդհանուր գործընթաց) նոր մասնակից միանալու դեպքում տեղեկատվական փոխգործակցությանը ներկայացվող պահանջները:
3. Ընդհանուր գործընթացին նոր մասնակից միանալու դեպքում սույն կարգով սահմանված ընթացակարգերը կատարվում են անմիջապես։
III. Հիմնական հասկացությունները
4. Սույն կարգի նպատակներով օգտագործվում են հասկացություններ, որոնք ունեն հետևյալ իմաստը.
ինտեգրված համակարգի գործունեությունն ապահովելիս կիրառվող փաստաթղթեր՝ տեխնիկական, տեխնոլոգիական, մեթոդական և կազմակերպչական փաստաթղթեր, որոնք մշակվում և հաստատվում են Եվրասիական տնտեսական հանձնաժողովի կողմից «Եվրասիական տնտեսական միության շրջանակներում տեղեկատվական հաղորդակցական տեխնոլոգիաների և տեղեկատվական փոխգործակցության մասին» արձանագրության (2014 թվականի մայիսի 29-ի «Եվրասիական տնտեսական միության մասին» պայմանագրի թիվ 3 հավելված) 30-րդ կետին համապատասխան.
ընդհանուր գործընթացն իրականացնելիս տեղեկատվական փոխգործակցությունը կանոնակարգող տեխնոլոգիական փաստաթղթեր՝ փաստաթղթեր, որոնք ներառված են Եվրասիական տնտեսական հանձնաժողովի կոլեգիայի 2014 թվականի նոյեմբերի 6-ի թիվ 200 որոշման 1-ին կետում նշված՝ տեխնոլոգիական փաստաթղթերի տիպային ցանկում:
Սույն կարգում օգտագործվող մյուս հասկացությունները կիրառվում են Եվրասիական տնտեսական հանձնաժողովի կոլեգիայի 20 թվականի թիվ որոշմամբ հաստատված՝ «Եվրասիական տնտեսական միության անդամ պետությունների մաքսային մարմինների միջև տեղեկությունների փոխանակման ապահովում՝ Եվրասիական տնտեսական միության մաքսային տարածքի սահմաններից դուրս ապրանքների փաստացի արտահանման հսկողության և հաստատման գործընթացում» ընդհանուր գործընթացը Եվրասիական տնտեսական միության ինտեգրված տեղեկատվական համակարգի միջոցներով իրագործելիս Տեղեկատվական փոխգործակցության կանոնների (այսուհետ՝ Տեղեկատվական փոխգործակցության կանոններ) 4-րդ կետում սահմանված իմաստներով:
IV. Փոխգործակցության մասնակիցները
5. Փոխգործակցության մասնակիցների դերերը՝ իրենց կողմից ընդհանուր գործընթացին միանալու ընթացակարգերն իրականացնելիս, բերված են աղյուսակում։
Աղյուսակ
Փոխգործակցության մասնակիցների դերերը
|
թիվ ը/կ |
Դերի անվանումը |
Դերի նկարագրությունը |
Դերը կատարող մասնակիցը |
|
1 |
Ընդհանուր գործընթացին միացող մասնակիցը |
միանում է ընդհանուր գործընթացին, պատասխանատու է ընդհանուր գործընթացի շրջանակներում տեղեկատվական փոխգործակցության ապահովման համար |
Միության անդամ պետության գործադիր իշխանության մարմին, որն ընդհանուր գործընթացի մասնակից է և միանում է ընդհանուր գործընթացին |
|
2 |
Միության նորմատիվ տեղեկատվական տեղեկությունների միասնական համակարգի ադմինիստրատորը |
տրամադրում է Եվրասիական տնտեսական հանձնաժողովի կողմից ընդունվող (հաստատվող) տեղեկագրքերի և դասակարգիչների հասանելիություն՝ ընդհանուր գործընթացին միացող մասնակցի համար |
Եվրասիական տնտեսական հանձնաժողով (P.ACT.001) |
V. Միանալու ընթացակարգի նկարագրությունը
1. Ընդհանուր պահանջները
6. Մինչև ընդհանուր գործընթացին միանալու ընթացակարգն իրականացնելը՝ ընդհանուր գործընթացին միացող մասնակցի կողմից պետք է կատարվեն Միության ինտեգրված տեղեկատվական համակարգի գործունեության ապահովման ժամանակ կիրառվող փաստաթղթերով սահմանված՝ ընդհանուր գործընթացն իրագործելու և տեղեկատվական փոխգործակցությունն ապահովելու համար անհրաժեշտ պահանջները, ինչպես նաև Միության անդամ պետության (այսուհետ՝ անդամ պետության) օրենսդրության պահանջները, որոնցով անդամ պետության ազգային հատվածի շրջանակներում կանոնակարգվում է տեղեկատվական փոխգործակցությունը։
7. Ընդհանուր գործընթացին միանալու ընթացակարգի կատարումն իրականացվում է բոլոր անդամ պետությունների կողմից այն կատարելու պատրաստակամության պայմանով՝ հետևյալ կարգով.
ա) անդամ պետության՝ ընդհանուր գործընթացի շրջանակներում տեղեկատվական փոխգործակցության ապահովման համար պատասխանատու լիազորված մարմնի նշանակում.
բ) ընդհանուր գործընթացի իրագործման կազմակերպչական և տեխնիկական ապահովմանն ուղղված համալիր միջոցների իրագործում, որոնք ներառում են հետևյալ միջոցառումները՝
ինտեգրված համակարգի գործունեության ապահովման ժամանակ կիրառվող (անհրաժեշտության դեպքում) փաստաթղթերի պահանջների իրագործմանն ուղղված՝ անդամ պետության նորմատիվ իրավական ակտերում փոփոխություններ կատարելը.
ընդհանուր գործընթացի իրագործման պահանջները կատարելու նպատակով՝ ընդհանուր գործընթացի իրագործման համար կիրառվող ընդհանուր գործընթացին միացող մասնակցի այն տեղեկատվական համակարգերի (այդ թվում հաշվառման համակարգերի), որոնք սահմանված են Միության շրջանակներում կնքված միջազգային պայմանագրերով և միության անդամների ակտերով, այդ թվում՝ ինտեգրված համակարգի գործունեության ապահովման ժամանակ կիրառվող, ներառյալ՝ ընդհանուր գործընթացն իրագործելիս տեղեկատվական փոխգործակցությունը կանոնակարգող տեխնոլոգիական փաստաթղթերի, ինչպես նաև անդամ պետության ազգային հատվածի շրջանակներում տեղեկատվական փոխգործակցությունը կանոնակարգող անդամ պետության օրենսդրության պահանջների մշակումը (լրամշակումը).
ընդհանուր գործընթացի իրագործման համար օգտագործվող՝ ընդհանուր գործընթացին միացող անդամի տեղեկատվական համակարգերի (այդ թվում՝ հաշվառման համակարգերի) միացումն անդամ պետության ազգային հատվածին (եթե ավելի վաղ այդպիսի միացում չի իրականացվել).
գ) Տեղեկատվական փոխգործակցության կանոններում նշված տեղեկագրքերի և դասակարգիչների տեղեկատվության համաժամանակացում.
դ) ընդհանուր գործընթացին միացող մասնակցի տեղեկատվական համակարգի թեստավորում այն պահանջների իրագործման մասով, որոնք սահմանված են ինտեգրված համակարգի գործունեության ապահովման ժամանակ կիրառվող փաստաթղթերում, այդ թվում՝ տեխնոլոգիական փաստաթղթերում, որոնք կանոնակարգում են ընդհանուր գործընթացի իրագործման ժամանակ տեղեկատվական փոխգործակցությունը:
8. Ընդհանուր գործընթացին միացող մասնակցի կողմից Տեղեկատվական փոխգործակցության կանոնների VII բաժնում նշված տեղեկագրքերի և դասակարգիչների ստացումն իրականացվում է «Մաքսային հայտարարագրերի լրացման ժամանակ օգտագործվող դասակարգիչների ձևավորումը, վարումը և կիրառումը» ընդհանուր գործընթացն իրագործելիս տեղեկատվական փոխգործակցությունը կանոնակարգող տեխնոլոգիական փաստաթղթերին համապատասխան:
9. Սույն կարգի 6-8-րդ կետերին համապատասխան պահանջների պահպանման և գործողությունների հաջող կատարման դեպքում ընդհանուր գործընթացին միացող մասնակիցների միջև տեղեկությունների հետագա փոխանակումը կատարվում է այն տեխնոլոգիական փաստաթղթերին համապատասխան, որոնցով ընդհանուր գործընթացն իրագործելիս կանոնակարգվում է տեղեկատվական փոխգործակցությունը:
(հավելվածը խմբ. ԵՏՀԿ 19.01.21 թիվ 8)
Պաշտոնական հրապարակման օրը՝ 22 հունիսի 2022 թվական: